Требования к водоразборной колонке

Производство уличных колонок основано на государственном стандарте под номером 15150. Основные требования относятся к месту расположения устройства, а также учитывается количество потребителей.
- В месте расположения водопроводного колодца проводят монтаж колонки. Если колодца нет, его рекомендуется соорудить как можно ближе к тротуару. Идеальное место – перекресток.
- Охват потребителей осуществляется из расчета: одна колонка на площадь радиусом 1000 м.
- Оптимально, если уличный водозабор формируется на песчаных грунтах для легкого отведения воды в землю.
- Возвышенное место установки лучше, чем в низине.
- Зимой колонку лучше утеплить, потому что металлический корпус не сможет защитить воду от замерзания.
- Монтаж проводят на водопроводных сетях, в которых давление не падает ниже 1 атм.
Все выполненные требования гарантируют долгосрочную и эффективную работу прибора. При этом обязательно учитывается глубина заложения водопроводных труб. На основе этого параметра выбирают модель устройства.
Виды приборов для перекачки воды
Одной физической силы, применяемой для подъема воды наверх, мало, так как процесс становится тяжелым и трудоемким. Поэтому человечеством давным-давно придумано множество устройств, облегчающих подъем жидкости из колодца или естественного водоема на поверхность. Все приборы объединены общим принципом работы, в основе которого лежит взаимодействие системы клапанов.
Разновидностей ручных насосов очень много, но можно выделить четыре основные типа:
- поршневые;
- штоковые глубинные (разновидности поршневых);
- крыльчатые;
- мембранные.
Для изготовления в домашних условиях обычно выбирают первый вид, если нужно обслуживать колодец небольшой глубины (3-6 м), или второй, если необходимо поднимать воду из скважины с глубины 10-12 м.
Эти модели считаются максимально производительными, простыми в сборке и установке, надежными. Остальные имеют существенные недостатки, самым большим из которых считается недостаточная продуктивность.
Именно поршневые приборы заняли основную нишу среди заводского ручного оборудования, они популярны среди домашних умельцев.
Галерея изображений
Преимущество поршневых насосов-колонок в простоте сборки и установки. Все детали, необходимые для изготовления корпуса и динамических частей, можно найти в хозяйстве или докупить.
А для соединения элементов в единое устройство обычно хватает домашнего инструмента: дрели, циркулярной пилы, ножовки, плоскогубцев, ключей. Если же понадобится сварочный аппарат, то его можно арендовать или взять на время у соседей.
Эксплуатация и обслуживание
Обслуживать колонки надо ежемесячно. Проводят проверку на предмет герметичности эжектора:
- в сливной патрубок, расположенный в верхней части стояка, забивают пробку, изготовленную из дерева;
- нажимают на рычаг;
- вода заполняет собой весь объем корпуса колонки;
- рычаг отпускают, и если вода в течение 10-20 минут не увеличилась в объеме, значит, эжектор плотно прилегает к отверстию в приемнике;
- надо вытащить пробку, нажать снова на рычаг и опустошить корпус колонки полностью.
Если эжектор работает правильно, в водоразборной колонке длиной 175 см вода из корпуса удалиться за 5-6 минут.
Если необходимо провести ремонтные работы, в первую очередь необходимо перекрыть задвижку, отключив от воды сам прибор. Далее снимается колпак с рычагом, затем стояк, после этого можно осматривать и ремонтировать детали эжектора и отстойника. Нередко забивается сетка, которую надо просто заменить новой.
Водяная колонка на даче своими руками: инструкция со схемой
Как говорила героиня известного фильма, кто возьмет билетов пачку, тот получит… А что, почему бы и не водокачку? Как обеспечить участок водой, да так, чтобы и колодец не рыть, и скважину не бурить? Проблема решается легко.
- Сначала водопроводную трубу d 25 мм зажимаем хомутом и притягиваем ее к ваге, имеющей форму полубруса. С одной стороны трубы вворачиваем металлический наконечник, имеющий форму конуса.
- Вдвоем, а далее, если есть возможность, то и вчетвером загоняем при помощи ваги трубу в грунт до упора.
- При помощи муфты наращиваем еще одну трубу и с размахом (опять же при помощи ваги) загоняем трубу в грунт.
- Точно так же наращиваем еще одну трубу и продолжаем загонять в грунт уже весь трубопровод, пока он не достигнет водоносного горизонта.
- За один взмах трубопровод забивается на 40-50 см (если по глине).
- Во время забивания рекомендуется проворачивать трубопровод по часовой стрелке и подливать сверху воду для облегчения забивки.
- Затем надо будет вытащить весь став труб, вывернуть металлический наконечник из первой трубы и вместо него навернуть перфорированный отрезок трубы 1-1,2 м и заново опустить весь трубопровод в уже готовую скважину.
Изготовить и подсоединить к трубопроводу ручной насос (водяную колонку). Его устройство показано на чертеже. Возможно подключение электрического насоса всасывающего действия.
Достоинства такой колонки:Недостатки:
Особенности монтажа
В приемнике сбоку располагается патрубок диаметром 20 мм с внешней трубной резьбой М20. К нему присоединяют трубу того же диаметра, которую отводят от водопроводного контура. Соединение трубы с водопроводом – электросварка. Между колонкой и подающей трубой обязательно устанавливают задвижку. Соединение производится с помощью фланцев или резьбы. Первый вариант проще в плане монтажа и обслуживания. Назначение задвижки – перекрывать подачу воды и регулировать ее напор.
Под колонку внутри колодца обязательно закладывают прочное основание, на которое она будет упираться. Для этого заливают бетонную подушку или укладывают готовую армированную бетонную плиту.
Особенности монтажа
В приемнике сбоку располагается патрубок диаметром 20 мм с внешней трубной резьбой М20. К нему присоединяют трубу того же диаметра, которую отводят от водопроводного контура. Соединение трубы с водопроводом – электросварка.
Между колонкой и подающей трубой обязательно устанавливают задвижку. Соединение производится с помощью фланцев или резьбы. Первый вариант проще в плане монтажа и обслуживания. Назначение задвижки – перекрывать подачу воды и регулировать ее напор.
Под колонку внутри колодца обязательно закладывают прочное основание, на которое она будет упираться. Для этого заливают бетонную подушку или укладывают готовую армированную бетонную плиту.
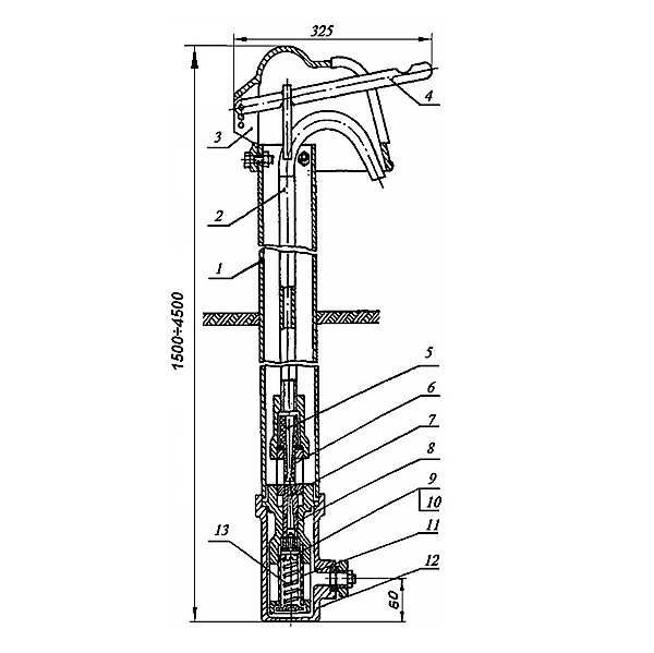
Принцип работы колонки
При нажиме вниз до упора рычаг (4) давит через трубу и наконечник стояка (2) на эжектор с клапаном (9), пружина (13) сжимается и нижняя часть эжектора (7) с отверстиями опускается ниже гнезда. Вода, постоянно находящаяся в приемнике, фильтруется через сетку (11), поступает в эжектор и далее по стояку (2) к потребителю. После окончания водоразбора рычаг под действием пружины поднимается в первоначальное положение, клапан с резиновой прокладкой (10) прижимается к внутреннему торцу эжектора и закрывает доступ воды в эжектор. Вода, оставшаяся в стояке, через окно средней части эжектора (6) сливается в трубу (1), где находится до следующего водоразбора. Нормально работающий эжектор обеспечивает полный отсос воды при последующем водоразборе и гарантирует бесперебойную работу колонки.
Функции водонапорной башни
Ёмкость резервуара башни редко составляет меньше 50 куб. м воды, а это подразумевает коллективное использование, что влечёт за собой неравномерное объёмное потребление. В подавляющем большинстве случаев ВБ устанавливают в районах частного сектора, где развито садоводство и постоянно потребляется вода. В таких случаях башня является частью системы водоснабжения целых районов.
- Выравнивание работы насосной станции. Водоснабжение района осуществляется при помощи насосной станции, которая поднимает воду из скважины. При подключении станции напрямую к трубопроводу неизбежно будут происходить перегрузки в «пиковые», что приведёт к частому выходу из строя оборудования. Резервуар выполняет функцию гидроаккумулятора, который поддерживает давление в системе за счёт гравитации. Благодаря этому насосы работают в стабильном режиме и не перегружаются.
- Выравнивание давления в сети. Эта функция напрямую следует из предыдущей. В данном случае энергия насосов не тратится на поддержание постоянного давления в трубопроводе — это обеспечивает водяной столб.
- Аварийный запас воды. В случае поломки или профилактики работы можно проводить без остановки подачи воды потребителям.
- Водоподготовка. Вода из скважины далеко не всегда соответствует требованиям ГОСТ и СанПиН. Башня и резервуар имеют достаточно свободного места для установки различных систем грубой очистки, доводящих качество воды до приемлемого уровня. Так, например, в «ножке» стальной башни часто устраивают плавающий фильтр, который улавливает оксид железа, образующийся при аэрации воды.

Функциональные задачи водонапорной башни не зависят от её конструкции, высоты, объёма резервуара и местоположения. Все башни выполняют одинаковые задачи, описанные выше.
Сама идея накопления запаса воды вполне применима для индивидуальных водопроводов, особенно там, где она постоянно расходуется — в сельскохозяйственных и животноводческих комплексах. Узлы водонапорной башни можно также интегрировать в жилое здание и экономить электроэнергию для поддержания постоянного давления. Как соорудить водонапорный резервуар, мы расскажем в следующей статье.
Виталий Долбинов, рмнт.ру
Водонапорные башни Рожновского— это специальные сооружения в системе водоснабжения, предназначенные для регулирования напора и расхода воды в водопроводной сети, способствующие созданию её запаса, а также выравнивания графика работы водяных насосных станций.
Основное назначение водонапорных башен — аккумулирование воды для снижения нагрузки на насосную систему водопровода. Наибольшее применение получили водонапорные башни системы Рожновского.
Производство водонапорных башен имеет ряд особенностей. Прежде всего это связано с тем, что водонакопительный бак расположен на определённой высоте и вся конструкция требует обеспечения достаточной жёсткости и надёжности, ведь кроме веса самой конструкции необходимо удерживать и вес воды, находящейся в ней.
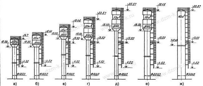
Рисунок. Общий вид водонапорных башен Рожновского

Таблица. Габаритные технические характеристики водонапорных башен Рожновского
Наименование | ВБР-15 | ВБР-25 | ВБР-50 | ВБР-50 | |||
Объём бака, куб.м. | 15 | 25 | 50 | 50 | |||
Высота дна бака, м. | 12 | 12 | 15 | 15 | 18 | 18 | 18 |
Диаметр опоры, м. | 1220 | 2000 | 3020 | ||||
Опора H1=6 м., шт. | 2 | 2 | 2 | 2 | — | — | 12,4 |
Опора H1=6 м., шт. | — | — | 1 | 1 | 2 | 2 | 12,4 |
Рисунок | а | б | в | г | д | е | ж |
Примеры изготовленных и смонтированных работы в нашей фотогалерее .
Лучшие модели
бытового насос BSK
Сегодня такие устройства представлены достаточно широко. Это дает возможность выбирать модель в соответствии с индивидуальными потребностями потребителя.
Среди большого количества производителей есть те, продукция которых пользуется повышенным спросом. Рассмотрим возможности некоторых из таких моделей.
Начнем с бытового насоса BSK. Он предназначен для самых мелких скважин, не глубже 6 м. Однако при установке на всасывающей трубе обратного клапана сможет она может быть увеличена до 9 м.
Корпус прибора – это в своем роде предмет искусства. Он имеет довольно элегантный вид и представлен как чугунное художественное литье. Такой насос не только поможет добывать воду, но и украсит участок.
Крепится агрегат с использованием фланца или непосредственно на трубу. Однако выпускаются модели для монтажа на стене. Труба, по которой подается жидкость имеет высоту около 23 см.
Такой насос для скважины купить можно всего за 4800 рублей.
Но так как гидравлические насосы применяются не только для воды, но и вязких продуктов, то и на рынке они представлены различными моделями. Если вам требуется именно такая, то выбирайте агрегат РНП 1.3/30.
модель РНП 1.3/30
Он может использоваться для перекачивания не только обычной, но и морской воды, а также нефти и других ГСМ. Отличительными особенностями агрегата являются:
- глубина всасывания около 5 м;
- допустимая температура жидкости до 90°С;
- чугунный корпус с выходным отверстием для подключения шланга;
- невозможность работы на холостом ходу.
Однако на такой ручной насос цена составляет 16200 рублей.
Еще одна модель ручного мембранного агрегата – D-40. Его можно использовать даже для перекачивания сточных вод. Специфика конструкции такова, что все движущиеся узлы самоочищаются в процессе эксплуатации. Это сокращает время и расходы на обслуживание. Корпус агрегата выполнен из чугуна. И купить такой насос можно за 6200 рублей.
Правильная эксплуатация – длительный срок службы
Ручные насосы одни из самых простых не только в конструктивном плане, но и в обслуживании. Оно заключается в смазке и очистке отдельных узлов. Причем это необходимо не каждой модели, так как сегодня на рынке есть образцы таких агрегатов, способные очищаться самостоятельно в процессе эксплуатации.
Виды насосов, принцип их работы и устройство
Если зеркало жидкости расположено на небольшой глубине и нет нужды приобретать дорогостоящие электрические аналоги, стоит обратить внимание на механические насосные станции. По принципу своей конструкции помпы для скважины отличаются
По принципу своей конструкции помпы для скважины отличаются.
- Мембранные агрегаты используются для перекачивания не только чистых, но и грязных жидкостей. Заклинивание механизмов не происходит благодаря оснащению самоочищаемого клапана. В конструкции отсутствуют трущиеся детали, которые могли бы быстро изнашиваться. Это хорошо сказывается на продолжительности и производительности работы. Высота всасывания жидкости составляет не более 6 метров.
- Крыльчатые – самовсасывающие конструкции (до 1 метра), которые состоят из нескольких клапанов, корпуса, вала, крыла, всасывающего элемента и рычага. Предназначены для перекачивания жидкости без содержания твердых частиц, пищевых масел, алкоголя и жидкого топлива. На российском рынке стоимость начинается с 4000-5000 рублей.
- Штанговые насосы способны поднимать жидкость с глубины до 30 метров. Имеют аналогичную конструкцию и поршневыми. Единственное отличие – более вытянутая форма поршня. Недостатки агрегата – громоздкость, а также вероятность обрыва штанги.
- Поршневые насосные станции создают давление на выходе. Изготавливают корпуса, как правило, из нержавеющей стали, а другие детали из фторопласта. Качать воду из глубоких скважин они не смогут, но легко заменят поверхностные электрические насосы.
Крыльчатый
Штанговый
Мембранный
Поршневой
Обзор видов
Современные эжекторные водоразборные конструкции выпускают в двух вариантах, которые имеют маркировку КВО или КВ. Оба варианта имеют эжектор, но отличаются они друг от друга не внутренним устройством, а креплением приемника воды к корпусу колонки.
Модели колонок КВО – крепеж приемника воды выполняется с применением фланцев, которые имеют вид квадрата. Один фланец приваривается к корпусу колонки, а другой крепится к приемнику воды.


Помимо уличных колонок эжекторного типа, существуют варианты со шкивом. В качестве примера рассмотрим два их варианта.
Водозаборная колонка с поворотным устройством шкива – такой тип колонок устанавливают на широкое основание-платформу. Патрубки к конструкции используют винтового типа. Рабочее давление в таких устройствах не превышает 2 бар.


Применение уличных колонок можно увидеть и в условиях частных строений, где при добыче воды из скважины встречаются колонки с питьевой водой. Нередко конструкция бывает автоматизирована или выполнена с электроподогревом – таким образом, она становится незамерзающей в зимнее время.

Особенности монтажа
В приемнике сбоку располагается патрубок диаметром 20 мм с внешней трубной резьбой М20. К нему присоединяют трубу того же диаметра, которую отводят от водопроводного контура. Соединение трубы с водопроводом – электросварка.
Между колонкой и подающей трубой обязательно устанавливают задвижку. Соединение производится с помощью фланцев или резьбы. Первый вариант проще в плане монтажа и обслуживания. Назначение задвижки – перекрывать подачу воды и регулировать ее напор.
Под колонку внутри колодца обязательно закладывают прочное основание, на которое она будет упираться. Для этого заливают бетонную подушку или укладывают готовую армированную бетонную плиту.
Особенности монтажа
В приемнике сбоку располагается патрубок диаметром 20 мм с внешней трубной резьбой М20. К нему присоединяют трубу того же диаметра, которую отводят от водопроводного контура. Соединение трубы с водопроводом – электросварка.
Между колонкой и подающей трубой обязательно устанавливают задвижку. Соединение производится с помощью фланцев или резьбы. Первый вариант проще в плане монтажа и обслуживания. Назначение задвижки – перекрывать подачу воды и регулировать ее напор.
Под колонку внутри колодца обязательно закладывают прочное основание, на которое она будет упираться. Для этого заливают бетонную подушку или укладывают готовую армированную бетонную плиту.
Особенности монтажа
В приемнике сбоку располагается патрубок диаметром 20 мм с внешней трубной резьбой М20. К нему присоединяют трубу того же диаметра, которую отводят от водопроводного контура. Соединение трубы с водопроводом – электросварка.
Между колонкой и подающей трубой обязательно устанавливают задвижку. Соединение производится с помощью фланцев или резьбы. Первый вариант проще в плане монтажа и обслуживания. Назначение задвижки – перекрывать подачу воды и регулировать ее напор.
Под колонку внутри колодца обязательно закладывают прочное основание, на которое она будет упираться. Для этого заливают бетонную подушку или укладывают готовую армированную бетонную плиту.
Зимний или летний водопровод
Водопроводом на даче не всегда пользуются круглый год. В некоторых случаях он нужен только от весны до осени, поэтому устраивают упрощенный летний вариант. Тратить деньги на дорогостоящую капитальную систему, когда в доме зимой никто не живет, нет смысла. Летний водопровод обеспечит полив, к нему подключают душ, используют для других хозяйственных целей. Он может быть постоянным или разборным, но в обоих случаях зимой не эксплуатируется.
Шланги применяют силиконовые или резиновые, у которых толстые стенки, армированные капроном. Пластик дешевый, но под солнцем недолговечный. Резина дороже, зато прослужит не менее 15 лет. По окончании сезона шланги отсоединяют, скручивают, выливая остатки воды, и отправляют на зимнее хранение.
Постоянный летний водопровод укладывают в неглубокие траншеи, чтобы не мешали и чтобы у кого-либо не возникало соблазна украсть. На поверхность выводят только водоразборные краны. Трудность сооружения в том, что требуется соблюдать постоянный уклон. Он идет от места подключения к самой низкой точке, где устанавливают сливной кран. Через него перед морозами сливают воду.
Обустройство зимнего водопровода сложнее
Учитывают уклон рельефа, промерзание грунта и другие факторы, которые принимают во внимание при строительстве капитальной системы водоснабжения. В этом отношении дачный вариант не отличается от того, что делается в частных домах с постоянным проживанием
Эксплуатация и обслуживание
Мероприятия по обслуживанию уличной водоразборной колонки рекомендуется выполнять с периодичностью 1 раз в месяц, и делают это с целью проверить эжектор на его герметичность. Производится эта процедура следующим образом:
- из дерева вырезают пробку-заглушку и плотно вкручивают ее в патрубок для слива воды, который расположен в верхнем конце трубы-стояка;
- далее нужно нажать на рычаг колонки – в это время вода заполнит весь корпус конструкции на полный объем;
- затем рычаг надо опустить и наблюдать за движением воды – если ее объем в течение 15-20 минут не увеличивается, это означает, что эжектор находится в исправном состоянии, он имеет плотное прилегание к отверстию приемника воды;
- следующим шагом нужно вынуть деревянную пробку из патрубка, вновь нажать на рычаг колонки и слить воду из ее корпуса – если эжектор работает исправно, то весь объем воды выльется из слива буквально за 5 минут.
В случае, когда испытания эжектора прошли неудовлетворительно, водоразборную колонку нужно ремонтировать. Прежде чем начать ремонтные работы, конструкцию отключают от водопроводной сети с помощью водозапорной задвижки. Затем корпус колонки разбирают, сняв внешний колпак с рычагом, потом демонтируют трубу-стояк и проводят ревизию либо замену эжектора. Параллельно осматривают и состояние отстойника, у которого с течением времени может быть забита сетка песком – в этом случае ее заменяют на новую.
Про незамерзающие водоразборные колонки смотрите далее.
Возможные неисправности водоразборной колонки и способы их устранения
| Вероятная причина | При нажатии на рычаг слабая подача воды или ее полное отсутствие. | Засорение сетки. | Разобрать приемник и очистить сетку. |
| Закрыт вентиль присоединения к магистрали. | Открыть вентиль. | ||
| Течь воды из стояка без нажатия на рычаг. | Поломка пружины. | Заменить пружину. | |
| Заполнение корпуса колонки водой при нормально работающем эжекторе. | Низкое давление воды в сети. | Поднять давление. | |
| Засорился стояк | Прочистить стояк. |
При подготовке колонки к ремонту необходимо: а) перекрыть доступ воды из водопровода; б) снять колпак 3, рычаг 4; в) вывернуть и вынуть стояк 2; г) снять приемник с эжекторным устройством (5,6,7,8,9,10,13), разобрать, произвести необходимый ремонт и очистить фильтрующую сетку 11.
После ремонта собрать колонку и подвергнуть гидравлическому испытанию давлением 1,0±1,2 МПа. При сборке под резьбу использовать паклю, пропитанную железным суриком ГОСТ 8135-74.
ООО”Тех-Групп” продажа противопожарного оборудования (огнетушители, рукава, пожарный инвентарь, гидранты, противогаз, клапан пожарный, ЗПУ, кронштейн для огнетушителя) возможность поставки в города: Ярославль, Москва, Новгород, Красноярск, Самара, Воронеж, Саратов, Тула, Уфа, Тюмень, Рыбинск, Вологда, Кострома, Иваново, Тверь, Челябинск, Курган, Кемерово, Краснодар, Южно-Сахалинск, Новосибирск, Орел, Удмуртия, Калуга Рязань, Брянск, Муром, Тамбов, Ульяновск, Оренбург, Пермь, Санкт-Петербург, Екатеринбург, Чебоксары, Владимир, Тутаев, Ковров, Иркутск, Владивосток, Казань, Киров, Ижевск, Мурманск, Липецк, Белгород, Курск, Ливны, Елец, Тольятти, Волгодонск, Новоросийск, области, района, купить, куплю, цена, продать, продаю, аренда, Лабытнанги, Ухта, Карелия, Республика, Ростов, Ханты-мансийск, Петрозаводск, Сыктывкар, Абакан, Псков
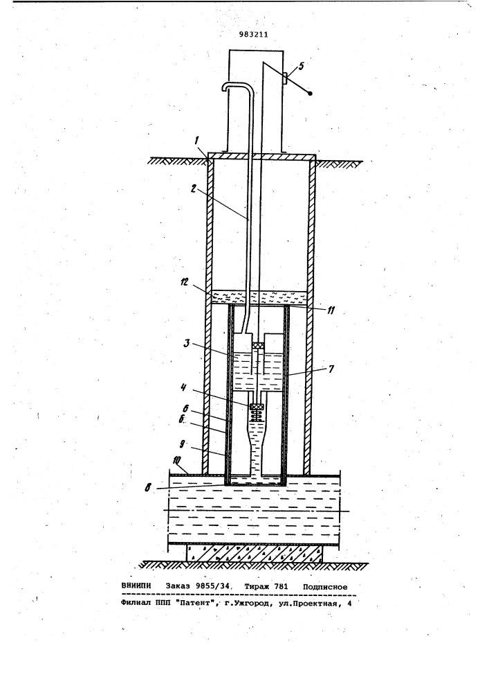
Водозаборные уличные колонки до недавнего времени были неотъемлемой частью структуры небольших городов и поселков. Основное их назначение – подача воды, которую использовали для бытовых нужд. Устанавливали эти приспособления на улицах на водопроводных сетях. Для монтажа устройства обязательно формировали колодец, в котором располагалась основная часть прибора.
Требования к водоразборной колонке
Производство уличных колонок основано на государственном стандарте под номером 15150. Основные требования относятся к месту расположения устройства, а также учитывается количество потребителей.
- В месте расположения водопроводного колодца проводят монтаж колонки. Если колодца нет, его рекомендуется соорудить как можно ближе к тротуару. Идеальное место – перекресток.
- Охват потребителей осуществляется из расчета: одна колонка на площадь радиусом 1000 м.
- Оптимально, если уличный водозабор формируется на песчаных грунтах для легкого отведения воды в землю.
- Возвышенное место установки лучше, чем в низине.
- Зимой колонку лучше утеплить, потому что металлический корпус не сможет защитить воду от замерзания.
- Монтаж проводят на водопроводных сетях, в которых давление не падает ниже 1 атм.
Все выполненные требования гарантируют долгосрочную и эффективную работу прибора. При этом обязательно учитывается глубина заложения водопроводных труб. На основе этого параметра выбирают модель устройства.
Советы и рекомендации специалистов
Планируя сделать в своем дворе скважину для воды или колодец, нужно предварительно составить план действий и организовать работы строго по нему.
Опытные специалисты советуют даже тем, кто досконально изучил технологию, помнить и ряд самых простых правил:
Забивка осуществляется не на один год, поэтому на материалах не стоит экономить;
Тем, кто не уверен в себе, стоит заручиться поддержкой специалистов или просто попросить у них консультацию;
Колодцы, трубы и колонки нуждаются в периодической чистке;
Систему (пусть даже недоделанную) очень важно правильно законсервировать на холодное время года.
Решение самому пробить скважину вполне оправдано с экономической точки зрения. Не стоит бояться работ, ведь они не предполагают никаких подводных камней. Пробивка осуществляется с помощью бура, который просто вкручивается в землю до нахождения водоносного слоя. После того как таковой обнаружен, можно смело устанавливать трубы и систему выкачки воды.
Для сокращения потерь
Как пояснили в «Краснодар водоканале», первую автоматизированную водоразборную колонку установили, чтобы бороться с неучтенным потреблением воды. Оборудование, оснащенное подогревом и доступом по электронному ключу, призвано сократить потери.
«Старые водоразборные колонки на нашем балансе постоянно нуждались в ремонте, что приводило к увеличению расходов воды, и, соответственно, дополнительным финансовым издержкам предприятия, – рассказывает заместитель главного инженера ООО «Краснодар Водоканал» Станислав Гераськов. – Теперь у нас есть точный учет таких расходов, что, я уверен, приведет к значительному сокращению потерь».
По его словам, уличные колонки были предназначены для обеспечения водой тех абонентов, у кого отсутствует водопровод. Однако их общедоступность позволяла потреблять воду абсолютно всем, без контроля.
«Новый тип оборудования позволит получать услугу абонентам «Краснодар Водоканал» по картам личного доступа с установленным лимитом потребления воды равным нормативу на одного человека (1,96м3) ежемесячно, с последующей оплатой счета-квитанции, – уточнили в компании. – Карты доступа будут «привязаны» к «Личному кабинету» абонента на официальном сайте предприятия. Жители смогут получить их в центрах обслуживания».
«Насколько я знакома с ситуацией, многие жители улицы Бородинской в поселке Пашковском согласны с нововведением, – комментирует коммерческий директор Кубанского ИКЦ Экология, эколог Анастасия Михалева. – Ведь сейчас забор воды происходит неконтролируемым образом. Берут ее в колонке не только те, кто живет там постоянно, но и приезжие люди, вплоть до коммерсантов.
Но есть и вопросы к «Водоканалу». Если компания собирается брать деньги за воду, значит, та должна быть качественной. А качество воды зависит и от того, на какую глубину была пробурена скважина, и от какого водоносного горизонта питается. В радиусе 30 метров от скважины должна сохранятся санитарная зона. Если жители города будут платить за воду в колонках, она должна соответствовать СанПинам».
Подобные сооружения заменят постепенно все старые уличные колонки Краснодара. Фото: АиФ-Юг/ Елена Иванова




































