Организация строительного процесса
Чтобы получить теплый сарай для коров, необходимо придерживаться определенного алгоритма действий. Каждый этап требует ответственного подхода и использования качественных материалов.
Фундамент
Независимо от того, какое количество крупного рогатого скота планируется содержать, в сарае нужно обязательно сделать надежное и долговечное основание. Для помещения небольших размеров, сооруженного из дерева, вполне хватит столбчатого фундамента. Если же хлев рассчитан на многочисленное хозяйство, то потребуется монолитное либо ленточное основание.

Здесь главное, чтобы фундамент находился на глубине промерзания грунта – от 50 до 100 см и более. Все будет зависеть от особенностей климатической зоны. Верхний слой земли при возведении фундамента следует снять и вывезти.
Пол в коровнике, и бетонный, и деревянный, должен быть под уклоном в 5 градусов по направлению к ближайшему стоку. Благодаря этому приему моча и навоз будут поступать в сборные контейнеры. Для обеспечения такого наклона уровень пола должен быть на 10 см выше от уровня земли.
Если пол будет изготовлен из бетона, срок службы которого минимум 10 лет, то для утепления его поверхности используют древесину. Но из-за того, что этот материал впитывает аммиак, его замена должна производиться минимум 1 раз в 5 лет. При планировании сточных канав придерживаются ширины в 30 см и глубины в 15 см. Такие параметры дают возможность свободно работать совковой лопатой при уборке отходов жизнедеятельности скота.

Стены
Повышенной прочностью выделяются стены из камня, но у них есть один серьезный недостаток – низкая способность удерживать тепло. Оптимальный вариант – применение кирпича и пеноблоков. Но к ним нужна дополнительная теплоизоляция для поддержания нормального микроклимата внутри помещения.
Инструкция по применению доильного аппарата Буренка, где купить и стоимостьЧитать
В климатической зоне, где суровые зимы, коровник стоит делать из более теплых материалов – кирпича-самана/ракушняка. Это и недорого, и степень теплопроводности у них низкая. Что касается толщины стен, то в большинстве случаев – полтора кирпича. При использовании пеноблоков достаточно укладывать их в один ряд. Высота помещения должна быть 2,5 м.
Крыша
Согласно рекомендациям опытных фермеров, для возведения кровли лучше всего выбирать листы шифера. Этот строительный материал относится к категории бюджетных и практичных покрытий. Процесс монтажа крыши относительно простой, необходимо:
Сделать каркас из строганых досок, которые предварительно обработать антисептическими составами.

Поверх деревянной конструкции уложить теплоизоляцию.

Зафиксировать листы шифера при помощи крепежных элементов.

Крыша может быть, как односкатной, так и двускатной. Второй вариант более предпочтительный, есть и место под сено, и помещение получается более теплым.
Окна и двери
В сарае главным источником естественного освещения являются окна. По всем нормативам, их площадь суммарно должна быть не менее 10 % от всей площади полового основания здания. Как правило, нижняя часть оконного проема находится над полом на высоте 1,5-1,6 м.
Существуют следующие разновидности окон для сарая:
- распашного типа со стеклопакетом;
- распашные, оснащенные поликарбонатной вставкой;
- раздвижные с листами прозрачного поликарбоната.
Двери в хлеву лучше делать распашного плана, которые для сохранения тепла внутри помещения нужно дополнительно утеплять. Ворота для удобства стоит делать подъемными.

Как построить коровник
Строя коровник своими руками, сначала нужно провести подготовку к строительству:
- Сначала надо найти место для постройки. Тут нужно учесть несколько вещей. Существуют требования, которые предусматривают, что минимальное расстояние от коровника до домашнего жилья не может быть меньше 15 м. Аналогичное ограничение существует по отношению к источникам питьевой воды. В данном случае минимальное расстояние составляет 20 м. Кроме того, желательно, чтобы в непосредственной близости находилось место для выпаса.
- Будет неплохо, если пастбище заранее засеять кормовыми травами, которыми скот будет питаться впоследствии.
- Необходимо заранее составить план устройства коровника. При этом нужно учесть, что его величина зависит от количества коров, которые там будут содержаться.
- Также нужно продумать, какие именно хозяйственные помещения будут здесь расположены.
Обычно вдоль здания располагается проход. Его ширина в большинстве случаев не превышает полутора метров. Направо и налево от него стоит стойловое оборудование.
От него к стенам расположены места для скота. Коровы располагаются мордой к проходу и задом к стене, однако привязные животные фактически имеют возможность стайкой свободно перемещаться. На потолке должны быть предусмотрены светильники.
Стойло для коровы в центре имеет кормушку и поилку. Ближе к стенам находится бетонный пол в коровнике, который построен с уклоном к краю. В этом месте нечистоты сливаются в специальную канаву.
Важно! На бетонном полу животным холодно, поэтому для коров помещают деревянные поддоны. В некоторых случаях в помещении оборудуют щелевой пол
При определении наличия служебных помещений можно исходить из стандартного варианта. Обычно сарай для коров предусматривает наличие:
- места, где предполагается хранить надоенное молоко;
- отдельно должен быть оборудован родильный зал;
- обязательно потребуется помещение в качестве изолятора;
- необходим хозблок;
- возможно, потребуются другие помещения.
Изолятор важен в тех случаях, когда в стаде обнаружены больные животные. Прежде всего, необходимо их отделить от остального крупного рогатого скота. При этом их помещают в изолятор. Такой набор дополнительных помещений используется в тех случаях, когда коровник рассчитан на содержание 20 или большего количества животных.
Распространённая конструкция – использование деревянного бруса и крыши на деревянной основе с шиферным покрытием. Однако такой материал характеризуется большей пожароопасностью, по сравнению с другими вариантами.
Согласно существующим нормативам, площадь окон в коровнике должна составлять 10% от площади пола здания. При выборе предпочтительной конструкции для окон владелец может поступать, исходя из собственных вкусов. Однако он должен обеспечить возможность открывать окна и проветривать хлев.
Должна быть установлена принудительная вентиляция в коровнике. Её работа – это одно из важных условий для содержания коров. Одним из удобных решений будет установка вентиляционных штор.
Кроме перечисленного, необходимо предусмотреть наличие освещения. Для этого к коровнику должны быть подведены соответствующие коммуникации и предусмотрены осветительные панели.
Строительные материалы для коровника
Для строительства коровника подходят разные виды материалов. Опытные хозяйственники применяют:
- Саман.
- Шлакоблоки.
- Ракушечник.
- Обычный кирпич.
Саман несложно изготовить собственноручно в бытовых условиях. Для его изготовления понадобится: глина, солома, песок.
Рассмотрим основные преимущества кирпича:
- Высокая прочность.
- Устойчивость к низким температурам.
- Огнеупорность.
- Высокая продолжительность эксплуатационного периода.
Все поголовье скота на ферме должно сохранять вес. Коровы резко начинают худеть при содержании их в промерзлых помещениях.
Шлакоблочный кирпич замечательно подходит для строительства. При помощи цемента соединяются разные виды наполнителей. Искусственные камни для стен не крошатся и не дают усадку. Шлакоблоки для фундамента отличаются долговечностью эксплуатации. Такой материал один из самых доступных по стоимости.
Ракушечник можно приобрести по умеренной цене. Материал обладает такими преимуществами:
- Визуально привлекательная структура.
- Сравнительно малый вес.
- Легкость в применении.
При закладке фундамента под коровник нужно рассчитывать, чтобы его основание выдерживало большие нагрузки. Конструкция должна быть максимально прочной. Чтобы под воздействием больших нагрузок на фундамент по стенам и крыше не пошли трещины, для закладки нужно применять качественный кирпич или бут.
Сперва делается опалубка, чтобы применяемые строительные материалы можно было залить цементным раствором. Если земля, на которой роется траншея под фундамент, слишком твердая, нужно углубляться на 50 сантиметров. Обязательно необходима гидроизоляция.
Стены
Внутри коровника стены должны быть сухими и теплыми. Если помещение строится из самана, вся работа обойдется недорого, в таком коровнике спокойно переживут зиму 200 особей. По нижнему периметру стены делается облицовка из простого кирпича. При проектировании коровника у себя на участке нужно учесть много разных факторов, воздействующих на состояние здания и изменяющих условия проживания скотины. Положенная кладка в полтора кирпича обеспечивает сохранение тепла в коровнике.
Возведение коровника
Изнутри стены штукатурятся и белятся. При попадании солнечных лучей на побелку в хлеву становится светлее. При постройке стен возможно применение нескольких материалов одновременно. Чтобы обеспечить максимальное удержание тепла, используются пористы стройматериалы.
Напольное покрытие
Для коровника с поголовьем 100-120 особей требуется водонепроницаемое напольное покрытие. Пол должен быть ровным, чтобы было удобно убирать навоз. Пол в коровнике требует качественного утепления, чтобы в холодное время животные не болели. Для подобных целей лучше всего подходит древесина. Недостатком такого материала является сравнительно невысокая продолжительность эксплуатационного периода. Деревянный пол прослужит около 4 лет. Материал со временем загнивает, поэтому покрытие приходится перестилать.
Полы в коровнике зачастую делаются из бетона или цемента. Чтобы скотина не мерзла зимой, потребуется сухая подстилка из опилок или соломы, которая регулярно меняется на сухую. Применение обожженного кирпича для оборудования напольного покрытия в коровнике тоже часто практикуется.
Сток в коровнике
Для коровника с количеством 150-200 голов необходимо обустраивать сток, чтобы не было скопления навоза в помещении. Настил пола производится с уклоном, а в конце делается канавка, в которую будут сливаться моча и фекалии в специальную трубу и выводиться за пределы коровника. Если не убирать навоз своевременно, в коровнике могут завестись вредоносные микроорганизмы.
Кровля
Малобюджетные шифер и черепица могут быть использованы для кровельных работ. Крыша обязательно утепляется, чердачное помещение можно использовать для сушки и хранения сена. Если в коровнике находится около 200 животных, необходимо его регулярное проветривать. Подъемный козырек крыши прекрасно справляется с этой задачей.
Обустройство стойл в хлеву
Многие неопытные животноводы интересуются: как спят коровы – стоя или лежа? Чтобы можно было отдохнуть, животные ложатся. Места для кормления должны быть комфортными.
Размеры стойл в коровнике
Каждой корове выделяется стойло с большой кормушкой, чтобы туда помещалось достаточное количество еды. Стандартные ее размеры такие кормушек:
- Высота – 65-70 см.
- Ширина – 85 см.
- Длина – 1,0-1,3 м.
Для ее изготовления можно использовать доски и кирпичи. Животное привязывается к стойлу мягкой прочной веревкой до 1,5 м в длину. Правильно обустроенное стойло обеспечивает животному удобное проживание.
Изготовление конструкций
Как правило, конструкции ферм, изготавливаемых из металла, подбираются в зависимости от проектируемого угла наклона их верхнего пояса, ширины перекрываемого пролета и назначения
Если принимать во внимание перекрытия промышленных зданий, мостовых и эстакадных пролетов, где они чаще всего используются, то для этого изготавливаются фермы строительные со стандартной длиной 12, 18, и 24 м/п
Общие требования
Для более тяжелых и ответственных конструкций (мостов и путепроводов) применяются двутавровые балки и швеллера. Все гидротехнические сооружения собираются из элементов круглого сечения или профильных труб.
Чаще всего для сборки стандартных строительных ферм используется усиленный прокатный уголок. При этом для изготовления всех ее элементов применяется спаренный уголок, заготовки которого соединяются между собой с помощью сварки специальными, вставленными между ними металлическими пластинами (рыбками). Уголки спариваются таким образом, чтобы их поперечное сечение напоминало тавровое сечение.
Правда, в последнее время металлические конструкции этой конфигурации стали пользоваться меньшим спросом из-за трудоемкости сборки, сварки и покраски. Альтернативой таким сооружениям все больше становятся стальные профильные или круглые трубы.
Правильный расчет
Необходимо понимать, что сделать качественный расчет несущего устройства можно только при наличии специальных знаний с учетом требований СНиП и многих других многочисленных факторов. Для того чтобы грамотно сделать расчет, проектировщики используют специальные программы.
Рассчитывая проект инженерного устройства, обязательно все полученные значения должны наноситься в проектный чертеж, без которого сборка конструкции будет практически невозможной.
Изначально перед составлением чертежного проекта подготавливается схема фермы с указанием основной зависимости уклона верхнего пояса и общей длиной будущего изделия
Также следует принимать во внимание и такие факторы, как:
- Контур опорной поверхности для монтажа будущей кровли или перекрытия. Это поможет высчитать угол наклона верхнего пояса несущего устройства.
- Экономия материала на изготовление конструкции (если требование заказчика не будет противоположным к этой экономии).
- Правильный расчет с учетом максимальной нагрузки, которая предполагается для этого изделия. При этом следует помнить, что углы раскосов в одной конструкции могут быть разными, но ширина панелей всегда должна оставаться одинаковой для всех.
- Расстояние между крепежными узлами рассчитывается в последнюю очередь, но обычно оно выбирается по ширине панели.
Как только основные параметры будут рассчитаны, следует определиться со схемой конструкции. Лучше всего для этого воспользоваться специальными программами, которые можно свободно найти в интернете. Например, можно воспользоваться программой «Расчет ферм».
Конструктивные требования
При решении вопроса, как сделать хлев или ферму для коров, следует учитывать ряд практических рекомендаций:
- Фундамент сооружения. Он должен обладать достаточной прочностью и иметь соответствующую гидроизоляцию. Наиболее часто применяется ленточная разновидность с заливкой бетонным раствором в опалубку с армированием. Можно сделать основание из бутового камня или кирпичной кладки.
- Стены. Они должны сохранять в помещении тепло и сухость. Свой сарай на 1–2 коровы часто изготавливают из саманного кирпича. Основные его достоинства: дешевизна и хорошие теплоизоляционные свойства. Цокольные ряды выкладываются из обожженного кирпича. Мини-фермы с расширенным хозяйством изготавливаются из кирпича (толщина — 1,5 кирпича) или шлакоблоков. Внутренняя отделка стен подразумевает штукатурку и побелку. Последний вариант наиболее типичен для коровника, т. к. позволяет помещению выглядеть опрятно и обеспечивает хорошее отражение света. Крупное хозяйство можно соорудить из железобетонных панелей.
- Полы в коровнике. Их необходимо делать водонепроницаемыми для исключения накопления внутри жидких отходов, способных источать опасный газ. Пол в коровнике не может быть холодным, чтобы устранить риск мастита у животных. Требованиям по водостойкости удовлетворяет бетонное покрытие, но его необходимо застилать теплым материалом: подстилки или деревянный настил. Для обеспечения самотека сточных вод полы делаются с уклоном в сторону сливного отверстия (желоба).
- Крыша и потолочное перекрытие. Наиболее распространенный вариант — деревянное перекрытие и двускатная крыша, покрытая шифером или черепицей. Желательным элементом в сарае является чердак. На нем можно хранить запасы сена, фуража, инвентарь.
- Окна. Минимальная высота для размещения окон составляет 1,5–1,6 м. Следует обеспечивать их расположение на южной стене, крайний вариант — восточное направление. Желательно предусматривать возможность открывания окон для проветривания.
- Сток. Напольный сток в коровнике является обязательным элементом. Чаще всего он выполняется в виде бетонного желоба размером 30х10 см. Отвод отходов должен обеспечиваться за границы сооружения, с последующей их утилизацией. Сток представляет собой смесь навоза, мочи и других веществ, а потому сбрасывать его прямо в почву недопустимо. Для накопления отходов ферма для коров обязательно содержит герметичные септики (жижесборники).
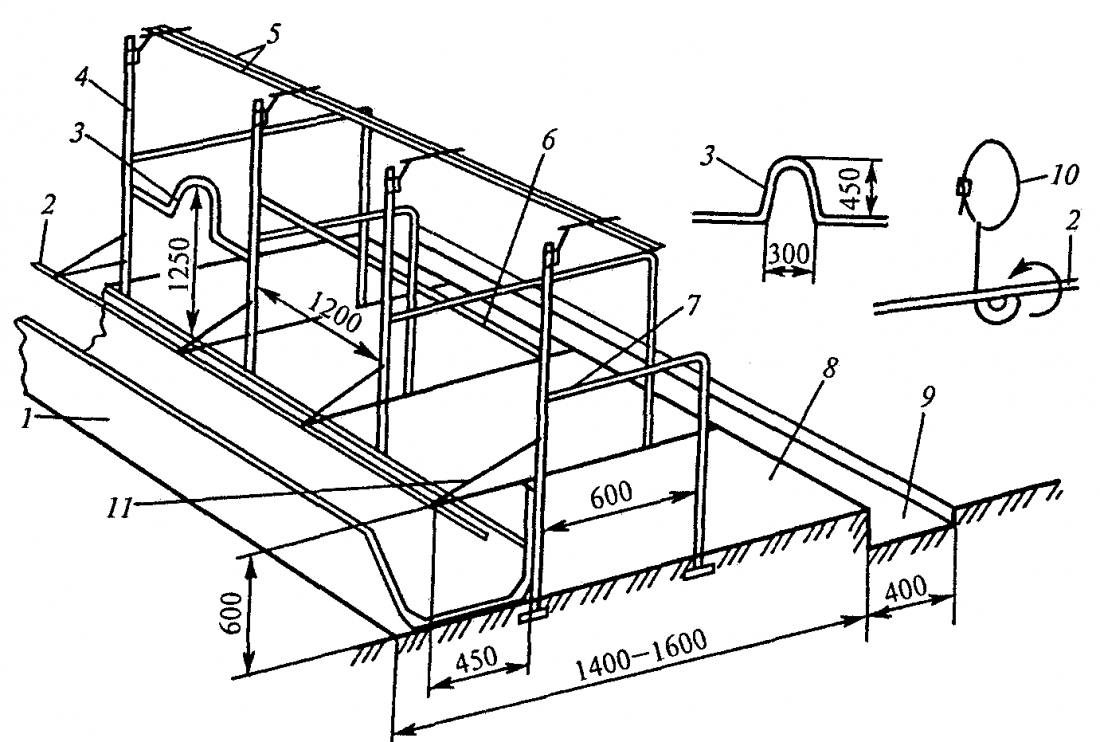
- Вентиляция. Приток свежего и вывод загрязненного воздуха обеспечивается принудительной вентиляцией. Небольшой сарай для коровы может оборудоваться только отдушинами для естественной вентиляции, но с возможностью периодического проветривания помещения. Миниферма оборудуется вытяжкой с заслонками и распределительными вентиляционными коробами (размером не менее 15х15 см). Вывод осуществляется через трубу, которая должна располагаться выше конька крыши.
Устройство коровника должно обеспечивать уход за животными и доение, а также получение приплода. Для эффективной организации мини-фермы необходимо формирование нескольких обязательных секций. Так, строительство коровников на 10 и более животных предусматривает обустройство таких подразделений: стойло для каждой коровы; кормовой отсек (кухня); помещение для сбора навоза при планировании его использования; площадка для выгула животных; родильное отделение и отсеки для телят; мини-котельная; склад для инвентаря; помещение для хранения кормов; блок для хранения молока.
Навозохранилище
Навозохранилище – одна из ключевых построек при содержании крупного рогатого скота. Эта постройка помогает сохранять навоз и превращать его в перегной.
Самой эффективной системой для удаления навоза является использование штангово-скребкового механизма, который может работать как в продольном, так и поперечном направлении. Основным конструктивным элементом данного механизма является штанга со скребками, которые крепятся на нее и имеют плавающий ход. Скребки производятся из чугунной стали. Штанга очень практична в эксплуатации и долговечна в эксплуатации, а также не требует частых ремонтов. Устройство системы навозоудаления эффективно благодаря тому, что каждая линия имеет индивидуальный механический энергосберегающий привод и позволяет запускать конкретную линию по мере необходимости. Удаление навоза из коровника может осуществляться в конец или середину двора.
Транспортировка навоза из центрального канала производится при помощи шнекового транспортера в навозосборник, который может вместить трехдневный объем навоза.
При строительстве навозохранилища нужно учитывать, что за один год корова может произвести около 12 тонн навоза. На количество навоза влияет рацион кормов, объем и вид подстилки (рисунок 9).
Для скотного двора удовлетворительным будет навозохранилище при размерах 2,5*2,5 м, которое нужно построить рядом с коровником, стены которого необходимо обложить камнем. Котлован под навозохранилище вырывают на глубине около полуметра. При наличии высокого уровня грунтовых вод навозохранилище строят непосредственно на поверхности земли. В местности с песчаным грунтом на дно котлована нужно выложить около 30-сантиметровый слой глины. Периметр котлована устраивают камнем, выложенным на цементном растворе. Дно навозохранилища нужно делать с уклоном в направлении жижесборника для стекания собирающейся жижи. Сверху делают навес. Навоз укладывают очень плотно на высоту до 2 м, после чего покрывают его слоями мелкой соломы или торфа с толщиной 15 см, также необходимо регулярно поливать водой или жижей.
Рядом с навозохранилищем нужно устроить жижесборный колодец, обмазав его дно и стены глиной. Чтобы моча стекала в колодец, он должен находится непосредственно возле стены здания ниже уровня промерзания грунта в данной местности. Также такую трубу выводят в жижесборный колодец и навозохранилище. Верх колодца накрывают деревянным или металлическим щитом.
Для отвода поверхностных вод по всему периметру навозохранилища и жижесборного колодца роют канавки, которые предназначены для стекания жидкостей в собирательный колодец.
Навозохранилище закрытого типа
Конструкция навозохранилища определяется климатическими условиями региона. В местностях с большим количеством осадков рациональнее строить навозохранилище закрытого типа. Это большие баки или бочки, в которые навоз поступает по желобам или трубам.
Закрытый тип навозохранилища обладает одним существенным преимуществом: навозная жижи быстрее перегнивает без потери азота, а образовавшийся перегной используется для удобрения растений.
Навозохранилище открытого типа
Открытое навозохранилище в приусадебном хозяйстве обустроить проще. Для этого достаточно выкопать котлован, забетонировать его или покрыть стены и дно пленкой. Это предотвратит проникновение навоза в глубоко в почву и грунтовые воды.
Помещать навозную жижу в отрытое хранилище можно просто лопатой (в небольших хозяйствах) или по трубам, если на ферме содержится большое поголовье крупного рогатого скота. Чтобы навоз быстрее превратился в перегной, рекомендуют периодически его перемешивать, чтобы верхние слои оказались внизу.
Из видео вы узнаете всю необходимую информацию о строительстве коровника с нуля.
Как построить коровник на 20 голов своими руками
После тщательных расчетов, грамотного планирования, подготовки сметы можно приступать к строительству. Придерживаясь всех необходимых норм и правил, обладая необходимыми навыками в строительстве, вполне реально построить коровник самостоятельно.
Фундамент
Самым выгодным с экономической точки зрения, а также функциональным, будет фундамент из бетона. Он позволит в будущем возвести деревянные стены или из пенобетона. Поскольку фундамент является основанием помещения, он должен быть максимально надежным и иметь продолжительный срок службы. Если проект содержания КРС долгосрочный, то не рекомендовано делать основание для помещения деревянным или столбчатым.

Пол и сточная канава
Полы должны быть сплошными или решетчатыми, с небольшим наклоном. Основные требования к материалу пола: хорошая теплопроводность, устойчивость к воздействию моющих химических средств. Лучшими считаются полы с настилом из резинокордных плит, а также керамзитобитумные и грунтоцементные.
Полы в хлеву должны быть мягкими:

Должна быть предусмотрена мягкая подстилка, поскольку твердые полы отрицательно отражаются на здоровье коров. Помимо этого, они должны иметь уклон для стекания жидкости в навозные каналы.
Стены
Хорошо показали себя с точки зрения теплопроводности деревянные материалы. Однако они имеют минус – недолговечность. Часто возводят кирпичные коровники, которые также выгодны по ряду параметров. Но в условиях сурового климата в ряде регионов приходится делать двухслойную конструкцию, а между слоев прокладывать утеплитель. Последнее время популярность приобрели пеноблоки, сэндвич-панели и саман. Эти материалы легки в сборке, прочные и недорогие. Плюсом является их способность поддерживать температурный уровень в помещении.
Саман – строительный материал, кирпич из смеси глины, соломы и некоторого количества воды. Сегодня состав самана может включать песок, цемент, щебень или известь. Иногда добавляют сложные синтетические компоненты, исходя из назначения помещения.

Крыша
Часто применяют односкатную или двухскатную крышу. В качестве укрывного материала используют профнастил, рубероид, шифер. Больше предпочтителен профнастил, поскольку крыша делается под наклоном, что не позволяет снегу накапливаться. Желательно сделать чердак – это место для хранения сена и дополнительное утепление.
Окна и двери
Для коровника на 20 голов подойдут двери и окна из качественного, но недорогого материала
Важно, чтобы они легко подвергались очищению и обеззараживанию. Они могут быть установлены в любом удобном месте на усмотрение заказчика
Вентиляция
Система вентиляции в коровнике:

Одна из самых простых схем вентиляции – оборудование на крыше коровника вытяжной трубы. Часто ее делают из досок. Свежий воздух с улицы проникает через окна, а отработанный воздух выводится через вытяжку.
Коммуникации
Для подведения воды в хлев потребуется насосная станция или насос. При этом лучше воспользоваться наземным вариантом. От источника воды нужно провести шланг, надежно обернуть утеплителем и закопать под землю.
Что касается канализации, то в момент планирования нужно учесть наличие стоков и полы, расположенные под углом. С их помощью извлекать навоз из коровника будет проще.

























































