Способы изготовления
Если рассмотреть по отдельности варианты изготовления, то тут тоже есть несколько вариантов:
- Итак, первым вариантом будет цельная доска. Иными словами, разделочная доска будет полностью вырезана из древесного массива или же из фанеры, если вы выбрали второй материал.
- Как сделать доску для разделки продуктов из отдельных фрагментов? На самом деле такой вариант имеет место быть. Тут стоит сразу же отметить, что цельные доски вырезать намного проще, но также конкретно склеенное изделие будет считаться самым прочным, потому что подобное изделие будет в меньшей степени подвержено деформации. Еще одним достоинство будет то, что подобный способ дает возможность создавать доску практически любого размера и формы.
Есть еще пару разделений на несколько видов, и многое будет зависеть от размера и формы. Так, создать разделочную доску собственноручно допускается в виде цельного изделия, это стандарт. Есть и другой вариант исполнения, а именно раздвижные доски. Лучше всего ставить их на возвышение, потому что в таком случае будет удобно убирать порезанные продукты.
Еще весьма удобной формой будет использование доски с отсеком для кожуры, обрезков. Два последних вида достаточно практические и простые – это угловая доска, а еще дощечка на ножках.
Наборные и торцевые доски для опытных
Шикарно смотрятся наборные доски из склеенных ламелей разных по цвету пород дерева – их отличают красивые и ровные контрастные полоски. Для этого просто чередуют светлые (береза, клен, ясень) и темные сорта древесины (махагони, бук, мореный дуб). Еще более сложный вариант, когда склеенный блок разрезается поперек и заново собирается уже в другом порядке. В результате получают очень эффектную «шахматку».
Но чтобы создать такую заготовку, и инструмент нужен посерьезнее:
- Строгальный или рейсмусовый станок;
- Круглопильный станок;
- Щитовые столярные ваймы или мощные струбцины.
Все заготовки для торцевой доски необходимо тщательно выровнять на круглопильном станке, чтобы они плотно подгонялись друг к другу. Иначе между ламелями появятся щели, и тогда ни клей, ни струбцины с ними не справятся.

Порядок изготовления разноцветного щита:
- Светлые и темные бруски пропустить через рейсмус, чтобы получить на выходе заготовки одинаковой ширины.
- Уложить бруски в кассету-шаблон, скомпоновав их так, как нравится. Перевернуть каждый на бок и распределить по всей поверхности клей. Для изготовления кухонной доски подойдет любой влагостойкий состав по дереву например, Titebond III Ultimate или Клейберит-303.2.
- Вернуть заготовки в исходное положение и плотно подогнать друг к другу. Зафиксировать в ваймах примерно на сутки, пока клей не застынет. Инструмент лучше сразу заклеить малярным скотчем, чтобы потом не пришлось мужественно счищать с него намертво прилипший состав.
- Достать доску из зажимов и зачистить стамеской поверхность, убрав излишки проступившего клея.
В принципе, полосатый щит уже готов, и можно вырезать из него кухонную доску по описанной выше технологии. Но те, кто хочет перейти на следующий уровень и сделать шикарную «шахматку», продолжат работу. Здесь уже нужно будет распустить заготовку поперек на новые бруски толщиной 25-30 мм. Дальше из них собираем очередной щит по уже освоенному принципу. После высыхания и многократной шлифовки разными абразивами останется только обработать кухонную доску минеральным маслом.
Выбор материала
Для начала, конечно, нужно выбрать материал, из которого будет сделана разделочная доска. Конечно, речь не идёт о выборе между пластиком и деревом, потому что тут выбор весьма очевиден – самодельная разделочная доска будет изготовлена именно из дерева. Вопрос заключается в другом – какую именно древесину лучше выбрать для изготовления изделия своими руками.
Итак, следует сразу отметить тот факт, что любое дерево для изготовления доски точно не подойдёт. Дерево бывает разным. Одни виды древесины лучше впитывают влагу, другие являются более твёрдыми. Экспериментировать или делать “как придётся” лучше не стоит. Древесина имеет свойство расслаиваться и можно столкнуться с тем, что самодельная доска послужит весьма недолго.
В принципе, самую простую разделочную доску можно изготовить из листа слоёной фанеры. Это такой бюджетный вариант, который можно рассматривать в том случае, если нет надобности изготавливать что-то существенное и подороже. Если же есть желание изготовить что-то существенное, то лучше брать сосну или дуб — классика, это самые надёжные и долговечные материалы. Большим спросом пользуются берёза, бук и акация. Они тоже весьма неплохи.
Конечно, есть кухонные доски из камня, силикона и стеклокерамики, но об этих материалах не стоит даже упоминать в данной статье. Ведь мы хотим сделать данное изделие своими руками, а из этих материалов это вряд ли получится.
Процесс работы
Теперь стоит перейти к процессу работы над изготовлением кухонной доски своими руками. Сразу же стоит приготовить все необходимые для работы инструменты:
- шаблон;
- карандаш;
- ножовка и верстак;
- дрель;
- сверло;
- тиски;
- напильник.
А теперь следует просто следовать по нижеприведённой инструкции и выполнять простые действия, не забывая о соблюдении пропорций, точности исполнения, а также о технике безопасности:
- Для начала следует приготовить доску. Она может быть дубовой, сосновой или берёзовой. Дерево может быть разным. Пользователь сам может решить, какой материал ему больше подойдёт. Используя шаблон и карандаш, понадобится осуществить разметку контуров будущей разделочной доски. Толщина изделия должна составлять 12 миллиметров. В принципе, толщина может быть и больше.
- Далее изделие потребуется выпилить по указанному контуру. Для этого надо будет использовать ножовку. С ней весьма удобно работать по дереву, так что никаких трудностей на данном этапе работы не будет.
- Ручка изделия может иметь отверстие. Оно предназначается для удобства, ведь так доску можно будет повесить на гвоздик. Дырку можно отметить шилом, после чего, используя сверло, просто её затем высверлить.
- Полученное изделие потребуется обязательно зачистить. Для этого доску надо будет закрепить в тисках, а затем напильником осуществить зачистку её поверхности. Также не стоит забывать и о зачистке краёв. Это сделать обязательно, потому что в процессе работы на поверхности доски и на её краях могут остаться сколы и щепки, которые, если их не убрать, могут попасть в пищу. А это влечёт за собой серьёзные последствия. Так что лучше не рисковать, а пару лишних раз провести напильником по поверхности изделия.
В том случае, если хочется не просто разделочной доски, а сделать что-то интересное и необычное, то можно дать волю своей фантазии. При желании можно использовать акварельные краски и нарисовать что угодно, на что хватит идей и мастерства. После оформления доски красками потребуется просто использовать лак. Это позволит закрепить сделанный рисунок надолго. В том случае, если пользователь не очень доверяет краскам и лакам и вряд ли будет разрезать на крашеной стороне пищу, можно пойти на компромисс – рисунком украсить всего одну сторону кухонной доски, а для работы оставить другую сторону чистой.
Простой вариант для начинающих
Для работы понадобится обрезная доска толщиной минимум 20 мм. Здесь лучше не скупиться и выбрать лучший сорт древесины – Экстра или класс А, то есть без сучков и червоточин. Инструмент – стандартный для самостоятельной обработки дерева: электролобзик, дрель, шлифмашинка, стамеска, тисы, а также карандаш и рулетка.
Порядок работ:
- Вырезать из бумаги шаблон – лучше всего нарисовать его на сложенном пополам листке, чтобы добиться точной симметрии.
- По выкройке сделать разметку на подготовленной цельной доске.
- Электролобзиком выпилить заготовку по контуру. Если у вас сложный эскиз, предусматривающий дуги малого радиуса, эти участки лучше прорезать, установив пилку по металлу – она дает более точную линию.
- Заготовку доски необходимо тщательно отшлифовать, используя круги разной зернистости. Обязательно нужно снять фаски и ошкурить все углы.
- Полностью готовое изделие обработать вазелиновым маслом, давая ему хорошо впитаться и высохнуть, повторив эту операцию несколько раз. Кстати, не стоит гоняться за супердорогим минеральным маслом «специально для досок». Это та же жидкость, что продается в любой аптеке, просто названная по-другому.
- Когда масло начнет проступать на поверхности, его нужно удалить сухой ветошью и оставить доску на сутки до полного высыхания.

Как самостоятельно сделать разделочные доски из фанеры
Разделочная доска из фанеры своими руками выполняется исключительно из материала, который имеет толщину не меньше 10 миллиметров. В противном случае изделие получится хрупким. Далее выполняются исключительно механические действия относительно деревянного материала.
Алгоритм изготовления доски для кухни из фанеры:
- На фанерную доску переносится эскиз будущего изделия. В процессе перенесения чертежа может использоваться линейка. Можно вырезать рисунок и обрисовать его на фанере.
- Вырезать будущее изделие по контуру. Прямые линии формируются с помощью дисковой пилы, сложные фигуры – лобзиком.
- Края срезов контура шлифуются с помощью наждачной бумаги, шлифовальной машины или напильника. Инструмент подбирается в соответствии с формой среза.
- Высверливается отверстие на ручке и шлифуется рабочая поверхность.
- Декоративное украшение зависит от дальнейшей функциональности.
- Изделие нужно пропитать защитным составом, который продлит сроки эксплуатации.

Изготовление доски методом склеивания имеет немного другой алгоритм: вырезаются детали, шлифуется каждая отдельная деталь, обрабатываются элементы, соединяются в единую композицию.
Отделка разделочных досок
Красивые разделочные доски из фанеры получаются в результате декоративной отделки. Из-за особенностей материала полностью исключается такой вариант, как резьба по фанере. При этом остается достаточно вариантов декора, которые улучшат эстетику изделия.

Функциональным вариантом остается выжигание рисунка на поверхности изделия. Доска, благодаря такой технике выполнения рисунка, может использоваться по назначению или нести исключительно декоративный характер.
Можно расписать деревянное полотно. Изделие с таким рисунком будет служить исключительно украшением. Выполнение элементарных углублений вдоль края может не менее эффектно украсить поверхность доски.
Чтобы защитить изделие от быстрого износа и придать однотонность цвету, доску покрывают минеральными маслами. Они совершенно безвредны для здоровья и хорошо воздействуют на деревянную основу.
Сосна, бук береза
Сосновая, буковая, березовая доска – отличная альтернатива. Наиболее бюджетный вариант – сосновая доска, отличающаяся простотой в обработке, но характеризуется низкой твердостью. Намного лучше вариант, выполненный из березы или бука, но эта порода дерева отличается чрезмерной гигроскопичностью, что негативно сказывается на структуре, и досочки в скором времени портятся, становясь непригодными к дальнейшему использованию. Вы можете придать разделочной доске из дерева своими руками форму круга, прямоугольника или вырезать изделие, которое вы представляете в своей фантазии.

Как сделать деревянную кухонную доску своими руками
Рассмотрим вариант изготовления доски из березовой фанеры, отличающийся практичностью и удобством в использовании на кухне. Ознакомьтесь с технологией изготовления изделия в домашних условиях.

Для проведения работ понадобится приготовить материалы и инструменты. Перед тем как приступить к изготовлению, подготовьте чертеж разделочной доски из дерева своими руками, даже если она незамысловата по форме и конструкции.

В ходе работ не обойтись без:
- карандаша;
- шаблона;
- верстака и ножовки;
- сверла;
- дрели;
- напильника;
- тисков.
Вариант разделочной доски из дерева своими руками:
- Возьмите березовую доску толщиной 12 мм.
- Взяв карандаш, аккуратно разметьте на заготовке контуры будущего изделия, используя шаблон.
- Взяв ножовку, выпилите доску по контуру.
- На поверхности при помощи шила отметьте место для отверстия и высверлите его при помощи дрели.
- Зажмите изделие в тисках и, при помощи напильника, зачистите поверхность. Немного закруглите края.
- При желании наружную поверхность доски можно декорировать рисунком акварельной краской и вскрыв лаком.

Чтобы уберечь деревянную доску, сделанную собственноручно, от впитывания неприятных запахов, смажьте дерево половинкой лимона, после чего промойте горячей водой.
Все продукты нарезать на одной и той же доске не рекомендовано, потому, если у вас получится, запаситесь несколькими разделочными досками из спила дерева своими руками.
Пользуясь короткой инструкцией и приведенными рекомендациями, вы сможете смастерить деревянную доску, не приложив к этому много усилий.
Как правильно подойти к выбору пиломатериала
Первый же вопрос, которым задаются домашние мастера, не имеющие достаточного опыта в работе с древесиной – какую породу лучше использовать для разделочной доски?
Во-первых, необходимо уточнить, для каких именно целей она изготавливается. Многие хозяйки всегда имеют под рукой не одну, а минимум две доски, для разных продуктов. Причем они отличаются как толщиной дерева, так и размерами (а, следовательно, весом и удобством размещения на столешнице). Поэтому сначала нужно уяснить специфику дальнейшего использования доски – она планируется как универсальный атрибут или же для целевого назначения. Например, для работы с рыбой вряд ли есть смысл делать ее массивной, так как ее разделка методом рубки с применением топорика, в отличие от мяса с костями, не производится.

Кроме того, некоторые доски вообще не используются по прямому назначению. Их изготавливают своими руками специально для украшения жилища. То есть они служат лишь частью декорации для определенного интерьера дома (кантри и ряд других). Следовательно, на первый план здесь выступает такой критерий, как художественное оформление разделочной доски, а не ее прочность, долговечность и так далее. В этом случае вполне можно обойтись и многослойной фанерой, а не ориентироваться на породу дерева. Самая дешевая ее разновидность из подходящих по всем параметрам – ФК. Ввиду отсутствия в клеящем составе канцерогенов именно эти листы рекомендуются для внутренних работ.

Во-вторых, имеет значение и то, насколько интенсивно будет использоваться разделочная доска. Если она изготавливается «на все случаи», то такой показатель, как прочность, не должен отходить на второй план. Она предназначена и для того, чтобы выдерживать значительные нагрузки, с учетом, что на ней будет производиться и рубка тех же костей.
В-третьих, кухня, независимо от типа строения – помещение не только с избыточной влажностью. В нем периодические и довольно значительные перепады температуры. Уже этого достаточно, чтобы понять – для разделочной доски любая древесина не подходит.
При выборе породы дерева для разделочной доски нужно обратить внимание на ее соответствие следующим критериям:
- минимальное влагопоглощение, иначе на кухне оно довольно быстро разбухнет. Как результат – деформирование рабочей поверхности разделочной доски. Даже как подставка для чего-либо она вряд ли будет востребована при сильном изменении геометрии;
- достаточная прочность. Иначе при точечных ударах (в основном это относится к процессу рубки) разделочная доска постепенно покроется глубокими вмятинами. Следовательно, ее дальнейшее использование по прямому назначению – под большим вопросом. Это же касается и возможности расслоения материала. Фанера, даже самая качественная и дорогая (например, ФБ), для доски под разделку мяса однозначно не подходит.

Какое дерево рекомендуется
Перечислять экзотические породы бессмысленно – их для разделочных досок используют лишь профессионалы (гевею и тому подобное), изготовляющие оригинальные экземпляры на заказ, а мастерам советы не требуются
Тем же, кто собирается сделать такую доску для своих домашних нужд, желательно обратить внимание на березу, акацию, сосну, дуб, бук, грушу, вишню . Такая древесина податлива в обработке, обладает хорошей прочностью и к тому же стоит недорого
А вот теперь немного о внешнем виде изделия
Начинаем сборку + дизайн
Мы уже разобрались, из чего сделать разделочную доску своими руками, а теперь стоит поговорить непосредственно о процессе сборки. Первым шагом в таком случае будет выбор дизайна для изделия. Тут можно будет применять практически любые решения, если так захочет человек, который занимается изготовлением.
Для того, чтобы было куда удобнее работать, стоит перенести все идеи на схематический чертеж. Кстати, нанесение реальных размеров помогает избегать допущения ошибок в процессе работы. В качестве схемы вы можете применять сразу несколько вариантов.
Так как изделие не будет чем-то масштабным, то вы сможете использовать обычный рисунок на листе бумаги, который сделан простым карандашом. Еще вы можете распечатать контур любой форм и опираться именно на него при создании изделия, а можно даже просто обвести любой предмет, форма которого вам подходит для вашей задумки.
Инструменты и заготовка
Как сделать самостоятельно разделочную доску, и при этом не допустить ошибок? Наверное, оптимальным вариантом будет создание устройства в собственной столярной мастерской.
Работы с заготовками начнутся с того, что на нее следует перенести выбранный узор, если он требуется. Процесс резки выполняется благодаря самой простой пиле, тем более, что если доска будет оснащена прямолинейными гранями. Если контурная форма будет весьма сложной, то лучше всего использовать такой инструмент, как электрический лобзик.
Все срезы требуется обрабатывать в соответствии с технологией. Для этого используйте такие приборы, как напильник, наждачная бумага, шлифовальная машинка
Также при шлифовании очень важно убирать все волокна и щепки, которые в будущем могут попадать в пищу или даже вонзаться в кожу, словно заноза
Детализация
Не менее важным шагом будет обращать внимание на определенные детали. Отверстие для подвешивания дощечки на стену вырезают в самую последнюю очередь, а края следует хорошенько отшлифовать
На таком этапе следует заниматься украшением поверхности, если это действительно нужно.
Вы можете использовать такие способы нанесения узоров, как окрашивание, выжигание и выпиливание
Стоит обратить внимание на то, что для разделочной доски наличие узоров – это факт, что в них будет забиваться пища. По этой причине глубину узора следует делать минимальной, а сам он должен быть расположен по краям, а не строго по центру
Защита готового изделия
Как сделать разделочную доску, вы уже знаете. А вот для того, чтобы полученное изделие было максимально долговечным, и чтобы доска не теряла свой внешний вид, ее следует обрабатывать. Так как предмет будет постоянно расположен на кухне, где он будет соприкасаться с продуктами питания, то пропитки обязательно должны быть нетоксичными, а также быть без запаха.
Выполнение процедуры очень простое. Слой масла следует наносить лишь в том случае, когда предыдущий полностью просохнет
Обычно такую процедуру проводят от двух до пяти раз, и важно отметить, что после первого погружения из доски могут повылезать мелкие щепы, которые останутся после шлифования. Их можно снять при помощи наждачной бумаги
Вариант 1. Деревянная доска
На самом деле, лучше деревянных разделочных досок еще ничего не придумали. Но у них есть свои недостатки, а также требования по уходу.

Плюсы: Долговечность, экологичность, красивый внешний вид, возможность использования для подачи блюд (например, сыра), устойчивость на столе. В конце концов, именно на гладкой деревянной поверхности работать с продуктами приятнее всего. Кроме того, деревянные доски, особенно из мягких пород (сосны, березы), позволяют дольше сохранять ножи острыми. Тем, кто пользуется дорогими профессиональными ножами, без деревянных досок не обойтись.
Советы по выбору:

Ее преимущество состоит в перпендикулярном расположении волокон дерева по отношению к режущей поверхности, благодаря чему доска имеет большую прочность и долговечность. Кроме того, она значительно меньше затупляет нож.

Деревянные разделочные доски нужно мыть вручную горячей водой с мылом или средством для мытья посуды, а затем сразу протирать насухо. Их категорически нельзя замачивать и оставлять надолго в воде. Сложные пятна и запахи можно удалить протерев доску с лимонным соком и солью.

- Ни в коем случае нельзя ставить деревянные доски в СВЧ-печи или духовые шкафы.
- 1 раз в месяц (а в отопительный сезон еще чаще) смазывайте доску со всех сторон минеральным маслом. Масло запечатывает поры дерева, защищая доску от высыхания и впитывания влаги, соков от продуктов. Имейте в виду, что смазывать доску оливковым, подсолнечным или любым другим пищевым маслом нельзя, так как со временем оно прогоркнет и начнёт портить вкус еды.
Чем засвечивать
Экспозиция древесины как материала, который является светочувствительным, выполняется посредством ультрафиолетового излучения от кварцевой лампы для загара, или же естественным ультрафиолетом от солнечного света. Последнее, к несчастью, достаточно хлопотно и может быть лишь в южных регионах со стабильными ясными деньками и прекрасной инсоляцией – экспозиция будет занимать весь полный теплый сезон.
Меры предосторожности
Фотопроцесс следует проводить со строгим соблюдением мер безопасности:
- Проводите процесс в отдельном помещении, которое является нежилым, свободное от любых органических вещества и минеральных азотосодержащих соединений.
- Ультрафиолетовая лаборатория должна обязательно иметь принудительную приточно-вытяжную вентиляцию, которая обеспечивает не меньше двух обменов воздуха за час.
- В квартире экспонирование ультрафиолетом можно проводить в летнее время на балконе при условии, то туда не попадут посторонние.
- Если балкон застеклен, то окна на время засветки должны быть настежь открыты, а к подветренному или к лампе следует приставить бытовой вентилятор на стойке таким образом, чтобы он выдувал воздух наружу.
- В помещении, где включена лампы, входите в одежде, которая закрывает тепло и в защитных очках, прекрасно подходят очки-консервы для газовой сварки.
- Лампа и сам образец, который проходит обработку, должны быть прикрыты светонепроницаемым, но прекрасно вентилируемым кожухом. Его следует сделать из древесных бросовых материалов, к примеру, упаковочной фанеры – получится одноразовый кожух, потому что в результате облучения ультрафиолетом его материал придет в негодность. Кожух из металла не подойдет из-за технологических соображений – он дает сильные блики поляризованного типа, картинка будет вуалироваться, и вместо изображения получится некрасивое серое пятно.
- Снимайте кожух для проверки экспозиции при выключенной лампе.
- Следует принимать все возможные меры к тому, чтобы лампы не была разбита.
Надеемся, что вся информация из статьи действительно для вас полезна и теперь вы точно знаете, как сделать разделочную доску своими руками.
Правила ухода
Деревянное изделие, сделанное своими руками, покрывается специальным защитным средством. Экологичные деревянные поверхности покрывают нетоксичным, безвредным раствором. Как правило, используют различные минеральные масла. Они абсолютно безопасны для здоровья человека, и вместе с тем, надежно защищают дерево от повреждений и бактерий. Минеральные масла продаются в специализированных магазинах и хозяйственных отделах крупных супермаркетов. Дерево хорошо впитывает запахи, а также со временем накапливает бактерии, поэтому раз в несколько лет разделочные доски необходимо шлифовать и пропитывать минеральным маслом.
Правильный уход за досками может продлить их срок службы. Как нужно ухаживать за деревянными разделочными дощечками:
- Разделочные доски из фанеры необходимо мыть в горячей воде с добавлением мыла. После этого их нужно хорошенько протереть и тщательно высушить.
- Деревянные дощечки нельзя мыть в посудомоечной машине.
- Дерево плохо переносит повышенную температуру. Не ставьте деревянные доски рядом с кухонной плитой.
- Если нужно удалить неприятный запах с поверхности доски, протрите ее срезом лимона или столовым уксусом. Можно намочить доску, посыпать ее пищевой содой, оставить на пару минут, а затем промыть под проточной водой.
- Несколько дощечек не должны соприкасаться друг с другом. Капельки влаги могут спровоцировать образование плесени.
- Купленную деревянную дощечку следует обработать кусочком наждачной бумаги, а затем промазать минеральным пищевым маслом. Для этих целей подойдет также льняное масло. Оставить масло на 2-3 часа, после чего промыть доску под проточной водой с мылом и тщательно высушить.
Деревянные доски будут служить длительное время, если правильно за ними ухаживать. Выбирая деревянную разделочную поверхность, вы делаете выбор в пользу здоровья, экологичности, безопасности и здоровья всей семьи. А кроме того, деревянные дощечки смогут стать украшением вашей кухни.
Характеристики разделочных досок
Некоторые хозяйки наивно полагают, что самая лучшая разделочная доска изготавливается из цельного деревянного куска. Хочется отметить, что такие изделия практически не изготавливаются.

Дело в том, что цельные куски дерева не подходят для этих целей. Любая древесина при сушке может потрескаться и покоробиться. И если все таки доску сделать цельной, то, как только вы ее помоете под водой, ее применение в дальнейшем станем бессмысленным занятием из-за своего покоробленного вида.
Конечно же, существуют и исключения. Например, махагони – красное дерево, которое при попадании влаги не теряет своих свойств и параметров. Но из него доски делать нецелесообразно, разве что повесить их на стенку для красоты.

Разделочная доска из клена и махагони
Приобретенные в торговых точках доски могут быстро потрескаться. Это говорит о том, что при их изготовлении был нарушен технологический процесс. Практически все разделочные доски имеют вид тонких деревянных полосок, именуемых делянками. Чем меньше толщина полоски, тем качественнее будет изделие.
При соблюдении технологии производства, склеенные доски будут обладать достаточной прочностью и цельностью, невзирая на множество составляющих.
Требования к материалу изготовления
Что касательно того, как изготавливать разделочную доску из натуральной древесины, то в этом случае можно использовать практически все породы. Стоит лишь заранее отметить тот факт, что самые недорогостоящие варианты, такие как ель или сосна, не самые долговечные, хотя на самом деле можно увеличить их срок эксплуатации благодаря правильному обращению.
Есть несколько определенных требований, которым обязательно стоит следовать:
- Естественно, что при использовании материал обязательно должен быть сухим.
- Фанера или древесина не должны содержать в себе такие дефекты, как, например, нефтяные пятна.
- Заготовка не должна иметь рыхлых или даже гнилых мест, а еще сучков, но при хорошей сноровке сучки можно даже сделать частью дизайна.
Сложности выбора: пластик или дерево

Разобравшись с особенностями досок из пластика и дерева, не так трудно сделать для себя выводы по выбору. Пригодны для использования оба варианта. У каждого есть преимущества, недостатки.
Высоки показатели гигиеничности и долговечности у новых деревянных или пластиковых изделий. Ситуация меняется при появлении деформаций и трещин. Пластиковые доски с царапинами использовать нельзя, они требуют замены. Деревянные модели необходимо тщательно обрабатывать, просушивать после каждой разделки продуктов.
Дольше служат деревянные доски из дуба, бука, гевеи, пластиковые – из полипропилена. Дешевые модели из дерева или пластика быстро теряют привлекательность, деформируются.
Каждый выбирает доску исходя из личных предпочтений, собственных кулинарных способностей, возможностей бюджета. Безопасность и сроки использования зависят от ухода и правильной эксплуатации.
Кстати, узнайте, как можно быстро заточить керамический нож.
Уход за деревянными разделочными досками
Чтобы разделочная доска служила долгое время, необходимо осуществлять за ней определенный уход. Как только изделие приобретено, стоит протереть его минеральным или льняным маслом. Желательно такую процедуру провести несколько раз, чтобы получился качественный защитный слой.

После каждой готовки доска обязательно моется. Это даст возможность уйти от неприятных запахов. Делается такая процедура при помощи уксуса, сока лимона или простой проточной воды. Желательно не применять моющие средства, чтобы впоследствии они не попали в человеческий организм.
Желательно хранить доски на открытом месте, а не укладывать в ящики. Воздух должен постоянно циркулировать, чтобы не появилась плесень и неприятный запах. Желательно приобрести несколько разделочных дощечек для разной группы продуктов: рыбы, мяса, фруктов, хлебобулочных изделий.
Размеры разделочной доски
Это второй вопрос, который интересует многих домашних мастеров – на какие линейные параметры ориентироваться? Какого-то стандарта на разделочные доски не существует, равно как и общепринятых норм. Вырезая их из дерева своими руками, все размеры определяются произвольно.

Что учитывается при выборе размера доски:
Удобство работы
Во-первых, каждая хозяйка может сказать, какая площадь доски оптимальна для разделки тех или иных продуктов. Поэтому при определении размеров нужно руководствоваться принципом достаточности. Если разделочная доска в основном для мяса, то габариты ее выбираются несколько большими, а вот для шинковки овощей, к примеру, хватит и относительно маленькой. Во-вторых, в каком объеме обычно разделываются продукты за один раз. Ведь семья из 3-х человек или 5 – 6 – не одно и то же
В-третьих, немаловажно, где и как обустроено основное рабочее место хозяйки. Удастся ли там поместить слишком большую доску?

Удобство хранения инвентаря
Опять-таки, это определяет хозяйка. Задача мужчины – сделать своими руками, а какой в конечном итоге разделочной доске быть (габариты, форма и так далее) – это решение женщины. Одни предпочитают хранить такую принадлежность в тубе (шкафу) кухонного гарнитура, другие подвешивают ее на кухне – вариантов достаточно. Главное, чтобы в повседневной жизни разделочная доска не бросалась в глаза, не мешала и всегда была под рукой.

Правила изготовления разделочной доски
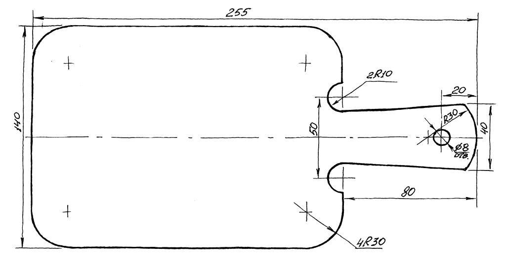
Теперь стоит пробежаться по основным правилам изготовления кухонной доски своими руками. Их немного, да и вообще процесс этот не такой трудный, как может показаться. От пользователя требуется лишь правильно установить пропорции будущего изделия, а также составить корректный чертёж, по которому и будет осуществляться вся дальнейшая работа.
Нужно обозначить все параметры изделия, приготовить необходимые инструменты, проверить чертёж ещё раз. Стоит отметить, что ручка, которая нужна для удобства пользования изделием, должна находиться на продольной оси, поэтому эту ось требуется отметить и расположить на чертеже.
Создаем ручку
По большому счету, она нужна исключительно для красоты. Но во время выполнения кухонных работ за нее удобно придерживать и передвигать доску. А решила сделать ее не классической, ровной, а слегка с наклоном. Никакой функциональной нагрузки это не несет, но зато выделяет изделие из сотен других. Но на практике многие отмечают, что держать доску за изогнутую ручку намного удобней. Для придания затейливой формы лучше всего использовать ленточную пилу. Для начала маркером отметьте форму будущей ручки, а затем пройдите по контуру. Останется стряхнуть опилки и пройти по всей поверхности шлифовальной машинкой. Закончите работу при помощи бархатной шкурки, чтобы не оставалось ни одной зацепки.
«Черный месяц» и не только: астролог Марина Скади поведала, что нас ждет в 2021
Александр Малькевич об опасностях, которые несут с собой цифровые технологии
Как взбить сливки без миксера: лайфхак от бармена
Далее следует просверлить отверстие в ручке. Я просто посчитала, какой размер будет хорошо смотреться на доске такого размера, и просверлила до конца. Я обычно добавляю небольшую полоску кожи, чтобы выделить ее на фоне других вещей, которые вы видите в магазинах.
Советы по выбору и размещению
Для того чтобы доска для разделки служила длительное время, следует выбирать ее, учитывая определенные рекомендации.
Покупая модель из дерева, нужно осмотреть ее внешний вид, особое внимание уделяя боковой поверхности. Рисунок позволит определить, изготовлено изделие из цельного куска древесины или при изготовлении использовали бруски.
Толщина в 3 или 4 см считается наиболее подходящей для этого кухонного аксессуара.
Размер должен соответствовать предназначению
Если для нарезки хлеба подойдет доска небольшого размера, то для мяса стоит выбрать модель размером 20 на 40 см.
Выбирая изделие из дерева, лучше подобрать кухонный аксессуар, изготовленный из бамбука или дуба, так как эти породы стойки к повышенной влажности, сколам и повреждениям. Изделия из бука, ясеня или сосны будут стоить дешевле, поэтому можно остановиться и на более экономичном варианте, если ваш семейный бюджет небольшой.

В том случае, если места на кухне очень мало, лучше вешать кухонный аксессуар на рейлинг или использовать для этой цели крючки, которые размещают на боковой части гарнитура.
Принцип изготовления торцевых досок
При производстве торцевой доски, чтобы добиться надлежащего эффекта, применяются проверенные временем технологии. Известно, что плоский спил дерева, волокно которого направлено перпендикулярно поверхности, на которую он уложен, может быть чрезвычайно хрупким. Для компенсации данного недостатка разделочная доска выполняется из составных частей, склеенных между собой, волокно которых имеет различное направление относительно друг друга. Для скрепления составных элементов друг с другом необходимо подобрать клей, свойства которого могли бы обеспечить надлежащее соединение заготовок. Прочность стыков между заготовками должна быть достаточной для сохранения целостности доски под нагрузками.
Так как разделочная доска – это предмет обихода, контактирующий с пищевыми продуктами, стоит использовать только специализированный клей. На его упаковке должно быть указано разрешение на использование для склеивания материалов, которые будут находиться в непосредственном контакте с пищей. Это позволит избежать попадания вредных клеевых частиц в организм человека, который будет потреблять пищу, приготовленную на данной доске.


Торцевая доска изготавливается по следующему принципу.
- Дощатая заготовка распиливается на продольные бруски. Их сечение, в зависимости от необходимости и толщины будущей доски, может быть квадратным или прямоугольным.
- Полученные брусочные заготовки поворачиваются вокруг своей оси на четверть оборота, для того чтобы сместить направление древесного волокна. После этого они склеиваются между собой.
- После высыхания доска, получившаяся в результате осуществления предыдущей манипуляции, поперечным распилом разрезается на очередные бруски, которые после поворота на четверть вокруг своей оси вновь склеиваются.
- На заключительном этапе выполняется процедура шлифования поверхности доски, призванная придать ей рабочее состояние и товарный вид.





























































