Создание полезных приспособлений для гаража своими руками
Чтобы осуществлять ремонтные и сервисные работы, потребуется соорудить смотровую яму в гараже своими руками, размеры которой будут соответствовать габаритам авто, а также верстак для удобной работы, плюс снабдить помещение станками.
Основной набор инструментов и материалов для создания самодельного верстака для гаража включает:
- доски и деревянные бруски;
- крепежные элементы и стяжки;
- рубанок и другие инструменты для обработки дерева;
- лакирующий и столярный клеевые составы;
- наждачную бумагу и олифу.

Пример размещения в гараже полезных приспособлений: 1 — верстак с ручными станками, 2 — стеллажи и шкафы, 3 — стол для проведения различных ремонтных работ, 4 — полка для хранения шин, 5 — смотровая яма
Технология изготовления верстака в гараже своими руками: фото, чертежи
Верстак состоит из столешницы и подстолья, а также нескольких устройств зажимного типа. Высоту верстака в гараже следует подбирать с учетом собственного роста. Можно взять в качестве ориентира высоту кухонного стола в доме, за которым удобно работать. Обязательно составьте для создания верстака для гаража своими руками чертежи.
Обустройство гаража: как сделать верстак в помещении:
| Этап работы | Детали, размер в см | Тип крепления |
| Сборка столешницы | 20 досок (5х10х200) с пазами 2,5х2,5 в 5-ом и 16-ом элементе (шаг 25) | Клеевой состав металлические стяжки |
| Сушка | — | — |
| Изготовление ножек (4 шт.) | Брусок (10х10х80) с пазами под кронштейны на передних опорах | Кронштейны |
| Сборка основания подстолья | Рамы (2 шт.) из досок (5х10) | Соединение «в шип» на глубину 2,5 см и болты |
| Фиксация боковых и задних опорных стенок | Плиты ДСП (толщина 10 мм) | Шурупы |
| Фиксация столешницы к верхней раме | — | Болты |
Заключительная обработка предполагает пропитку готового изделия олифой и вскрытие лаком.
Рекомендации по созданию смотровой ямы в гараже своими руками
Не существует определенных размеров смотровой ямы в гараже. В качестве основы берутся габариты автомобиля.
Как сделать смотровую яму в гараж с оптимальными параметрами:
- Ширина подбирается с тем расчетом, чтобы внутри было достаточно места для работы. Размер ограничен расстоянием, на которое посажены колеса авто. Каждое колесо нуждается в небольшой площади для выполнения маневров. Средняя ширина ямы составляет 0,8 м.
- Длина ямы ограничивается длиной машины. К этому показателю следует добавить 1 м.
- Для расчета глубины используется рост владельца гаража. К нему прибавляется еще 10-15 см.
Как правильно сделать смотровую яму в гараж с использованием разных материалов:
| Материал | Толщина стенок, см |
| Керамический кирпич | 12-25 |
| Бетон | 15 |
| Строительные блоки | 20 |
Котлован вырывается с учетом оптимальной ширины ямы, материала, выбранного для стенок, а также толщины гидроизоляционного слоя. Этапы создания ямы:
- разметка;
- строительство котлована;
- обустройство котлована;
- строительство стен;
- прокладка освещения.
Для гидроизоляции стен применяется специализированная гидрофобная пропитка.

Схема обустройства смотровой ямы: 1 — стенки из пеноблоков, 2 — гидроизоляция, 3 — бутовая кладка. 4 — уголок размером 50х50х4 мм
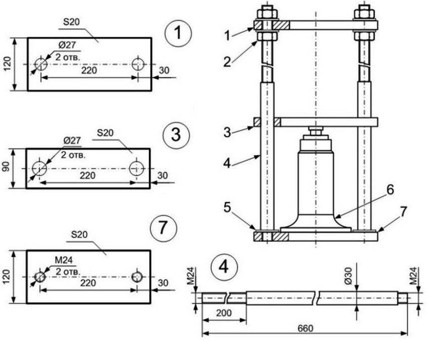
Изготовление пресса для гаража своими руками
Для создания пресса следует изготовить из 4 отрезков металлических труб каркас размером 178х80 см. Эти элементы соединяются методом сварки. В работе рекомендуется руководствоваться чертежами, заранее подобранными или составленными. После этого нужно установить:
- фиксатор;
- съемный упор;
- бутылочный домкрат (гидравлический).
Можно использовать для рассмотрения подробной технологии создания полезных приспособлений для гаража своими руками видео-материалы. Такие наглядные рекомендации помогают сориентироваться в размерах, освоить пошаговые инструкции и представить, какой внешний вид должна иметь готовая конструкция.

Схема изготовления гидравлического пресса: 1 — верхняя силовая платформа, 2 — гайки, 3 — нижняя платформа, 4 — шпильки диаметром 30 мм, 5 — нижняя резьба шпилек, 6 — гидравлический домкрат бутылочного типа; 7 — основание толщиной 20 мм
Обустройство гаража можно сделать собственными руками. На этом список полезных приспособлений не заканчивается. Его всегда можно дополнить любыми интересными идеями. Главное, чтобы гараж полностью соответствовал личным требованиям в отношении комфорта и удобства.
https://youtube.com/watch?v=D1BKvgCBg8Q
Полезные самоделки для гаража своими руками

Чаще всего при первоначальном обустройстве заказывают всю необходимую мебель. Но если же вы арендуете помещение или не хотите вынимать на это деньги из семейного бюджета, то вполне сможете обустроиться и своими силами, особенно, если умеете держать в руках базовые инструменты. В помощь себе и для вдохновения, можете воспользоваться видео с самоделками для гаража своими руками (ютуб может порадовать вас разнообразными идеями), а можете учесть и советы по обустройству, которые будут основой для удачной планировки.
Если вы посмотрите на фото, которое демонстрирует оптимальный набор полезных мебельных элементов, то отметите для себя полезные нюансы. Во-первых, расположение любой системы хранения должно быть расположено на определенном расстоянии от стен. Считается, что между стоящей внутри помещения машиной и стеллажом должно быть как минимум полметра для нормальной, комфортной работы внутри. Если же по форме хранилище вашей машины скорее прямоугольник, а не квадрат (так бывает достаточно часто), то стоит переместить все хранилище для инструментов и полезный вещей в одну зону вдоль дальней стенки, противоположной двери. Именно здесь вы сможете с максимальным удобством поставить не только стол или стеллаж, но и даже столярный или токарный станок. Нелишним будет упомянуть, что располагать внутри гаража все хранилище ваших инструментов следует только в том случае, если он надежно закрыт или находится под защитой крепко закрытых ворот на даче. В противном же случае, лучше размещать там только самое необходимое, желательно, не представляющее особенной ценности для грабителей.
Если вы предусматриваете установку окон своими руками в отдельном помещении, которое находится на территории вашего загородного участка, то лучше сделайте их, так называемого, мансардного типа, то есть расположенными в крыше, причем, выбирайте место как раз над таким рабочим уголком. В летний и весенний период такое расположение окон поможет вам сэкономить на освещении, солнечного света будет вполне достаточно для всех типов работ, к тому же вы сможете еще и проветривать помещение, ведь вентиляция не всегда может нормально справляться, особенно, если внутри вы собираетесь заниматься, как в мастерской.
При тотальном дефиците денег или из любви к искусству, вы можете сделать и оригинальную систему хранения, использовав старые пустые канистры. Их у любого автомобилиста за год скапливается достаточно много, а если попросить у товарищей-соседей, то хватит на каждый отсек такого интересного шкафчика. Конечно, ничего сложного тут нет и для выполнения подобных самоделок для гаража своими руками видео-уроки вовсе не нужны. Вам необходимо взять пластмассовую канистру, хорошо ее вымыть, чтобы не оставалось следов ее содержимого. Вооружившись ножницами по металлу, ножом или другим инструментом, срезаем переднюю крышку с канистры, но так, чтобы оставались бортики, и содержимое не переваливалось через край. Чтобы конструкция была более устойчивая, вы можете закрепить ее на задней стене при помощи саморезов, но загонять их будем, конечно, не в стену, а в деревянную рейку, которую прикрепляем на дюбели.
Самоделки для гаража своими руками фото

Такой же вариант, как и представленный на фото, можно использовать в самоделках для дачи, там ведь тоже часто нужно обустраивать мастерскую, причем места для нее выделяют даже меньше, чем остается в гараже. Для такой конструкции вам необходимо будет соорудить каркас из деревянных досок, а по верхнему и нижнему его ребру сделать надсечки, куда будут вставляться ячейки. Скорее всего, вдохновением для такой конструкции послужили классические ульи, которые используются при разведении пчел, система тут точно такая же. Листы, которые вставляются внутрь имеют перфорированную поверхность и наличие этих небольших дырочек позволит вам вкрутить внутрь гвоздики, повесить крючки, чтобы развесить инструменты и полезные девайсы максимально удобно, чтобы они не слетали при выдвигании и задвигании.

Точно такая же перфорация может быть вписана в мебельный комплект. Имея такой полный набор всего необходимого для домашнего мастера, вы сможете соорудить множество полезных самоделок для гаража своими руками, видео с которыми есть в сети. По популярности такие ресурсы могут вскоре обогнать и популярные хэнд-мейд проекты, ведь мужчины, не меньше чем женщины, хотят сделать пространство вокруг себя, свое царство, красивым, функциональным, удобным.
Примеры и варианты
Вариантов использования свободного пространства в гараже немало.
Самые популярные из них:
- Мастерская. Гараж – идеальное место для занятий, которым не нашлось места дома – шумное слесарство, огнеопасный лэмп-воркинг и пайка с неприятным запахом палёной канифоли, наконец, найдут себе уютное пристанище.
- Склад. В каждом доме найдется масса нужных вещей, которые не хочется хранить дома – сезонный спортивный инвентарь, детские санки, даже несезонная одежда и семейные фотоальбомы.
- Садовый уголок. Гараж часто используется садоводами-любителями для хранения громоздких и негабаритных садовых принадлежностей.
- Хранилище домашних заготовок. А также стратегический запас картошки, моркови, круп и соли.
- Репетиционная база.
Полезные идеи для обустройства гаража смотрите ниже.
Резать металл
Многие мастера, работая с болгаркой, понимают насколько проще резать металл, используя самый примитивный станок. Работа проходит быстрее и легче, а линия реза качественнее.
Отрезные дисковые станки — полезные приспособления в гаражах или мастерских. Они быстро порежут любые металлические изделия, под разными углами. Основание, на которое устанавливается устройство, должно быть жёстким. При смене диска возможность этого приспособления расширяется, и работать можно будет с любыми материалами.
Каркас самого простого станка можно соорудить из трубки, впоследствии служащей удобной ручкой. С одной стороны на неё поперёк приваривается планка с отверстиями. Это понадобится для крепления болгарки. На всю основу прикрепляют подвижный вал, эта часть прикрепляется к полу. Второй конец прикреплён к пружине, возвращающей конструкцию в первоначальное состояние.
Различное оборудование
Кроме самых востребованных в стране экземпляров самодельного оборудования, встречаются и более редкие, но тоже нужные приспособления: установки для загиба труб разных размеров, станки для тонкой обработки по дереву, мотокультиватор и другие.
Плазморез — прибор для нарезки цветных металлов используется в серийном производстве, на крупных заводах. Но в небольшой мастерской его можно смастерить из инвертора. Это поможет в последствие вырезать несколько нужных деталей в гараже. Процесс изготовления такого приспособления непростой, но для «кулибиных», разбирающихся в принципе работы аппарата, сложности не будет.
Практически всё оборудование, которое могло бы пригодиться в домашних мастерских, реально возможно соорудить своими руками. Сколько разных садовых приспособлений, без которых очень сложно ухаживать за огородом, деревьями, землёй, делается самостоятельно. Это и мотокультиватор, и газонокосилка, и аппарат для рытья скважин. Главное — это желание и руководство к действию.
Компрессор для гаража своими руками
Компрессор нужен в любом гараже. И, кстати, это не самая сложная самоделка для гаража. Маломощный компрессор для гаража для подкачки шин и других мелких работе можно сделать своими руками из подсобных материалов. Например, из компрессора от холодильника. Для этого понадобится:
- компрессор от холодильника;
- герметичный баллон с толстыми стенками (можно использовать колбу от огнетушителя, маленький газовый баллон);
- предохранительный клапан на 8 Атм;
- манометр;
- штуцера;
- кислородные шланги с муфтами (длину подбираете исходя из размеров ваших запчастей);
- основание для компрессора — подойдет толстая доска, кусок фанеры.
Для того чтобы не закачивать в шины всякую гадость, желательно еще поставить фильтр — для отделения масел, пыли и других загрязнений. Схема самодельного компрессора представлена на фото.
Схема самодельного компрессора
Компрессор должен быть с пусковым устройством. Его включаем в сеть, смотрим, в какую трубку засасывается воздух, отмечаем ее. На нее можно поставить автомобильный фильтр — будет закачиваться чистый воздух.
Из баллона и предохранительного клапана собираем ресивер-маслоотделитель. Для этого в баллон врезаем два штуцера — для входа и выхода воздуха. На входное отверстие ставим предохранительный клапан к нему при помощи кислородного шланга подключаем выход компрессора.
Самодельный компрессор для гаража на базе компрессора от холодильника
На выходное отверстие ресивера-маслоотделителя ставим еще один масляный автомобильный фильтр — чтобы убрать масла окончательно. Фильтр соединяем с манометром, а от него идет уже шланг, который через соответствующий переходник подключается к шине.
Сборка закончена. Но чтобы переносить это устройство было удобно, все надо каким-то образом закрепить. Можно сварить каркас по размерам, приделать колесики и ручку — для удобной транспортировки. Один из вариантов компрессора для подкачки колес описан в видео. Там нет ресивера, но его функции выполняет масляный фильтр. Можно сделать и так, но с ресивером конструкция понадежнее получается.
Так как компрессор в холодильнике маломощный, для подкачки колес может потребоваться много времени. Можно его сделать более мощным, установив два компрессора, которые будут запускаться одновременно. Соответственно, давление будет нагнетаться в два раза быстрее. Но в такой установке требуется более солидная группа безопасности. Такие самоделки требуют чуть больше оборудования, так как схема все-таки сложнее.
Советы по обустройству гаража
Полезные лайфхаки для гаража помогут эргономично использовать доступное пространство. Есть несколько грамотных способов обустройства и оформления гаражного помещения:

Гараж, как правило, имеет прямоугольную форму, а автомобиль не занимает всё свободное пространство. Поэтому можно обустроить рабочую зону с верстаками, полочками и инструментарием. Для запчастей, инструментов и приборов стоит выделить отдельные зоны.

Если в гараже имеется отдельное помещение (щитовая, подсобка), его дверь можно переоборудовать в своеобразный стеллаж для хранения лёгких небольших принадлежностей.





























В компактном помещении на стенах можно сделать металлические решётки, использующиеся для компактного хранения инструментов. На решётке с крючками также можно хранить садовый инвентарь и рабочую одежду.

Практически на любой поверхности можно установить крючки для хранения гаражных принадлежностей. Можно использовать готовые фабричные крюки, или сделать их самостоятельно.

Столярный инструмент своими руками
Двигаемся дальше и переходим к столярным приспособлениям. Те, кто занимается «столяркой», по достоинству оценят бюджетную вайму — незаменимое для любого столяра приспособление для склеивания деревянных щитов.
Как-то раз мне потребовалось склеить много щитов из дерева. Струбцин у меня не было. Поэтому я решил на скорую руку собрать вайму из деревянных брусков сечением 5х5 см и металлических пластин с приваренными гайками «десятками».
Всего пользователь изготовил 3 таких ваймы, этого хватило для склейки щита из дерева размером 1.5х1.7 м и толщиной 18 мм. Чтобы бруски не приклеились к заготовке, под те места, где есть шов, и возможно выступание клея, можно подложить газету или пристрелить степлером полиэтилен.
Чтобы не испортить заготовку, под пластину, в которую упирается винт, нужно подложить прокладку. Ширина склейки регулируется перемещением упорного бруска.
Самодельные приспособления по дереву постоянно совершенствуются. Более продвинутый вариант ваймы, изготовленной полностью из металла, предлагает Alano. Узлы и принцип работы приспособления наглядно демонстрируют следующие фотографии.
Для изготовления такой ваймы нужен сварочный аппарат.
На FORUMHOUSE вы найдете другие разработки и даже чертежи самодельных приспособлений .
Циклон для столярной мастерской на базе пылесоса
И в завершении материала предлагаем нашим читателям фотоподборку самодельных циклонов, являющихся необходимым устройством при столярных работах.
Вариант 1
Мой первый циклон вышел из строя, и я решил изготовить новый. На всё про всё ушло 20 минут. Чтобы его сделать, я взял использованное ведро из-под шпаклевки и соединяющие фитинги для полиэтиленовых труб. Они и держаться лучше, и закручиваются быстро, обеспечивая герметичность узла.
В качестве фильтрующего элемента использовался масляный фильтр от «Москвича».
Вот что получилось в итоге.
Вариант 2
А вот мой вариант строительного пылесоса с циклоном. Для прочности усилил ведро изнутри. Оказалось, что для моей шлифмашины отлично подходит сливной шланг от стиральных машин.
Подведя итоги, скажем: чтобы делать самодельные станки и инструменты высокого уровня, необходима способность посмотреть на всякий, казалось бы, ненужный домашний хлам из гаража и доски из столярной мастерской свежим взглядом. У настоящего мастера и хозяина всё должно идти в дело, а проявив выдумку и фантазию, можно значительно сократить расходы на покупку дорогостоящих «приспособ», требующихся для одноразовой или нечастой работы.
В теме на FORUMHOUSE можно ознакомиться с калейдоскопом идей наших пользователей, связанных с изготовлением самодельных станков. Также рекомендуем тему про доработку и восстановление ручных инструментов.
А в этом видео подробно рассказывается о выборе инструментов, необходимых для самостройщика.
3 Циклонный пылесос и пресс – полезные самоделки для любителя мастерить
В перечень самодельных станков и приспособлений обязательно должен входить пресс. Это прижимное устройство станет незаменимым помощником каждому любителю домашнего творчества. Для изготовления пресса потребуется гидравлический домкрат, металлическая станина-платформа и 4 профильные трубы. Две из них должны иметь сечение 4×4 см., а остальные – 6×6 см. Чтобы сделать пресс, берем две трубы с меньшим сечением и крепим их к основанию изделия. В самом верху между этими трубами привариваем еще одну трубу с большим сечением.

Циклонный пылесос и пресс
Оставшуюся трубу установите таким образом, чтобы она легко передвигалась по вмонтированным ранее направляющим. Сделанное таким образом приспособление работает по очень простому принципу. Чтобы соединить два изделия, их нужно положить на основание пресса и накрыть плотным фанерным листом. Трубу с установленным домкратом нужно опустить, после чего повернуть две короткие трубы. Сделав это нехитрое движение, вы надежно соедините два поставленных ранее изделия.
Второй прибор – циклонный пылесос, он поможет вам всегда держать ваш гараж в идеальной чистоте. Для его изготовления подготовьте пластиковую или металлическую емкость. Важный нюанс – крышка сосуда должна герметично закрываться. Далее в крышке проделываем 2 небольших отверстия. Первое должно располагаться в центре, а второе – недалеко от края. Диаметры отверстия и сечения применяемых вами шлангов должны быть одинаковыми. Подключаем трубы к отверстиям. Первая будет служить для сбора мусора, а при помощи второй вы будете подключать обычный пылесос
Во входной патрубок установите пластиковое колено. При помощи него воздух будет всасываться устройством, наподобие циклона. Благодаря наличию этого колена пылесос сможет втягивать не только пыль, но и мелкие камни, опилки, комки грязи и другой мелкий мусор. Все это останется в емкости, к которой вы подключали шланги. При желании вы можете не оснащать пылесос коленом. Но в таком случае вы не сможете убирать мусор, а только пыль. В таком устройстве целесообразнее всего использовать пластиковую емкость и неширокие шланги. Если вам необходимо более мощное устройство, то стоит делать пылесос из крупных шлангов, колена и стальной емкости.
Шкив для регулировки скорости и нагрузки на двигатель станка

- металла;
- текстолита;
- фанеры (что-то среднее между деревом и металлом).
В фанере лобзиком выпиливается один небольшой и два большего размера круга. Центр форм должен соответствовать диаметру вала. Чтобы проблем с дальнейшими манипуляциями не было, круги склеиваются или садятся на винт и затягиваются гайкой.
Детали полезного приспособления стягиваются шурупами. Затем шкив следует обработать наждачной бумагой либо напильником, насадив конструкцию на патрон дрели. Готовый фрагмент станка можно дополнительно проолифить.
- Избегайте вибрации, следите, чтобы центр тяжести приходился на ось вращения.
- Можно изготовить шкив зубчатый. У центрального круга проделываются небольшие канальца до всех этапов сборки.
- При необходимости небольшой шкив изготавливается из толстого куска фанеры (один круг). В форме делается канавка, деталь насаживается на винт. К вращающемуся кругу прикладывается узкий напильник.
https://youtube.com/watch?v=2fOF-r3MKUA
Подставки и миниэстакады в гараже
Домкрат – штатный инструмент в комплектации автомобиля, но проводить даже незначительные работы под днищем автомобиля, когда он вывешен на домкрате, категорически запрещается. А иногда необходимо приподнять целиком его переднюю или заднюю часть.
Без подставок-козликов в этом случае не обойтись.
Иногда подставки выполняются в виде миниэстакад, на которые автомобиль наезжает.
Кроме общих требований, перечисленных ниже, важным элементом таких подставок является ограничитель хода спереди конструкции.
Не столь важно из чего они будут сделаны, но требования одни:
- устойчивая широкая опора;
- запас прочности для расчетного веса автомобиля;
- минимальные зазоры между подвижными элементами для регулируемых по высоте подставок.
На видео – простейшие подставки с заездом:
Но в данном случае мы бы рекомендовали увеличить опорную базу.
Самодельный циркулярный пильный станок
Отрезной станок из болгарки, сделанный своими руками, не уступает некоторым образцам заводского изготовления. Болгарка представляет собой довольно мощную ручную циркулярную пилу.
Станок на основе болгарки выполняет точные резы пиломатериалов и металлопрофиля. Для его изготовления понадобится сам электроинструмент, сварочный аппарат и металлопрофиль.
Пошаговая инструкция сборки станка
- К отрезку трубы приваривают две металлические планки, в которых просверливают монтажные отверстия.
- Соответственно, в кожухе болгарки тоже делают два отверстия.
- Планки прикручивают болтами к кожуху.
- Делают станину станка из металлического листа с приваренными снизу опорными уголками.
- Сваркой крепят к станине вертикальный отрезок уголка, в котором просверливают отверстие.
- К нижнему концу рычага приваривают отрезок уголка и просверливают вместе с трубой насквозь.
- Болт продевают через отверстия и гайкой затягивают шарнирное соединение вертикальной стойки с рычагом. Дополнительно устанавливают контргайку.
- В вертикальном положении рычаг болгарки принимает устойчивое положение.
- В месте соприкосновения пильного диска со станиной делают пропил, чтобы диск мог полностью разрезать заготовку.
- Ручку электроинструмента переставляют на конец рычага.
- В качестве дополнительных приспособлений, на станине устанавливают поперечный и угловой упор.
При необходимости электроинструмент снимают со станка и используют циркулярную пилу в ручном режиме.
Самодельная лучковая пила
Лучковая пила удобный инструмент для распиловки стволов деревьев и пиломатериалов. Конструкция пилы простая, сделать ручной инструмент своими руками несложно. Для этого нужно приготовить инструменты и материалы:
Инструменты
- дрель;
- пила-ножовка;
- стамеска;
- молоток;
- нож.
Материалы
- шнур;
- деревянная рейка 20 х 40 мм;
- шплинты – 2 шт.;
- черенок ø 10 мм;
- пильное полотно;
- морилка;
- лак по дереву.
Пошаговая инструкция по изготовлению лучковой пилы
- Рейку распиливают на три части (две вертикальные боковые планки и среднюю горизонтальную планку).
- В боковых ручках стамеской делают пазы.
- На концах средника стамеской вырезают выступы под пазы.
- Средник соединяют с боковыми ручками.
- В местах соединений просверливают сквозные отверстия. В них забивают деревянные шплинты.
- Шплинты образуют шарнирные соединения. Это нужно для подвижности нижних концов боковых реек при натяжении полотна.
- В нижних концах боковин делают пропилы – параллельно среднику.
- В отверстия пильного полотна вставляют короткие болтики и затягивают их гайками.
- Полотно заводят в пропилы таким образом, чтобы болты оказались снаружи конструкции.
- На верхних концах ручек вырезают круговые канавки.
- На концах двойного шнура делают петли, которые одевают на канавки.
- Между тетивами шнура вставляют черенок, длинный конец которого упирается в средник.
- Тетиву пилы закручивают с помощью черенка, добиваясь нужной степени натяжения пильного полотна.
- Древесину покрывают морилкой и двумя слоями лака.
- После высыхания лака пила готова к работе.
Станок и сверло
Сделанный самостоятельно станок справится с разнообразными отверстиями, ведь не все материалы поддаются ручному сверлу. А качество отверстий, высверленных на приспособлении, будет на уровне в случае правильного его сбора. Самый распространённый вид такого оборудования делают с использованием электродрели, которая и является основной его частью. Её закрепляют на станине с определённой возможностью перемещения по вертикали.
Кроме дрели в готовый станок входят:
- Струбцины — металлическое основание, фиксирующее и удерживающее заготовку.
- Дрель закрепляется в стойке, которую делают из ДСП, можно использовать основание от фотоувеличителя.
- Механизм, подающий режущий инструмент. На стойке устанавливаются рейки, направляющие дрель в строго вертикальное движение. Способ подачи инструмента — рычаг для ручного управления и пружины. Глубину контролируют специальные упоры.
Весит дрель немного, поэтому использовать металл для изготовления сверлильного станка необязательно. Но станину делают тяжёлой и массивной, чтобы при работе станка не было дополнительной вибрации.
Тяжёлый пресс
Такое самодельное приспособление в гараже — мечта любого автомобилиста. С его помощью обрабатывают разнообразные изделия и материалы, принцип действия в силе давления. Оборудование такого типа состоит из цилиндров, на нём обрабатывают рихтовкой изогнутые или мятые детали, а также соединения элементов. На прессе можно гнуть листовой металл или спрессовывать плотный картон. Для домашнего использования достаточно небольшой производительности. В качестве основного элемента конструкции используется маленькая хитрость — используют бутылочный домкрат с насосом.
Защита лампы освещения
Для комфортной работы должен быть достаточный уровень освещения. Но, учитывая назначение гаража, есть высокий риск повреждения лампы. Поэтому в полезные гаражные самоделки стоит обязательно включить специальные защитные плафоны. Сделать их можно самостоятельно из обычной пластиковой бутылки.

Конструкция делается достаточно просто:
- Вырежьте в бутылке окно под лампу. Обычно достаточно размера примерно в четверть бутылки.
- Срежьте горлышко таким образом, чтобы в него свободно входила лампа. При этом патрон должен находиться снаружи, обеспечивая неподвижность лампы в бутылке.
- Прикрепите бутылку с лампой к поверхности. Можно применить и штатные крепления от патрона, исходя из его типа.

Рекомендации по разграничению пространства
Гараж – пространство многофункциональное. Чтобы грамотно его разграничить, определите рабочие зоны. Так вы сможете понять, хватит ли вам площади для размещения всего необходимого. Лучше заранее разобрать вещи, накопившиеся в нем и выкинуть всё ненужное.
Естественно, немыслим гараж без зоны мастерской. Верстак, поставленный у дальней стены, пригодится и в ремонте, и для занятия хобби. На полочке прямо над рабочим местом поместите инструменты и готовые поделки.
Метизы, дюбели и другие мелочи удобно хранить в прозрачных баночках, приклеенных крышкой к полке. Ещё одна маленькая хитрость – магнитная полоса, наклеенная на мебель, поможет здорово сэкономить место.
Самодельный удлинитель с двумя розетками
«Фирменная» катушка для удлинителя делается из двух фанерных дисков, которые скреплены болтами. Фрагменты разделены дюралевой трубкой и шайбами.
На одной стороне катушки болты утапливаются, чтобы контакт с рукояткой был без травм. На другой стороне на определенном расстоянии просверливаются два отверстия для розеток. Коробки для розеток крепятся на шурупы.
Правильное хранение и эксплуатация инструмента

Каждая труба крепится с фанерной пластиной саморезами через щель. Чтобы фрагмент трубы не расшатывался во время эксплуатации, под бока держателя приклеиваются куски штапиков клеем ПВА.
Когда необходимо повесить держатель на стене гаража, ручка вставляется в трубку держателя. Стойка рукоятки плотно входит в щель и фиксируется. С такой доукомплектацией катушка крепится на потолке либо на днище полок.
Чтобы баран удлинителя легко вращался, на краю диска прибора монтируется маленькая рукоятка, которая состоит из трубчатых отрезков различного диаметра. Труба большего диаметра надета на меньший шланг и жестко зафиксирована плоским шурупом.
Как правильно хранить шины?
Сезонный комплект шин – предмет не только объёмный и громоздкий, но и требующий специальных условий хранения. Комплекты шин с дисками и без хранят по-разному. Шины на дисках лучше подвесить. При этом специальные крючки для шин покупать необязательно. Можно собрать подвесы из подручных материалов.
Место для хранения «лежачих» или «стоячих» шин можно оборудовать под потолком или на одной из полок стеллажа или под его нижней полкой. Потолочный стеллаж для шин можно собрать из профилей и уголков – понадобится лишь дрель и «болгарка», а при наличии сварочного аппарата его можно сварить.


Самодельные приспособления по дереву для домашней мастерской

Самодельный фрезерный станок
Фрезерные станки, изготовленные в домашних условиях, могут выполнять одну или несколько операций. Предпочтение, конечно же, отдается многофункциональным приспособлениям, позволяющим сэкономить место в гаражной мастерской. С их помощью можно: • выполнить углубления определенной формы; • просверлить отверстия • сделать пазы; • обработать заготовки. Простейший фрезерный станок можно изготовить на основе дрели. Для этого ее закрепляют на стальной профиль или в фанерный корпус, а напротив нее располагают вращающийся зажим. Обработка деталей выполняется с помощью специальных резцов, удерживаемых руками.

Самодельный токарный станок
Создание своими руками токарного станка позволяет изготавливать из деревянных заготовок посуду, интерьерный декор и мебель. Такое устройство станет доступной альтернативой промышленным млделям, и поможет реализовать свой творческий потенциал. Самодельный токарный станок можно сделать из отдельных узлов и деталей:
- электромотора, используемого в качестве электропривода станка;
- передней бабки, в качестве которой может выступать электроточило;
- задней бабки, сделанной из дрели;
- упора для резцов;
- поперечных направляющих;
- станины, сделанной из металлопрофиля или балок.
Передняя и задняя бабки токарного станка являются основными рабочими элементами, между которыми размещается деревянная заготовка. Вращающееся движение от электродвижка передается на заготовку через переднюю бабку, задняя же остается статичной, отвечая за удержание заготовки. Если оборудовать самодельный токарный станок дополнительными приспособлениями – балясиной, трезубцем, копиром и другими, то его функциональность значительно увеличится.
Видео ниже демонстрирует, ка изготовить токарный станок своими руками.

Самодельный сверлильный станок
При необходимости высверлить точные отверстия в металлических, пластиковых или деревянных деталях, опытные мастера рекомендуют использовать сверлильный станок. В отличие от дрели, которая сильно вибрирует в процессе работы, такое устройство обеспечивает качественный результат, независимо от материала и толщины заготовки. Сделать простой сверлильный станок можно самостоятельно, использовав ту же домашнюю дрель, но установив ее в вертикальном положении на станину из мебельной плиты и прикрепив к металлической стойке. При необходимости такой станок можно оснастить асинхронным двигателем.
Как правило, домашние умельцы не останавливаются на изготовлении самых станков. Очень часто они работают над усовершенствованием уже имеющегося оборудования.
Видео, представленное ниже, демонстрирует полезные приспособления для токарного станка, расширяющие его функционал.

























































