1 Какое назначение угольных фильтров?
Угольные фильтры для очистки воды являются одним из средств, которые просто необходимы для использования. Например, в системе водоподготовки при автономном водоснабжении. Особенно для тех, кто постоянно испытывает проблемы с качеством конечного продукта.
Принцип работы данного фильтра достаточно прост. В качестве рабочего вещества, которое выполняет очистные функции, используется активированный уголь.
Активированный уголь производится из древесины деревьев лиственных пород или скорлупы кокосовых орехов. Рабочее вещество подвергается термической обработке, а затем – происходит вскрытие пор по различным технологиям – что и называется активацией.
Получившееся в результате вещество обладает свойствами сорбента, то есть – способно задерживать, благодаря пористой структуре, примеси, пропуская через себя воду.
В дальнейшем оно в различных объёмах компонуется в картриджи или колбы, используемые в системах фильтрации. Для обработки больших объёмов воды также используются фильтры баллонного типа, иногда допускающие не замену сорбента, а его промывание и очистку.
Более того, существуют даже само восстанавливающиеся фильтры, которые устанавливают попарно. Их можно менять по мере надобности и использовать очень длительное время.
Популярные фильтры с угольным наполнением.
Основной задачей водного фильтра является избавление проходящей через его воды от различных вредных примесей. Угольный фильтр предназначен для:
- Избавления воды от неприятного запаха или вкуса, а также – неестественного цвета;
- Удержания органических составляющих (в том числе — микроорганизмов);
- Удаления из воды последствий хлорирования и дезинфицирующих составов.
Теперь рассмотрим основные характеристики фильтров. Так как они имеют довольно серьезное значение.
На качество работы вещества влияют различные его характеристики:
- Размер пор. Он зависит от того, какой материал использовали при создании активированного угля. В бытовых системах очистки воды часто применяется именно активированный уголь на основе скорлупы кокосового ореха, так как он имеет большой процент микропор – пор маленького размера;
- Размер гранул. Вещество с очень маленьким размером гранул гораздо лучше фильтрует воду, так как от этого свойства зависит рабочая площадь сорбента;
- Химическая твёрдость. В процессе прохождения через активированный уголь воды происходит его постепенное вымывание – большая твёрдость позволяет противостоять данному процессу.
Активированный уголь, благодаря таким свойствам, находит своё применения для бытовой и промышленной очистки воды, а также – как очистной элемент вытяжек (для фильтрации воздуха, кроме всего прочего, применяется и в противогазах) или медицинский препарат.
Также активированный уголь применяют в системах снабжения разного типа, в качестве абсорбента в кухонных приборах и т.д. Его сфера применения очень широка.
Известен он и в медицине. Хотя там используют уголь, что активируют по особенной технологии.
Принцип действия фильтра
Принципом действия данного типа фильтра является процесс адсорбции, в основе которого притягивание частиц к сорбирующей поверхности осуществляется с помощью сил со слабым взаимодействием. Также процесс хемосорбции, при котором некоторые загрязнители реагируют с наполнителями углеродного типа.
Внимание! Фильтры с засыпными наполнителями регенирируют с помощью промывки. Если восстанавливать фильтр в течение четырех раз, его активность не снижается
Если восстанавливать фильтр в течение четырех раз, его активность не снижается.
Применение сорбента на протяжении длительного периода не рекомендуют.
Чтобы полностью восстановить продуктивность, проводят активацию. В домашних условиях выполнить это нельзя.
Внимание! В некоторых случаях наполнители не подлежат восстановлению, их утилизируют с налипшими на них грязевыми отложениями. Когда целесообразно применять фильтры на основе угля:
Когда целесообразно применять фильтры на основе угля:
1.чтобы обесцветить загрязненную воду.
2.удалить запах с привкусом.
3.чтобы извлечь органические соединения.
4.выделить примеси биологического характера.
5.чтобы зафиксировать на поверхности материала продукты хлорирования, то есть после дезинфекции водопроводных труб.
Уголь удаляет многие виды загрязнителей. Они могут не справиться с жидкостью, содержащей высокий уровень концентрации соли жесткости, большой объем примесей. В данной ситуации вместе с фильтрами следует устанавливать специальные модули очистки.
В отличие от механических очистителей фильтры с углем очень эффективны, но они уступают системам на основе обратного осмоса, ультрафильтрации.
Что такое угольный фильтр
В основу работы угля в качестве фильтрующего элемента положены его сорбционные качества — способность поглощения из воды различных компонентов благодаря пористой структуре. По характеру связывания веществ, находящихся в водной среде (сорбатов), активированный уголь относится к адсорбентам — веществам, концентрирующим сорбат на поверхности раздела фаз (границе между твердой поверхностью угольных частиц и жидкостью) или впитывающим его своим поверхностным слоем. То есть уголь отличается от материалов, поглощающих различные вещества из водной среды и распределяющих их по всему объему (данный эффект называют абсорбцией).
Благодаря адсорбционным качествам угля, то есть концентрации им вредных веществ на поверхности, становится понятен принцип работы многих угольных фильтров, в которых используется технология периодической очистки и восстановления исходного состояния загрязненного углесодержащего наполнителя промывкой сильным обратным потоком воды.
В отличие от технологии древних и самостоятельно изготавливаемых фильтров с углем, в современных устройствах для водоочистки используется активированный уголь — пористый компонент, получаемый методом специальной обработки углесодержащих материалов: древесного, каменного угля, кокса от нефтепереработки, скорлупы кокосов. После обработки материал получает огромное число пор, площадь его поверхности возрастает в такой же пропорции. В зависимости от техпроцесса активации угля 1 грамм вещества имеет площадь от 500 до 2200 квадратных метров — это значительно повышает его адсорбционные качества в сравнении с обычным необработанным угольным материалом.
Помимо процесса адсорбции, благодаря которому уголь удаляет из воды загрязняющие ее компоненты, при его взаимодействии с некоторыми веществами происходит химическая реакция — каталитическое окисление.
В результате такой окислительной реакции свободный хлор превращается в соляную кислоту, которая затем нейтрализуется бикарбонатной щелочностью воды. Рассмотренный процесс ликвидации хлора называют дехлорированием, при этом активированный уголь не разлагается и не расходуется.
Таким образом, содержащиеся в воде сильные окислители хлор и хлорамин, попадая в среду активированного угля, удаляются из нее за счет каталитического окисления, а другие органические и неорганические компоненты поглощаются при срабатывании механизма адсорбции.
Степень очистки воды различными методами фильтрации
Где применяются угольные фильтры: назначение

Этот метод является настолько эффективным и доступным, что его применяют практически на всех возможных этапах водоочистки. В том числе:
- Очистка сточных вод. Отработанный водный ресурс (промышленные отходы, ливневая и бытовая канализация) требует предварительной фильтрации. Это необходимо для того, чтобы убрать все синтетические загрязнения, масляные включения, мусор, органические вещества. Если этого не сделать, такая жидкость может стать источником бактериальной опасности как для человека в частности, так и для всей экологии.
- Водоподготовка. Перед тем как попасть в наши квартиры, влага проходит многоступенчатую очистку, в том числе сорбционную. Особенно это необходимо, если источник – не артезианская скважина, а открытый водоем, поскольку в нем активно размножаются патогенные микроорганизмы.
- Бытовое применение. Обычные пользователи покупают либо фильтры-кувшины, либо магистральные установки (под раковину), в основе которых сменные картриджи с активированным углем. Они очень эффективно позволяют убрать следы хлора, которым проводят обеззараживание.
- При использовании систем обратного осмоса. Угольные картриджи ставят как на входе (перед мембраной), таки на выходе рабочей среды.
- Промышленные и полупромышленные крупные установки для фильтрации воды из скважины. Это емкости с возможностью наполнить их засыпным сорбентом.
Виды, устройство и принцип работы
Процесс адсорбции означает поглощение слоем твердого тела растворенных веществ. Скорость процедуры зависит от структуры сорбента, количества посторонних примесей и температуры. Распространенный вариант наполнителя для фильтров – активированный уголь. Его получают из древесины, скорлупы коксовых орехов, торфа. Также в качестве поглотителя применяются алюмосиликаты. Сорбент эффективен при необходимости поглощения примесей тяжелых металлов.
Бытовые фильтры для водопровода выпускают в нескольких вариантах:
- стационарные;
- насадка на кран;
- картридж для кувшина;
- настольный.
Устройства различаются производительностью, степенью очистки и ресурсом очищающей засыпки.

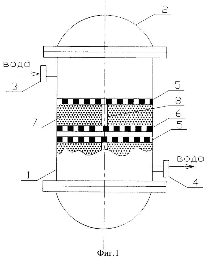
Сорбционный фильтр очистки ливневых стоков
Блоки для глубокой очистки сточных вод представляют собой цилиндр из стеклопластика, внутри которого находится засыпка. В качестве сорбента используют:
- активированный уголь (каменный, древесный, кокосовый);
- цеолит;
- алюмосиликаты.
Конструкция включают обвязку из подающего и отводящего трубопровода. Установки классифицируются по нескольким характеристикам:
- направление фильтрации: прямоточное, смещенное, противоточное;
- тип процесса: непрерывный или периодический;
- режим гидродинамики: смешения, вытеснения, смешанный;
- состояние сорбента: подвижное, неподвижное;
- взаимодействие фаз: непрерывное или ступенчатое.
Конструкция фильтра бывает колонная или емкостная.
Принцип работы:
- Очистка в отстойнике, избавление от песка и нефтепродуктов.
- Стоки проходят через плотные слои загрузки, обычно активированного угля.
- Очищенная вода выводится через патрубок.
Какой фильтр для воды выбрать
Изучив информацию о фильтрах, можно решить, какой вариант подойдет и вам. И здесь придется ориентироваться даже не на саму модель, а на то, какого качества у вас вода в доме. Для этого придется везти пробы жидкости в лабораторию, чтобы ее проанализировали и изучили. Пробу можно взять самим, набрав воду в чистую пластиковую бутылку. Останется только отвезти ее в лабораторию. Воду обязательно проверят примерно по 30 пунктам и сообщат, что в ней содержится. Опаснее всего, если в воде есть радиация. На основе письменного заключения можно и выбирать фильтр, ориентируясь на показатели.
Ржавые трубы — источник опасных примесей
При наличии избытка железа или хлора, но при входящем в рамки уровне жесткости стоит приобрести элементы для механической очистки, для устранения примесей железа, а также элемент фильтрации с углем. Подойдет даже обычный проточный вариант. Если вода в доме жесткая, то лучше дополнительно взять и тот картридж, который будет ее смягчать — так можно защитить чайник от накипи. Чтобы максимально обезопасить себя от болезнетворных микроорганизмов, стоит выбрать систему обратного осмоса или ультрафиолетовый картридж.
Также при выборе фильтра нужно учесть и расходы воды. В день здоровый человек потребляет примерно 2 литра. Добавьте также примерно 1 л, который мы получаем вместе с супом, кофе или чаем. То есть суточная норма на одного человека составляет 3 литра. Исходя из этого посчитайте, сколько расходуется в день воды всеми членами семьи. На основе этого и выбирайте производительность фильтра и его ресурс.
Обязательно учтите свой бюджет при выборе, а также посмотрите, есть ли у вас под мойкой место для установки фильтрации. Эти критерии могут повлиять на выбор модели. Обязательно посмотрите выбранный вариант — внешне он должен быть прочным, надежным, выполненным из хорошего пластика. Все детали должны быть хорошо подогнаны друг к другу. Все расходники на устройство должны быть доступны в магазинах. А для выбранной модели также должны быть в наличии у продавца и все сертификаты. Да и на производителя тоже стоит посмотреть и выбрать тот фильтр, который был сделан надежным.
Фильтрация с помощью угля: что это такое
Это устройство, в основе которого пористое вещество черного цвета – углерод с небольшой примесью золы. Оно отличается повышенной пористостью, что придает ему свойства сорбента, то есть дает возможность избирательно поглощать растворенные взвеси из жидкости. Активный материал изготавливается из натурального сырья – некоторых пород древесины, скорлупы кокосового ореха.
В ходе водоподготовки рабочая водная среда проходит сквозь однослойный или многослойный картридж с сыпучим активированным углем. Нежелательные вещества остаются в толще сорбента, в то время как очищенная влага выходит наружу.
От чего очищает угольный фильтр для воды
С помощью бытовых и промышленных установок можно эффективно решить следующие задачи водоочистки:
- убрать посторонний вкус – некоторые примеси могут делать жидкость сладковатой или солоноватой;
- избавиться от аромата – например, сероводород дает ресурсу запах тухлых яиц;
- обесцвечивать – в нормальном состоянии водный раствор должен быть полностью прозрачным, не мутным;
- справиться со ржавчиной, которая часто образуется внутри старых металлических труб водопровода;
- убрать всю органику – это опасные для здоровья микроорганизмы, а также продукты их распада и жизнедеятельности, которые оседают в виде ила;
- очистить жидкость от примесей гипохлорита натрия, который чаще всего используется на крупных коммунальных станциях водоподготовки в качестве дезинфицирующего средства.
Производители и модели сорбционных фильтров
Промышленные водоочистительные фильтры предприятия ТЭКО-Фильтр
Блоки для очищения стоков предлагают российские производители, их изделия отличаются исполнением и производительностью:
- Argel S – оборудование функционирует в безнапорном режиме. При прохождении стоков через сорбционную загрузку происходит удаление нефтепродуктов, тяжелых металлов, красителей, СПАВ. Модели для подземного монтажа комплектуются техническими колодцами.
- НПО «Промышленная водоочистка»: СПП-ФС 1-10 – блок вертикального исполнения с максимальной производительностью 10л/с, СПК-ФС – горизонтальная модель с производительностью до 100 л/с. Загрузка меняется 1 раз в 3-7 лет.
- Компания «Тэко-фильтр» производит фильтры сорбционные с угольной засыпкой ФСУ. Они представляют собой металлический цилиндр с обвязкой трубопровода и распределительными устройствами. Используется для обработки ливневых вод, доочистки промышленных стоков и питьевой воды.
Принцип работы и чем он лучше обычного
Работа угольных фильтров основана на притягивании примесей к поверхности сорбента силами слабого взаимодействия (адсорбции), реагировании некоторых загрязнителей с углеродными наполнителями (хемосорбции).
Качественный активированный уголь проявляет следующие свойства:
- Активно связывает чужеродные вещества, не реагирует на молекулы воды;
- Легко смачивается водой, не разрушаясь при этом;
- Не инициирует реакции окисления, осмоления примесей;
- Имеет поры с размерами от 0,8 до 5 нм, что позволяет проникать органическим загрязнителям (нефтепродуктам, пестицидам, ПАВам);
- Имеет большую емкость при кратковременном взаимодействии с водой.
Засыпные наполнители фильтров подлежат регенерации промывкой. После немногочисленных восстановлений (до 4 раз) активность углей не уменьшается.
Длительное использование сорбента не рекомендуется.
Для полного восстановления нужно проводить активацию. Сделать это дома практически невозможно.
Важно. Некоторые наполнители можно только утилизировать вместе с накопившимися на них примесями из воды
Угольные фильтры используются для достижения следующих целей:
- Обесцвечивания загрязненной воды;
- Удаления неприятного запаха и привкуса;
- Извлечения органических соединений;
- Выделения из водной среды биологических примесей;
- Закрепления на пористой поверхности продуктов дезинфицирования (хлорирования) водопроводов.
Материалы из углей успешно справляются со всеми обычными загрязнителями. Их характеристик может оказаться недостаточно для очистки воды с повышенным уровнем примесей, содержащих большие концентрации солей жесткости. В таких ситуациях помимо угольных фильтров нужно устанавливать дополнительные очистные модули.
Угольные фильтры, более эффективны, чем какие-либо обычные механические очистители, но в меньше мере удаляют загрязнения, чем системы с обратным осмосом и ультрафильтрацией.
БАРЬЕР Гранд NEO

БАРЬЕР Гранд NEO
БАРЬЕР Гранд NEO
Объём резервуара в модели БАРЬЕР Гранд NEO составляет 4,2 л, что оптимально для большой семьи. Очищает при этом фильтр 2 л поступающей жидкости единовременно, по 300 мл в минуту. Ресурс входящего в комплект очищающего модуля 300 л предполагает замену каждые 1,5-2 месяца.
Индикатор ресурса кувшина механический, расположен на крышке устройства. Конструкция автоматически открывающейся при наклоне воронки спроектирована так, чтобы пыль и другие посторонние элементы не попали в очищенную жидкость.
Кассета крепится к воронке кувшина надёжно, на резьбу, что не даёт смешиваться неотфильтрованной и чистой воде. В качестве фильтра используется активированный уголь, который задерживает частицы металлов, химические примеси и неприятный запах хлора.
Модель нельзя назвать компактной, её размеры — 28x14x26 см, но место для кувшина найдётся даже на самой тесной кухне.
ПЛЮСЫ:
- тщательная фильтрация, качественное очищение жидкости
- крепкая ручка
- большой объём резервуара и ресурса эксплуатации очищающего модуля
- качественный пищевой пластик
МИНУСЫ:
- нельзя разместить на крышке холодильника
- тяжёлый в наполненном состоянии
- неудобный индикатор смены модуля очистки
ТОП-10 Лучших болгарок для дома и работы | Обзор популярных моделей на 125 и 180 мм +Отзывы
Назначение сорбционных фильтров

Угольные сорбционные фильтры для очистки воды
Установки для приведения параметров сточных и поверхностных вод до безопасных показателей используются при сбросе в открытые водоемы. Сорбционные фильтры с помощью гранулированной засыпки (сорбента) улавливают:
- минеральный осадок;
- растворенное железо;
- тяжелые металлы;
- остатки нефтепродуктов;
- фосфаты;
- аммонийный азот;
- органические загрязнения.
Модули с угольной засыпкой используются для качественного очищения жидкости из центрального водопровода и колодца. Они удаляют загрязнения, связывая их на молекулярном уровне. Исчезает неприятный привкус, цветность, соединения хлора, органика, мелкодисперсный осадок. Жидкость избавляется от всех видимых примесей, а также нитратов и железа.
Аквафор Ультра
Аквафор Ультра
Аквафор Ультра
Модель Аквафор Ультра оснащена крышкой с механизмом «флип-флоп», который защищает фильтрационную воронку от попадания посторонних элементов и открывается одной рукой. Объём кувшина – 2,5 л при вместимости воронки 1,1 л.
В качестве фильтрата используется активированный уголь, который абсорбирует токсины, хлорсодержащие и органические соединения, ржавчину и песок. Скорость фильтрации составляет 200 мл в минуту при общем ресурсе 300 л на 1 очищающий модуль (2 месяца непрерывного использования).
ПЛЮСЫ:
- качественный пищевой пластик
- к модели подходят другие картриджи производителя
- низкая цена
- удобная форма носика и эргономичный дизайн корпуса
МИНУСЫ:
- нет счётчика замены фильтрационного модуля
- крышка выполнена из некачественного пластика
- ненадёжное крепление картриджа к воронке
ТОП-20 Лучших средств для мытья посуды: полный обзор брендов с достоинствами и недостатками +Отзывы
Производители и модели сорбционных фильтров
Промышленные фильтры очистки воды от компании ТЕКО-Фильтр
Блоки для очистки сточных вод предлагаются российскими производителями, их продукция отличается конструкцией и исполнением:
- Аргель С – оборудование работает в безнапорном режиме. При прохождении сточных вод через сорбционную загрузку удаляются нефтепродукты, тяжелые металлы, красители и поверхностно-активные вещества. Модели для подземной установки дополняются техническими колодцами.
- НПО «Промышленная водоподготовка»: СПП-ФС 1-10 — вертикальная установка с максимальной производительностью 10 л/с, СПК-ФС — горизонтальная модель с производительностью до 100 л/с. Нагрузка меняется раз в 3-7 лет.
- Компания «Теко-Фильтр» производит сорбционные фильтры с угольным БСУ. Они представляют собой металлический цилиндр с трубами и фитингами. Применяется для очистки ливневых вод, доочистки промышленных стоков и питьевой воды.
Что такое финишная очистка воды?
Термин «финишная очистка» наиболее уместен для фильтров обратного осмоса, однако, встречается и в стандартных проточных конструкциях. Мы подразумеваем те ступени очистки, которые иметь не так обязательно, как грубую и тонкую фильтрацию, но весьма желательно. Опять же, в зависимости от условий в доме и изначального качества воды зависит и количество ступеней очистки. Если в доме дети, то не лишним будет приобрести фильтр обратного осмоса, а к нему, соответственно, лучше всего брать минерализатор.
Значение финишной очистки в системе фильтрации
Возьмем, к примеру, стандартный проточный фильтр, состоящий из трех ступеней очистки. Первая – механическая очистка воды, то есть очистка при помощи картриджа, состоящего из полипропилена. Задача первой ступени – лишить воду крупных механических примесей, таких, как ил, ржавчина и так далее. Затем следует вторая и третья ступени, которые чаще всего имеют угольное или сорбционное наполнение – очищают воду от хлора, взвешенных частиц, пестицидов, металлов. После этих ступеней, при своевременной замене компонентов фильтрации, вода уже пригодна для питья и кулинарных целей. Многие фильтры включают в себя и последующие ступени очистки, например, УФ-лампу или минеральный фильтр.
Причины установки дополнительных ступеней очистки:
- Вас не устраивает качество очищенной воды, то есть в ней присутствует неприятный запах, привкус или странный оттенок, а пища, приготовленная с помощью этой воды, получается не слишком вкусной;
- При тестировании водопроводной воды выяснилось, что она сильно загрязнена и требуется максимальная очистка, чтобы она стала пригодной к употреблению;
- Наличие детей в семье: к еде и воде, которую мы даем нашим детям, мы предъявляем повышенные требования. Для детского организма, конечно же, безопаснее будет полноценная очистка воды, например, фильтром обратного осмоса. Однако, тут возникает уже другой вопрос: стоит ли давать ребенку воду, лишенную не только вредных, но и полезных веществ, содержащихся в воде? Тут и приходит понимание необходимости приобретения минерализатора в комплекте с фильтром;
Важно понимать, что финишная очистка вещь далеко не обязательная и не необходимая, но нужно знать, в каких случаях все же стоит прибегнуть к покупке фильтров с дополнительными ступенями очистки
Xiaomi Mijia Water Filter Kettle

Xiaomi Mijia Water Filter Kettle
Xiaomi Mijia Water Filter Kettle
Все элементы модели Xiaomi Mijia Water Filter Kettle выполнены из качественного экологичного ABS-пластика. Фильтр ёмкостью 2 л (для чистой воды – 1 л) предназначен для очистки воды при температуре от 5 до 38 градусов, при этом 1 сорбционный механический фильтр рассчитан на прохождение всего 50 л жидкости.
Индикатор смены фильтра имеет вид LED-элемента, который показывает, сколько времени остаётся до истечения срока службы очищающего модуля. Размер кувшина – 15,2х22,9х25,7 см при весе всего 1 кг.
ПЛЮСЫ:
- стильный дизайн
- лёгкий, компактный
- удобный счётчик смены модуля очистки
- стильный дизайн и качественные материалы
МИНУСЫ:
- низкая скорость очищения поступающей жидкости (100 мл за 1 минуту)
- небольшой ресурс эксплуатации 1 картриджа
- высокая цена
Плюсы и минусы
Использование угольных фильтров имеет следующие достоинства и недостатки:
- При очистке углем воды от хлора автоматически происходит каталитическая химическая реакция, при этом практически не расходуется угольная фракция — данное свойство угля делает его незаменимым компонентом при дихлорировании воды.
- Хотя активированный уголь очищает воду от широкого ряда вредных примесей, он не может адсорбировать свинцовые, ртутные, кадмиевые, железистые соли тяжелых металлов в традиционных фильтрующих системах. Данный недостаток устранен в современных засыпках KDF с медью и цинком, которые пока не нашли широкого применения в картриджах для популярных кувшинов.
- Средний срок службы сменных кувшинных картриджей ограничен двумя месяцами, после чего теряется эффективность очистки и требуется его замена. Это приводит к финансовым расходам, которые для некоторых семей могут быть довольно существенными. В сорбционных фильтрах также приходится менять засыпку через 1 — 2 года, из-за ее большого объема расходы на покупку нового активированного угля могут ощутимо ударить по семейному бюджету.
Конструкция самодельных угольных фильтров
Фильтры из активированного угля относят к эффективным и бюджетным способам очистки воды от широкого ряда вредных примесей и особенно хлора. После прохождения через углесодержащую засыпку все ее органолептические показатели значительно улучшаются. Во многих системах очистки угольная фильтрация является дополнительным узлом предварительной или финишной очистки воды.
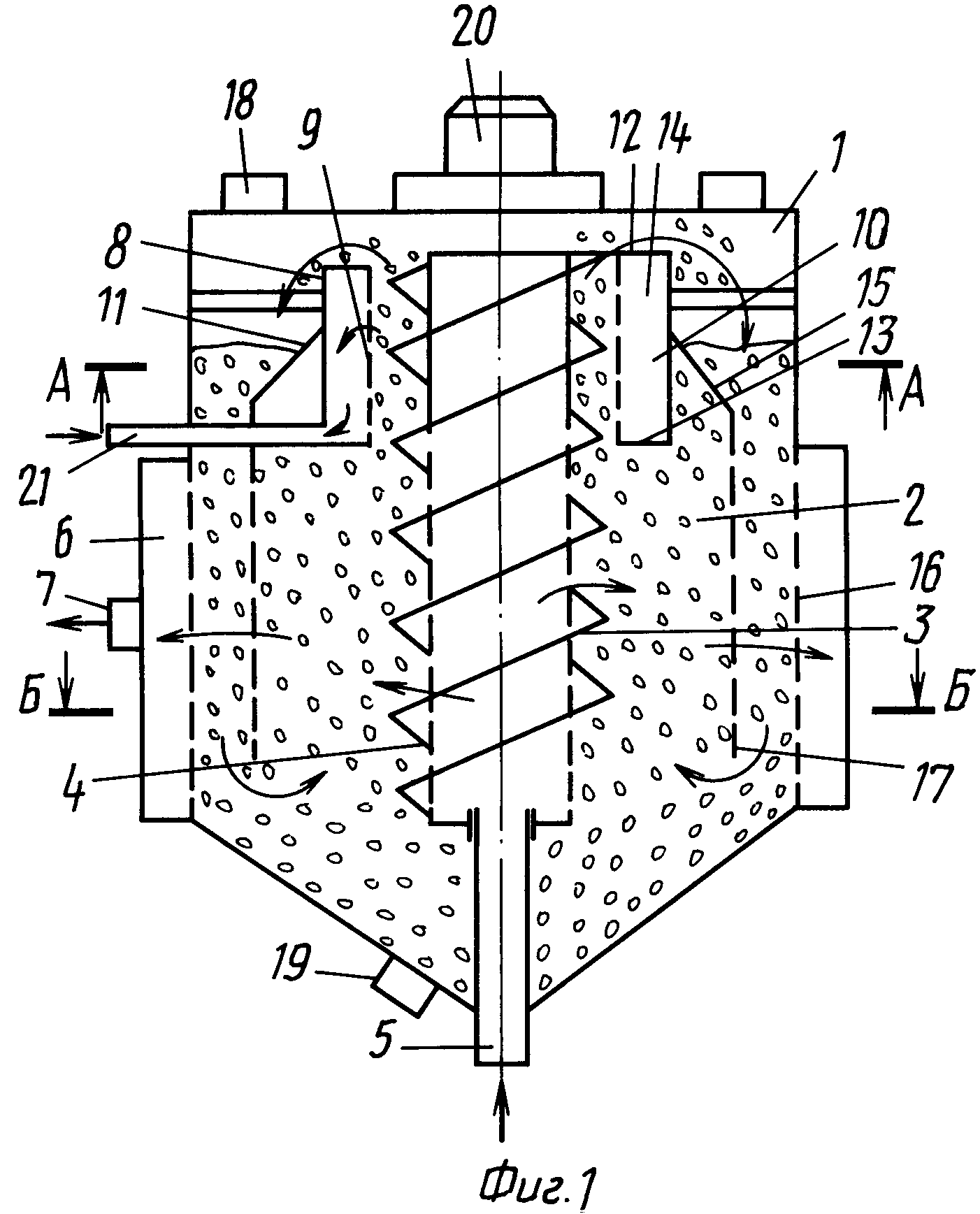
Описание технологической схемы работы сорбционного фильтра:
Сточные воды после предварительной очистки в отстойнике (пескоуловители, жироуловители, маслобензоотделители и ) подаются на тонкую доочистку в сорбционный блок, через входной патрубок и отводятся через глухую горизонтальную перегородку под перфорированный настил, обеспечивающий распределение и равномерный подъем стоков и прохождение их через сорбент (уголь, алюмосиликаты и проч.) для дальнейшего отведения в колодец забора проб, либо для сброса в грунт (водоем). Перфорированный настил изготавливается из стеклопластика и нержавеющей стали, что обеспечивает неограниченный срок эксплуатации сорбционного фильтра.
Важно! Сорбционный фильтр не может эксплуатироваться в качестве первичной очистной единицы. Установка отстойников перед подачей стоков в сорбционный блок обязательна!. Обслуживание сорбционного фильтра производится путем периодической смены сорбента – один раз в 3-7 лет, в зависимости от загруженности системы.При замене сорбента рекомендуется произвести полную очистку корпуса сорбционного фильтра
Обслуживание сорбционного фильтра производится путем периодической смены сорбента – один раз в 3-7 лет, в зависимости от загруженности системы.При замене сорбента рекомендуется произвести полную очистку корпуса сорбционного фильтра
Обслуживание сорбционного блока
- Исключить подачу стоков в сорбционный фильтр на время проведения работ;
- Откачать полностью воду из сорбционного блока;
- Извлечь отработанный сорбент;
- Поднять перфорированный настил и произвести очистку корпуса от осевших взвесей на дне сорбционного фильтра;
- Установить настил на место и засыпать новую партию сорбента;
- Залить сорбционный блок чистой водой.
В качестве загрузки в сорбционных фильтрах может использоваться угольный сорбент, алюмосиликатный или любой другой, по выбору Заказчика. Конструкция сорбционного фильтра серии СПП-ФС или СПК-ФС обеспечивает исключительно равномерный подъем поступающих на доочистку стоков через толщу сорбционной загрузки, гарантируя полноценную доочистку сточных вод, исключая свободное прохождение воды или неравномерную нагрузку на использующийся сорбент. Равномерное распределение поступающих в сорбционный фильтр стоков обеспечивает высокую степень очистки и длительный срок эксплуатации сорбента. При соблюдении условий общей нагрузки на очистные сооружения, сорбент подлежит замене один раз в 3-7 лет. Эксплуатационные расходы, таким образом, сводятся практически к нулю.
Оборудование сертифицировано в соответствии с законодательством РФСистема менеджмента в области качества сертифицирована по ГОСТ ISO 9001-2011
Рекомендации по правильному использованию сменного картриджа бытового фильтра-кувшина
Срок службы картриджа можно удлинить, если следовать следующим рекомендациям, относящимся ко всем без исключения сменным картриджам для фильтров кувшинного типа:
- Перед началом эксплуатации нового картриджа его необходимо замочить в холодной воде в течение 15-20 минут.
- Установить картридж в воронку фильтра и заполнить ее водой.
- Первые 2-3 порции отфильтрованной воды следует вылить в раковину или использовать для полива цветов, так как в ней может находиться угольная пыль.
Помните, лучше вообще не очищать фильтром воду, чем пользоваться картриджем с выработанным ресурсом. Не забывайте менять его хотя бы 1 раз в 2-3 месяца.
Картридж должен всегда находиться в контакте с водой, то есть всегда быть мокрым. Только в этом случае ионообменная смола гарантированно обеспечит высокое качество очистки воды. У высохшей смолы очищающая способность существенно ниже. Поэтому, если картридж по какой-либо причине высох, надо повторить все те операции, которые делались при подготовке к работе нового картриджа. Если планируется перерыв в пользовании кувшином в 3-4 недели, то лучше всего извлечь картридж из фильтра и положить его в полиэтиленовом пакете в холодильник. Для продолжения пользования нужно снова замочить его в холодной воде в течение 15 мин, вставить в вымытый фильтр, пропустить через него 1-2 порции воды. После этого можно пользоваться фильтром как обычно.
Использовать кувшинные фильтры для фильтрации горячей воды ни в коем случае нельзя!





































