Латунные вентили
Вентили из латуни зачастую устанавливаются на трубопроводы для запирания или регулирования перемещения по ним воды. Положение при его установке может быть любым, а в качестве материала для изготовления деталей корпуса используется латунь ЛЦ40Сд.
Латунный вентиль – это запорное устройство, которое путем перемещения запорного органа способно надежно перекрыть движение любой жидкой рабочей среды. Изделие имеет в своей конструкции шпиндель, представляющий собой подвижный механизм, вкручивающийся в гаечную резьбу. Наличие резьбы позволяет останавливать запорный орган в любом необходимом положении. При этом данное положение будет устойчивым и постоянным, так что даже достаточно сильное давление не способно его изменить.
Особенности устройства
Шаровые краны открываются и закрываются поворотом ручки вправо-влево. В устройстве смесительного типа это может выполняться движением вверх-вниз. Такие конструкции не содержат множество движущихся поворотных деталей, что обеспечивает минимальный риск возникновения протечки.
В промышленном производстве с успехом используются фланцевые шаровые вентили. Они настолько надёжны, что могут устанавливаться на ответственном оборудовании, например, в нефтедобывающей отрасли. А муфтовый водопроводный шаровой кран применяется и в отопительной системе ЖКХ для транспортировки горячей воды. Но с одной оговоркой: в теплоносителе недопустимо наличие абразивных частиц.
Самая простая конструкция характерна бытовым шаровым кранам для холодной воды. Диаметр отверстия в шаре полнопроходного устройства должен быть примерно равен сечению трубы. Отопительные системы нуждаются в использовании специального приспособления для удаления из них воздуха. С этой целью устанавливаются так называемые краны Маевского, оснащённые клапаном. Ручка, вращающая шаровое устройство, в них бывает двойной («баттерфляй») либо имеет вид одинарного рычага.
На рынке также можно найти водопроводные шаровые вентили, с помощью которых монтируется бытовая техника типа посудомоечных машин. Их отвод оснащён фильтром. Такое техническое решение предотвращает попадание абразивных частиц внутрь дорогого импортного оборудования, рассчитанного на воду с высокой степенью очистки.

Вентили шарового типа устанавливают для перекрытия подачи воды в стиральные, посудомоечные машины, бойлеры
Нельзя обойти вниманием и современные водопроводные финские смесители. Их шаровоймеханизм обеспечивает регулировку силы напора и температуру воды одним простым движением. Удобство достигается за счёт более сложного внутреннего устройства
Хоть стоят они дороже, многие наши соотечественники отдают предпочтение именно им
Удобство достигается за счёт более сложного внутреннего устройства. Хоть стоят они дороже, многие наши соотечественники отдают предпочтение именно им.
Соединение устройств с трубами
Вентили по способу монтажа подразделяются на два вида:
- Муфтовые и резьбовые. Главный соединительный элемент при таком способе соединения – это резьба. Она может быть внутренней и внешней на вентиле (в народе называют «мама-папа»). Арматура такого типа устанавливается в трубопроводы с давлением не более 1,6 Мпа.
- Фланцевые. На торцевых частях патрубков имеются фланцы, при помощи которых осуществляется соединение чугунных или стальных изделий. Монтаж таких устройств осуществляется на магистральных и промышленных трубопроводах, в которых давление воды превышает 10 МПа.
Пластиковые вентили соединяются с трубопроводами посредством специальной сварки. Зная особенности рассматриваемых устройств, можно подобрать оптимальный вариант для соответствующего монтажа. В последнее время широкой популярностью пользуются шаровые вентили, которые имеют высокий срок службы, несмотря на отсутствие возможности проведения их ремонта.
Советы специалистов
- Следует иметь в виду, что на ввод нельзя ставить пластик – в случае выхода из строя его долго менять. Чугун и сталь ржавеют – от этих материалов стоит отказаться.
- Монтаж каких-либо элементов газопровода своими руками запрещен – и лучше не экспериментировать в целях безопасности.
- Для медных систем водоснабжения применяют медные фитинги. Пайка медных трубопроводов и фитингов сложна – лучше доверить ее специалисту.
- Не следует использовать при монтаже паклю – современная лента ФУМ надежнее изолирует стыки и позволяет в случае поломки легко раскрутить резьбовое соединение.
- При необходимости сварить металлопластиковую трубу необходимо удалить два верхних слоя полипропилена и алюминиевой фольги (для этого существует специальный аппарат – шейвер). Нельзя сваривать пластик при отрицательных температурах.
- Если происходит замена изделия на резьбовом соединении и оно не откручивается, стоит применить специальный состав для смазки резьбы (например, WD-40).
- При установке крана направление тока жидкости должно совпадать со стрелкой на кране.
Виды водопроводных вентилей и их устройство
Водопроводный вентиль — это специальная запорная арматура, которую устанавливают на входе системы к одной или нескольким сантехническим точкам. С помощью крана можно ограничивать подачу воды только к одному прибору (унитаз, раковина, стиральная машина) или по всему стояку сразу. Все зависит от того, на каком участке водопровода установлена арматура.
Запорные механизмы классифицируют на несколько категорий в зависимости от принципа действия, конструкции, материала изготовления, расхода и способа крепления к трубе.
По принципу действия краны бывают двух видов: шаровые и вентильные. Первый работает за счет специального запорного механизма в виде шарика внутри, в котором есть специальное отверстие. При повороте рычага/крана шарик вращается так, что щель оказывается перпендикулярной потоку воды в трубе. Ее роды прекратились. Это хорошо видно на всех сборочных чертежах клапанов. Положительными сторонами шарового крана являются полная герметичность перекрываемой трубы, простота механизма и длительный срок службы. Этот тип водяного клапана не подлежит ремонту. Самым прочным из этого класса считается механизм из латуни «Зубр» на трубе ¾ дюйма.
Клапан клапана
Клапанная арматура состоит из прокладки, которая устанавливается на шток. В момент поворота клапана он частично или полностью перекрывает поток воды, в зависимости от положения запорного крана. Важными положительными сторонами клапанного устройства являются его ремонтопригодность и возможность регулирования давления воды в системе. К недостаткам можно отнести быстрый износ прокладки и необходимость делать несколько оборотов маховика до полного перекрытия воды.
По конструкции клапаны делятся на три типа:
- Прямо через. Клапан с низким гидравлическим сопротивлением, устанавливаемый на прямой части системы.
- Контрольная точка. Предназначен для блокировки потока воды в определенном направлении.
- Угол. Используется для угловых соединений труб. В этом случае поток воды перпендикулярен входящему направлению.
По материалу изготовления смесители бывают:
- Сталь. Их чаще используют для холодной воды, потому что от горячей воды на ней оседает известь. Водяные клапаны старого образца изготавливались из стали.
- Латунь. Имеют небольшой вес и габариты. Прочный и подходит для установки в холодной и горячей воде.
- Бронза. Самый дорогой вариант запорного механизма с отличными характеристиками.
- Пластик. Неприхотливые, долговечные, доступные устройства.
Способы крепления вентиля:
- Фланцевый. Их монтируют с помощью специальных креплений по краям фитингов и труб. Соединяется болтами. Такие запорные краны ставятся только на металлические водопроводные трубы.
- Банда. Крепится стопорной гайкой для крепления и резьбой. Такой кран подбирается по диаметру, шагу и типу резьбы (внутренняя/наружная). Резьбовой клапан можно монтировать на пластиковые и металлические трубы. В случае с пластиком используются специальные переходники.
- Сварной. Они устанавливаются только при помощи сварки.
По пропускной способности механизмы следующие:
- Свободное сечение, проходное. Пропускают почти 100% расхода воды.
- Стандарт. Они работают при 70-80% давления жидкости в системе.
- Частичное бурение. Пропускать только от 40% до 50% потока.
Существуют специальные трехходовые краны, которые позволяют подключить манометр и следить за работой водопроводной системы.
Категории трубопроводной арматуры
Блоки предохранительных клапанов2
Вентили стальные104
Вентили чугунные47
Задвижки нержавеющие16
Задвижки стальные – ХЛ3
Задвижки стальные77
Задвижки чугунные37
Задвижки шланговые1
Канализационная арматура6
Клапана обратные96
Клапана предохранительные50
Клапана регулирующие72
Конденсатоотводчики стальные3
Краны бронзовые23
Краны стальные – ХЛ45
Краны нержавеющие31
Краны стальные79
Вентили бронзовые18
Краны титановые1
Краны чугунные2
Метизы3
Насосы2
Отводы20
Отопительное оборудование36
Переключающие устройства1
Переходы18
Регулирующая арматура31
Пожарная арматура44
Счетчики воды31
Тройники14
Трубы46
Указатели уровня3
Уплотнительные материалы18
Фильтры, грязевики54
Фитинги26
Фланцы32
Элеваторы7
Электроприводы1
Шаровые краны81
Другое28
Пневмоприводы2
Конденсатоотводчики чугунные2
Затворы стальные38
Затворы чугунные31
Вентили энергетические1
Задвижки энергетические3
Клапана энергетические1
Клапана отсечные12
Компенсаторы сильфонные40
Как выбрать вентиль для воды
При выборе вентиля на водопровод рекомендуется обратить внимание на:
- вид устройства;
- материал, из которого изготовлен вентиль;
- способ крепления.
Разновидности водопроводных вентилей
Выпускаются следующие виды вентилей для воды:
- клапанные;
- шаровые.
Принцип работы клапанного вентиля заключается в перекрытии воды при помощи прокладки, установленной на штоке.
Принцип работы клапанного вентиля
Основными достоинствами клапанного вентиля являются:
- наличие возможности управления потоком воды;
- возможность проведения ремонта своими руками.
К недостаткам клапанных вентилей относятся:
- недолговечность устройства. Прокладка, выполняющая роль запора, соприкасается не только с водой, но и металлическим корпусом вентиля, что приводит к увеличению естественного износа;
- сложность использования устройства. Для полного перекрытия потока необходимо сделать несколько оборотов управляющим маховиком.
Шаровые вентиля перекрывают воду благодаря запорному механизму, изготовленному в виде шара. При повороте управляющего рычага отверстие в шаре переворачивается перпендикулярно потоку жидкости.
Принцип работы вентиля с запорным шаром
К преимуществам шаровых вентилей относятся:
- простота устройства, которая гарантирует длительный период использования;
- полная герметичность в перекрытом положении;
- простота использования. Для полного перекрытия воды необходимо повернуть ручку управления на 90º.
Недостатками шаровых кранов являются:
- невозможность ограничения потока (исключительно полное перекрытие);
- невозможность проведения текущего ремонта. Если устройство перестало выполнять свои функции, то потребуется полная замена.
Для полного перекрытия потока воды целесообразнее устанавливать шаровые вентиля. Если требуется регулировка потока воды, то лучше вмонтировать клапанный вентиль.
По конструкции водяной вентиль может быть:
проходным. Проходной вентиль пропускает воду в определенном направлении и служит для перекрытия потока. Устанавливается исключительно на ровный участок водопровода;
Вентиль прямого прохождения воды
прямоточным. Разновидность проходного вентиля с меньшим гидравлическим сопротивлением;
Проходной вентиль с меньшим сопротивлением
угловым. Вентиль устанавливается на угловое соединение труб. Входящий поток перпендикулярен выходящему потоку.
Вентиль для установки на изгибе труб
Выбор материала вентиля
Вентиль перекрытия воды может быть изготовлен:
- из латуни. Материал отличается небольшим весом, малыми габаритными размерами и долговечностью. Основной недостаток – высокая стоимость. Латунный вентиль может быть установлен как на холодную воду, так и на горячую;
- из бронзы. Стоимость бронзового вентиля выше, чем латунного, а характеристики устройств практически идентичны;
- из нержавеющей стали. Относительно дешевые устройства больше подвержены оседанию накипи. Поэтому для горячей воды практически не используются;
- из пластика. Пластиковые вентили также отличаются долговечностью и невысокой стоимостью. Пластик практически не подвержен коррозии и оседанию накипи.
На металлические трубопроводы устанавливаются латунные или бронзовые вентили, а также устройства из нержавеющей стали. Пластиковые вентили устанавливаются исключительно на пластиковые водопроводы.
Подбор способа крепления вентиля
По способу крепления водопроводные вентили подразделяются на:
Вентиль для водопровода с внутренней резьбой
фланцевые. Крепятся при помощи специальных устройств (фланцев), расположенных на краях вентиля и водопроводных труб, и соединенных между собой крепежными болтами. Устройства устанавливаются преимущественно на металлические водопроводные системы;
Вентиля, фиксируемые при помощи специальных элементов
приварные. Монтируются методом сварки. Приварные вентили могут быть установлены на металлические и пластиковые трубопроводы.
Водопроводный вентиль, устанавливаемый методом сварки
Резьбовые и фланцевые вентили можно снять для проведения ремонта и установить заново. Приварной вентиль установить второй раз не получится.
Стальные вентили
Стальные вентили по праву считаются одними из самых качественных и надежных. Их используют в качестве запорных устройств на промышленных трубопроводах, рабочей средой в которых может являться не только вода или пар, но также углекислота, аммиак, природный газ и другие агрессивные среды.
Задача такого вентиля аналогичная – регулировка или перекрытие потока рабочей среды в трубопроводе. Отличительной особенностью стальных вентилей является тот факт, что они способны работать в весьма жестких условиях, в том числе при высоких температурах и давлении. Масса стального устройства гораздо меньше, чем, например, чугунного, поэтому монтаж такого вентиля можно осуществлять без применения различных дополнительных элементов.
Материалом для производства стального вентиля служит нержавеющая сталь, а сам корпус изделия может быть выполнен из легированной или нелегированной стали. Те модели, которые изготавливаются из легированной стали, имеют несколько больший запас прочности и рассчитаны на более длительное применение. Условный проход стальных вентилей, как правило, больше, чем у чугунных и латунных, поэтому их чаще устанавливают на трубопроводы с большими объемами перекачиваемой рабочей среды. В жилых зданиях вентили стальные не пользуются большой популярностью, так как применение данных устройств на таких объектах нивелирует все их основные достоинства.
Вентили-смесители для душа
Устройство выполняется однорычажным шаровым или в виде двух клапанных вентилей. В комплект входят сменная душевая головка с присоединенным гибким шлангом и изливом в ванну. Смеситель выполняют скрытым, выводя наружу только вентили управления температурой воды.
Классическим вариантом является двухвентильный аксессуар с ручной настройкой температуры. Холодная и горячая вода смешиваются в специальной камере, а затем поступают в шланг душа или на излив. Основными элементами прибора являются две кран-буксы со сменными прокладками.
Становится популярным однорычажное устройство с удобной регулировкой воды. Основным элементом смесителя является сменный картридж. При выходе из строя он легко снимается и заменяется новым.
Со встроенным термостатом упрощается регулировка. Он настраивается предварительно, что гарантирует выход воды с заданной температурой. Для этого в корпусе находится термостатический элемент, распределяющий потоки. Единственным недостатком таких моделей является высокая цена.
Конструктивные особенности корпуса
Вентили в зависимости от формы корпуса и способу монтажа на трубопроводе могут быть:
- прямоточными — в них поток транспортируемой жидкости движется через корпус от входа к выходу, не меняя направления, ось шпинделя располагается под углом к оси проходного отверстия. Такая конструкция способствует спрямлению потока и снижению гидравлического сопротивления, но увеличивает рабочий ход затвора, параметры строительной длины и массы изделия;
- проходными — изделие с одинаковым направлением потока движущейся воды на входе и выходе и смещёнными параллельно друг друга осями входного и выходного патрубков. Проходя через корпус вентиля, поток воды вынужден совершать как минимум два поворота под прямым углом, что приводит к образованию высокого гидросопротивления и образованию зон застоя;
- угловыми — в них поворот потока на 90º происходит один раз, поэтому и более низкий уровень гидравлического сопротивления. Такие изделия имеют ограничения по области использования — размещаются на плане трубопровода только на его поворотных участках;
- смесительными — в них регулировка пропорций воды происходит за счёт механического вращения внутренних элементов корпуса. Предназначены для перекрытия и смешивания потоков холодной и горячей воды.
Запорные элементы. Принципы и устройство
Водопроводные краны выпускаются с разной конфигурацией запорного элемента: шаровая, клапанная, пробковая и клиновая конструкция.
Шаровый вентиль
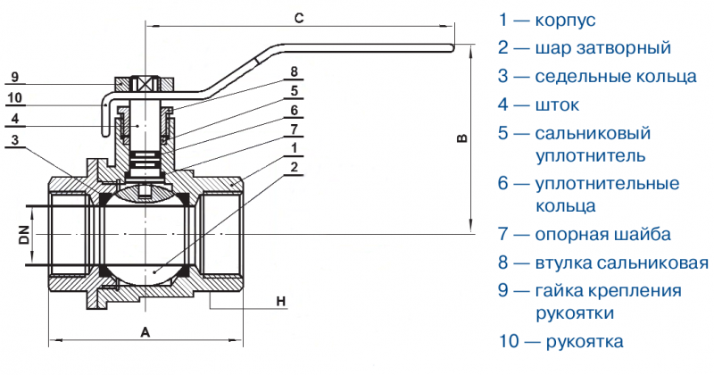
Шаровой называется арматура, запорный орган которой имеет сферическую поверхность.

Её конструкция состоит из следующих элементов:
- корпуса. Он может быть выполнен в цельносварном или разборном варианте. Вентили с цельным корпусом меньше весят, дешевле, но не подлежат ремонту. Разборные изделия имеют более сложную конструкцию, дороже стоят, но могут ремонтироваться;
- запора в форме металлического шара. Имеет проходное отверстие сечением, меньшим или равным номинальному диаметру вентиля, может быть плавающим или фиксированным;
- подвижного шпинделя, осуществляющего поворот запирающей детали;
- ручки съёмного типа;
- торцевых фторопластовых колец, обеспечивающих герметичность соединения корпуса и полированного шара.
Шаровый затвор имеет сквозное отверстие, ось которого параллельна направлению транспортируемой жидкости. Шток жёстко закреплён, и вместе с шаром образует вращающуюся ось, которая при закрытии клапана находится в перпендикулярном положении относительно направления движения водного потока. При повороте штока на 90º оси отверстия шара и потока воды совпадают и происходит подача воды.
Клапанный
В состав запорного узла клапанного вентиля входит резьбовой шток и поршень(клапан). Сечение поршня соответствует диаметру пропускного отверстия в корпусе изделия. При изменении положения клапана происходит его ввинчивание в посадочную гайку, и как следствие перекрытие потока движущейся среды.
Клиновой
Клиновым называется вентиль для воды, подвижная деталь затвора которого имеет форму сужающейся к концу пластины(клина).

При повороте ручки в положение «закрыто», клин плотно прижимается к седлу в горизонтальных плоскостях параллельных направлению потока, который в этот момент вынужден дважды изгибаться под прямым углом.
Пробковый
У пробкового вентиля перекрытие потока осуществляется пробкой в форме конуса, прикреплённой к штоку. Под воздействием рукоятки опускается шток и пробка входит в проходное отверстие, плотно его перекрывая.
Червячный
Прокладка из эластомера плотно прижимается к седлу под воздействием механизма червячного типа, который приводится в действие с помощью ручки — маховика.
Керамический
Внутри корпуса такого вентиля расположены две пластины с отверстиями продолговатой формы. Одна из них зафиксирована неподвижно в полости корпуса, другая прикреплена к шпинделю. При повороте ручки происходит смещение подвижной пластины до тех пор, пока их отверстия не совпадут и откроется проход для движения потока воды.
Вентили с электрическим приводом
Запорная арматура, оснащённая электроприводом, устанавливается в основном на магистральных трубопроводах большого диаметра.

Они управляются в автоматическом режиме дистанционно, могут также настраиваться на ручное управление с помощью штурвала. Электропривод состоит из двух основных узлов — двигателя и редуктора, для удалённого контроля оснащается указателями и датчиками положения запорного органа, для предупреждения перегрузок — специальными ограничителями. Для крепления к вентилю применяется фланцевый или муфтовый тип соединения.
Устройство и принцип действия шарового вентиля
Основным рабочим органом вентиля является шар со сквозным отверстием. При положении ручки вдоль трубы кран открыт. Если ее повернуть перпендикулярно трубе, он закроется. Отверстие в шаре может быть круглым, квадратным, в виде трапеции или овала. В вентилях небольшого диаметра кран выполнен плавающим, а для крупногабаритных устройств его делают на специальных опорах. Высокая герметичность затвора обеспечивается эластичным уплотнителем. Это позволяет устанавливать данный тип моделей на газопроводах.
Вентиль водопроводный шаровый работает в двух крайних положениях при повороте на 90о, когда он полностью открыт или закрыт. Попытка регулирования расхода приведет к быстрому износу уплотнения.

Шаровые вентили имеют более широкие возможности присоединения патрубков при монтаже систем водоснабжения:
- проходные;
- угловые;
- с тремя и более отводами с целью перенаправления транспортируемых потоков.
Соединения с трубами делаются штуцерными, фланцевыми и приварными. Последний вариант позволяет стационарно установить вентиль водопроводный в систему.
Разновидности кранов
Вентили для воды можно разделить на несколько основных типов:
Конусные краны. Применяются подобные механизмы довольно редко, так как они очень быстро изнашиваются, что приводит к частой их замене.
Клапанные вентили. Среди преимущества таких конструкций следует выделить возможность работать даже в очень хлорированной воде без потери технических особенностей. Ремонт таких вентилей является относительно простым и требует зачастую только замену уплотнителя.
Шаровые вентили состоят из специального корпуса, в котором размещается шар с отверстиями. При повороте его это позволяет, как перекрывать, так и открывать поток воды. Такие системы очень часто применяются в бытовых системах и имеют различный дизайн, что позволяет подбирать их под любой тип интерьера.
Следует отметить, что вентили для воды могут иметь различный тип соединения с основной трубой:
Меры безопасности и технического обслуживания предохранительных клапанов
Существуют различные предохранительные клапаны для всего оборудования. Поэтому установку предохранительных клапанов следует выполнять только тем, кто понимает этот вопрос. Развертывание неправильного клапана, который не соответствует вашему трубопроводу, и может привести к ухудшению качества установки, не будет работать должным образом








Поэтому стоит упомянуть, что профессиональная помощь в приобретении и установке правильного оборудования имеет важное значение
резьба применяется довольно часто. Такие вентили можно встретить повсеместно в бытовом использовании;
фланцевое соединение также используется повсеместно. Зачастую такой тип вентилей используют для перекрытия габаритных труб.
При выборе вентиля для воды следует обращать внимание на качество его исполнения, что позволит значительно продлить срок их службы. Клапаны из нержавеющей стали имеют длительный срок службы при условии их надлежащего обслуживания и обслуживания
Несмотря на низкие требования к обслуживанию, рекомендуется запрограммированные проверки этих аксессуаров, чтобы обеспечить сохранение и долговечность предохранительных клапанов дольше
Предохранительные клапаны должны проходить функциональные испытания и испытания на сопротивление и соответствовать минимальным требованиям, необходимым для их изготовления
Несмотря на низкие требования к обслуживанию, рекомендуется запрограммированные проверки этих аксессуаров, чтобы обеспечить сохранение и долговечность предохранительных клапанов дольше. Предохранительные клапаны должны проходить функциональные испытания и испытания на сопротивление и соответствовать минимальным требованиям, необходимым для их изготовления
Клапаны из нержавеющей стали имеют длительный срок службы при условии их надлежащего обслуживания и обслуживания. Несмотря на низкие требования к обслуживанию, рекомендуется запрограммированные проверки этих аксессуаров, чтобы обеспечить сохранение и долговечность предохранительных клапанов дольше. Предохранительные клапаны должны проходить функциональные испытания и испытания на сопротивление и соответствовать минимальным требованиям, необходимым для их изготовления.
Не все клапаны, имеющиеся на рынке, изготавливаются с использованием соответствующих компонентов
Поэтому важно выяснить, где купить безопасные и надежные клапаны. Надежные и надежные поставщики имеют хорошие рекомендации и доступные условия для вашей покупки
Технология изготовления и материалы
Для изготовления вентиля используются разные материалы:
- Латунь. Изделие из латуни отличается небольшими габаритами, малым весом, коррозионной стойкостью и большой продолжительностью срока службы. Его можно монтировать в систему как холодного, так и горячего водоснабжения из стальных и пластиковых труб. К недостатком можно отнести высокую стоимость таких изделий.
- Чугун. Вентили из чугуна имеют довольно большую массу, но надёжные, способные выдержать повышенный уровень давления, устойчивые к разному роду деформациям. Имеют невысокую цену, поэтому часто применяются для сооружения системы водоснабжения в частных и многоквартирных домах, дачных построек и гаражей.
- Сталь. У стальных изделий вместо ручки на корпусе установлено колесо, проворачивая которое можно отрегулировать уровень давления или прекратить напор движущейся среды. Они легче чугунных, имеют простую конструкцию, ремонтнопригодные, могут использоваться в системах отопления с более высокой рабочей температурой и давлением, а также в сетях где существует опасность возникновения гидроударов.
Конструкция и принцип работы классического водопроводного вентиля
Клапанный (классический) вентиль состоит из литого двухкамерного корпуса и подвижного запирающего механизма с приводом. Проходной (прямоточный) клапан устанавливается на прямых участках трубопроводов для отключения или регулирования потока жидкости.
Особенности конструкции углового вентиля позволяют устанавливать его в местах поворота труб. Принцип действия арматуры этих видов аналогичен друг другу, а отличие состоит в форме корпуса.
Запорный механизм представляет собой шток (шпиндель) с резьбой и закрепленной на нем тарелкой клапана с уплотняющим материалом. При вращении маховика шпиндель перемещает тарелку вниз, к седлу клапана (отверстию), тем самым уменьшая его сечение.
При этом происходит дросселирование жидкости, и давление в верхней камере уменьшается, что приводит к снижению расхода жидкости.
Слабым местом конструкции является резьбовой блок, т. к. при чрезмерном усилии при закрытии резьбу срывают. Это приводит к выходу из строя всего узла. Для герметизации штока используется сальниковое уплотнение.
Чтобы устранить протечки по шпинделю, подтягивают накидную гайку, которая через грундбуксу прижимает набивку к штоку.

Конструкция и принцип работы шарового водопроводного вентиля
Более простую конструкцию имеет кран со сферическим запорным органом. Корпус прямоточной конструкции чаще всего изготавливается неразборным. Роль запорного механизма выполняет металлический шар с отверстием (клапан).
Герметичность достигается благодаря наличию прокладок, установленных между сферическим клапаном и корпусом. В большинстве случаев они выполнены из фторопласта или резины. В некоторых, более дорогих, моделях применяются износостойкие тефлоновые уплотнители.
Шар изготавливается из латуни с напылением хрома или никеля. Такая обработка запорной части позволяет создать полностью герметичную конструкцию. Клапан управляется ручным приводом, выполненным в виде штока, приваренного к шару.
Уплотнение места выхода штока из корпуса достигается установкой прокладок, которые прижимаются резьбовой втулкой. На приводе вентиля имеются опущенные вниз лепестки, которые не дают повернуть клапан более чем на четверть окружности.
Классификация запорных устройств
В первую очередь все краны разделяют на 3 группы:
- запорные, которые можно устанавливать в положение «Открыто» и «Закрыто»;
- регулирующие, позволяющие изменять силу движения потока;
- комбинированные, совмещающие в себе обе функции.
По внутреннему устройству вентили могут быть:
- шаровыми (с круглым запорным элементом, оснащенным сквозным проходным отверстием);
- дисковыми (перекрытие осуществляется путем опускания конуса в виде пробки).
По типу управления клапан запорный может приводится в действие:
- механически (маховиком), т.е. вручную;
- с помощью электроприводов, в т. ч. с пульта дистанционного управления.
Виды вентилей
Различают следующие виды вентилей:
- шаровой;
- клапанный.
Преимуществами шарового вентиля являются:
- простота конструкции;
- простота использования;
- долговечность устройства.
Единственным существенным недостатком шарового вентиля для воды или газа является невозможность использования устройства в качестве регулирующей арматуры. То есть шаровой вентиль может исключительно полностью перекрывать поток проходящего в трубопроводе вещества.

Запорная арматура для трубопровода
Клапанный вентиль используется в качестве запорно-регулирующей арматуры, то есть служит как для перекрытия потока вещества, так и для ограничения прохода жидкости (газа). Данный фактор является существенным преимуществом устройства по сравнению с шаровым вентилем.
Недостатками клапанного вентиля являются:
- небольшой срок использования. Перекрывающий клапан постоянно соприкасается с жидкостью, что приводит к его естественному износу;
- наличие более сложной системы управления.

Запорно-регулирующая арматура для трубопровода
И шаровой, и клапанный вентили могут быть установлены на различные виды трубопроводов.
Тип герметизации клапана
Одной из важных проблем является обеспечение герметичности уплотнения штока вентиля. Запорные клапаны различаются по типу герметизации:

- Сальниковые вентили характеризуются простым универсальным устройством, герметично перекрывающим жидкий или газовый носитель. Герметичность обеспечивается заполнением сальниковой камеры определённым веществом. В качестве наполнителя применяются разные материалы, в зависимости типа магистрали. Выпускаются с хлопчатобумажной, асбестовой или фторопластовой набивкой. В случае использования арматуры на средах, содержащих токсичные вещества, сальники необходимо подтягивать и перенабивать в определенные сроки, чтобы камера не начала пропускать окружающую рабочую среду. Также элементы запорного органа должны своевременно ремонтироваться во избежание разгерметизации.
- Сильфонные клапаны отличаются более сложным устройством и большей надёжностью. Функцию запорного вентиля выполняет узел, защищённый сильфоном. Внешне напоминает часть гофрированной трубки, один конец которой соединён с золотником, а другой с деталями корпуса. Такие приспособления применяются в системах, где возможная утечка рабочего носители имеет особую опасность. Сильфон — это прочная упругая оболочка, состоящая из одного или нескольких слоёв металла. После многочисленных деформаций она всегда остаётся достаточно плотной и неповреждённой.
Однако такие устройства наделены и противоположными качествами. Конструкция изделия не соответствует полному исключению возможной утечки. Также вышедший из строя сильфонный клапан требует много усилий и весьма дорогостоящего ремонта.





































