Требования к устройству дымохода для котла

Общие требования ко всем разновидностям дымоходов заключатся в том, что диаметр дымового канал должен совпадать с сечением выводного патрубка на котле. В нижней части дымохода должен быть очистной люк. Его нужно регулярно очищать, чтобы поддерживать необходимую тягу.
Дымовой канал делают полностью герметичным, чтобы продукты горения не просачивались наружу. Внутри вентшахты устанавливают трубу нужного сечения. Для нормальной тяги ее оголовок должен возвышаться над коньком не менее чем на 2 м. Для изготовления дымохода используют оцинковку или нержавеющую сталь. Применяют только трубы круглого сечения и одинакового диаметра. Недопустимо делать более трех изгибов трубопровода.
Наружные дымоходы
Если дымоходная труба проходит с внешней стороны дома, то к ней предъявляют следующие требования:
- Канал, проходящий по наружной стене дома, нужно хорошо утеплять для защиты от сбора конденсата.
- Чтобы в трубе поддерживалась достаточная тяга, ее центральная ось не должна отдаляться от оси котла более чем на 2 м.
- После нагревательного агрегата должен идти прямой участок воздуховода на высоту 1 м. Только после этого можно устанавливать поворотное колено.
- В любом случае монтируется карман для очищения и отведения конденсата.
- Напольный котел устанавливают на прочное основание из несгораемого материала.
- Если дымовой канал проходит через стену из горючего материала, то вокруг него делается зазор в 50 см, который заполняется негорючим утеплителем.
Внутренние дымоходы

Внутренние дымовые каналы должны соответствовать следующим требованиям:
- от оси котла до оси трубы должно быть не больше 2-х метров;
- в месте прохождения канала через перекрытие делают защиту из негорючего материала;
- если трубопровод проходит через неотапливаемое помещение, то он обязательно утепляется;
- формируют карман для очищения и сбора конденсата;
- теплоизоляция не доходит до оголовки канала на расстояние до 100 мм;
- от низа нагревательного оборудования до верхней точки дымохода должно быть не менее 5 м.
Вентиляция кухни с газовой плитой
Очень часто на кухнях с естественной вентиляцией воздух не очищается должным образом. Это не сложно проверить. Просто выкурите одну сигарету и оставьте комнату закрытой на 15 минут. Если остаются следы дыма, это означает, что вентиляция не контролируется своей функцией. Причин может быть много: ошибка в проектировании здания, недобросовестная воля строителей, отсутствие должного ухода за установкой. Необходимо принять меры.
Требования СНиП 42-01 для газовых печей следующие:
- потолки высотой не менее 220 см;
- наличие вентиляционного проема или окна с вентилятором;
- зазор между дверью и полом (или проемом) составляет не менее 0,25 квадратных метров.
Требования к вентиляции кухни с газовой плитой
Для обеспечения достаточного воздухообмена газовая плита должна отвечать следующим требованиям к вентиляции газовой плиты SNiP 42-01:
- впотолка более 2 м 20 см;
- наличие вентиляционного канала или окна с вентиляционным отверстием в верхней части;
- под или в нижней части двери находится прорезь или отверстия общей площадью 25 квадратных дюймов и более.
Отток воздуха
Наиболее распространенным способом нормализации вентиляции над газовой плитой является установка вытяжки. Вентилятор удаляет воздух, плавающий над варочной панелью, запахи пищи и угарный газ. А широкий зонтик вытяжки направит дымы непосредственно в вентиляционные каналы. Таким образом, вытяжка обеспечивает принудительную вытяжку на кухне с газовой варочной панелью. Стоимость вытяжек варьируется в широких пределах и зависит от мощности, дополнительных функций, дизайна и производителя.
Есть два типа капюшонов:
- с фильтрацией и рециркуляцией воздуха;
- с выходом воздуха наружу.
Первый тип вытяжки нельзя назвать частью системы вентиляции, так как он никоим образом не участвует в воздухообмене. Однако последние полностью обеспечивают удаление паров. На месте которого с улицы подымается свежий воздух. Однако, если на кухне с газовой плитой есть пластиковые окна, необходимо дополнительно проветрить подачу.
Мощность навеса выбирается в соответствии с формулой:
M=O * 10
O – это объем воздуха на кухне, рассчитанный следующим образом:
O=H * L * S
H – высота помещения, L – длина помещения, S – ширина помещения.
Согласно правилам, разрешается устанавливать механическую вентиляцию для газового котла приточно-вытяжной системы в квартирах жилых домов, не нарушая при этом общую вентиляцию здания. Другими словами, нельзя выводить дымовой газопровод в шахту, полностью заблокировав вентиляционную решетку. В противном случае вентиляция в газовой котельной или кухне не будет работать при выключенном вытяжном вентиляторе.
Все секреты связи с капюшоном на видео:
Приток воздуха
Приток свежего воздуха, необходимого для нормальной работы газовых приборов и благополучия людей, обеспечивается воздухозаборными устройствами.
На рынке имеются следующие типы вентиляционных отверстий для вентиляции газовой печи в частном доме или квартире:
- оконный впускной клапан. Клапан устанавливается в пластиковую оконную створку и работает автоматически или в ручном режиме. Во время особо сильных морозов он склонен к обледенению;
- настенный впускной клапан. Требуется отверстие во внешней стене для установки. Есть модели с фильтрацией воздуха, могут быть автоматическими;
- вентилятор. Навешивается на нижнюю створку пластиковой двери, питающейся от электросети. Не только фильтрует поступающий воздух, но и нагревает его.
В соответствии с нашими рекомендациями Вы можете самостоятельно установить любую из перечисленных воздухозаборных вентиляционных установок для кухонь с газовой плитой или котлом.
Способы организации воздухообмена в котельной
В отопительном помещении можно обустроить как естественную вентиляцию, так и принудительную. Основное требование — соблюдение норм безопасности.
Естественный воздухообмен осуществляется максимально просто — путем пробивания выводного отверстия в стене, расположенной напротив котла. Для вывода отработанного воздуха и газов применяется труба расчетного диаметра с задвижкой для регуляции оттока из помещения.
Чтобы естественная система воздухообмена работала эффективно, необходимо создать тягу. Для этого вентиляционную трубу располагают вертикально, чтобы ее высота превышала 3 м. Если возможно проложить только горизонтальный воздуховод, его необходимо оснастить вентилятором.
Основные преимущества естественного проветривания котельной — простота сооружения, экономичность, энергонезависимость. Но данная система не позволяет контролировать приток воздуха в помещение, зависит от факторов внешней среды (погоды).

Проветривания котельной
Если отопительное помещение укомплектовано системой нагрева воды, лучше обустроить в нем механическое проветривание. Сооружать данную систему следует из огнеупорных материалов, чтобы она могла выдержать высокие температуры. Она может состоять как из вертикальных, так и горизонтальных каналов — на качество работы это не влияет.
Оптимальный вариант организации воздухообмена в котельной — комбинация естественной приточной и принудительной вытяжной систем. При этом необходимо чтобы отверстие, предназначенное для забора воздуха естественным путем, находилось на безопасном расстоянии от котла. Если подаваемый воздух будет направлен, это грозит воспламенением.

Подаваемый воздух
Климатическое оборудование
Современные котлы укомплектованы специальными датчиками, координирующими их работу с учетом факторов окружающей среды. Данные системы состоят из калориферов, вентиляторов, фильтров, позволяющих не только поддерживать благоприятный микроклимат в отопительном помещении, обеспечивать нормальное функционирование котла, но и сэкономить на ресурсах.
Более компактной, но дорогостоящей является приточно-моноблочная вентиляция, позволяющая объединить в одном корпусе все установки. Она имеет качественную звукоизоляцию, поэтому работает бесшумно.
Другие варианты
Приточно-вытяжное вентилирование может быть совмещено с кондиционированием. Механический приток и вытяжка обеспечат оптимальный температурный режим в комнатах в любой сезон. Зимой воздух будет нагреваться за счет калорифера, а в теплое время — охлаждаться в специальной секции. Минус такой системы — большие габариты и шумность.
Плюсы и минусы двух систем
Естественная вентиляция
Для оборудования такой вытяжки самостоятельно не нужно особых навыков, при этом она обладает целым рядом достоинств:
- Отсутствие механизмов делает такой воздухообмен надежным и долговечным.
- Нет необходимости тратиться на приобретение приборов.
- Простота в работе.
- Бесшумность в момент эксплуатации.
В свое время такая вытяжка вполне отвечала своим требованиям, но с появлением нового газового оборудования, взгляд на это поменялся.
При этом обнаружились следующие существенные недостатки:
- Зависимость оптимальной циркуляции воздуха от времени года и климатических условий.
- Невозможность регулирования воздушного потока.
- Проникновение посторонних частиц через систему.
Рекомендуем ознакомиться: Расчет системы естественной вентиляции для дома
А также при понижении поступления воздуха появляется вероятность повышения влажности в помещении.
Искусственная вентиляция
Искусственная вытяжка является лучшим вариантом при устройстве газовых котельных, так как:
Есть возможность самостоятельной регулировки подачи воздуха.
Важность данной вентиляции в закрытых помещениях.
Приятный микроклимат в комнате.
Возможность регулирования воздухообмена с помощью пульта.
Независимость от погодных условий.
Если в доме котел с коаксиальным выводом, то встроенный вентилятор в нем автоматически создает благоприятную атмосферу для проживания человека.
Единственным недостатком такой системы можно признать довольно высокую стоимость этой установки.
Необходимые расчеты
Точный и грамотный расчет вентиляции — важный этап проектирования системы отопления. Профессиональные инженерные вычисления учитывают размеры топочного помещения, технические характеристики и место монтажа оборудования. Проектирование котельной частного дома проще. Требуется определить следующие параметры:
- Геометрические размеры помещения (длина, ширина, высота).
- Скорость воздушного потока. Она не должна быть меньше 1 м/с.
- Коэффициент усиления воздухообмена, обусловленный разницей между допустимой высотой помещения (6 м) и ее реальным значением.
Определив их, можно рассчитать оптимальный диаметр приточных и вытяжных каналов системы вентиляции. Для помещения с габаритами 4×3×2,8 м (длина, ширина, высота) расчеты выглядят так.
- Перемножением параметров помещения вычисляется его объем. Он равен 33,6 м3.
- Определяется коэффициент увеличения воздухообмена котельной: (6 — 2,8) * 0,25 + 3 = 3,8.
- Находится объем воздуха, который надо заместить в течение часа: V = 3,8 × 33,6 = 128 м³.
- Площадь сечения канала, который должна иметь вентиляция вытяжная в котельной коттеджа, рассчитывается по формуле: F = 128/3600 = 0,035 м2.
- Полученное значение площади переводится в диаметр, так как на практике чаще используют вентиляционные трубы круглого сечения: D = 2 sqrt (S / π) = 211 мм.
Установка своими руками
Грамотное устройство вентиляционной системы котельной включает в себя три обязательных этапа: подготовку технического проекта, монтаж оборудования и проверку работоспособности. При планировании учитывается производительность вентиляционной установки, длина воздушных каналов и тепловая мощность котла. Монтируя воздуховоды, надо помнить, что их расположение зависит от используемого типа воздухообмена. Горизонтальные трубы следует устанавливать только в системах с принудительным. При этом их длина связана с мощностью установленного оборудования. В любом случае каналы должны быть прямыми, без изгибов и поворотов. Естественные системы разрешается оснащать лишь вертикальными воздушными видами, длина которых не может быть меньше 3 м.
Окончив монтаж системы вентиляции и отопления частного дома, надо проверить работоспособность всех ее функциональных элементов. Требуется убедиться в отсутствии протечек теплоносителя, обратной тяги и тепловых потерь, измерить КПД котла и концентрацию угарного газа в топочной. Для обеспечения достоверности замеров их надо проводить лишь спустя 24 часа после запуска отопления и воздухообмена. С целью повышения безопасности работы котельной и эффективного удаления из нее продуктов сгорания, полезно дополнительно использовать пожарную вентиляцию и специальную систему борьбы с задымленностью.
Цены
При устройстве вентиляции под ключ, стоимость квалифицированного составления проектной документации котельной и проведения монтажных работ зависит от размеров дома, типа и характеристик используемого отопительного оборудования, вида воздухообмена, автоматики и так далее. Реализация первой услуги в среднем составляет 55 рублей за 1 м2, а непосредственно установка в здании, площадью 100-800 м2, обойдется в 25 000 — 33 000.
Основные технические характеристики и цены наиболее популярных приточных установок:
| Название модели | Макс. расход воздуха, м³/ч | Мощность нагревателя, кВт | Размеры, мм | Цена, рубли |
| ГлобалВент Эконом-300 | 400 | 2,7 | 220x640x435 | 35 300 |
| 2vv Alfa-C-20VS-DP-2 | 2000 | 32,8 | 618х468х1200 | 172 300 |
| A-Clima ARL BOX 2,5 | 1970 | 34 | 1500х800×370 | 106 200 |
| ГлобалВент Эконом-1500 | 1900 | 11,1 | 390x770x635 | 63 900 |
| A-Clima Arl Box 1,5 | 1635 | 28 | 1270x670x370 | 103 900 |
| DVS OTA 160/5000 | 376 | 5 | 490x1000x490 | 42 500 |
Требования к вентиляции котельной
В связи с тем, что под котельные выделяются, как правило, небольшие помещения или пристройки, качественная вентиляция котельной в частном доме — это важное условие, выполнение которого требует соблюдения установленных норм и требований. Следующие положения определены в СНиП (II-35-76, 2.04-05) и применимы как к газовым, так и к твердотопливным котлам:
Следующие положения определены в СНиП (II-35-76, 2.04-05) и применимы как к газовым, так и к твердотопливным котлам:
- Вентиляционная система котельной должна иметь отдельную воздухоотводную трассу;
- Обязательно обустройство воздушного канала в потолке;
- Наличие двух дымоходных каналов в стене: один — для дымохода и один — для его технического обслуживания (располагается под первым и имеет диаметр не менее 25 сантиметров);
- Поступление чистого воздуха может осуществляться с улицы или через специальную решётку в двери котельной;
- Проёмы для притока воздуха с улицы рассчитывают исходя из 8 см 2 на 1 кВт мощности отопительного агрегата или 30 см 2 на 1 кВт, если приток воздуха осуществляется изнутри;
- Для любого газового оборудования требуется обеспечить трёхкратный воздухообмен в течение одного часа работы котла, без учёта воздуха, засасываемого в топки котлов для горения;
- Отделка напольного покрытия и стен из негорючих и огнестойких материалов. Стена, примыкающая к соседнему помещению, также отделывается несгораемыми плитами перекрытия, с пределом огнестойкости не меньше 0,75 часа.
В соответствии с действующими законами и нормами, высота помещения для котельной должна составлять не меньше 6 метров. Если соблюдение данного параметра невозможно из-за особенностей постройки, для таких случаев действует правило: чем ниже высота котельной, тем больше должен быть воздухообмен. При высоте помещения менее 6 м кратность воздухообмена следует увеличивать из расчета 25% на каждый метр снижения высоты.
При невозможности обеспечения необходимого воздухообмена за счёт естественной вентиляции следует проектировать вентиляцию с механическим побуждением.
Если для отопления частного дома хватает газового котла малой мощности (до 30 кВт), отдельное помещение не потребуется. К такому оборудованию требования максимально просты: площадь помещения должна быть от 15 м 2 , высота потолков — от 2.20 м, приток свежего воздуха осуществляется через окно (из расчёта площади остекления не менее 0,3 м 2 на 1 м 3 помещения) или форточку. Установка оборудования осуществляется на расстоянии не менее 10 см от стены из негорючих материалов.
Требования к газовой котельной в доме из дерева
Основные правила установки настенного газового котла в деревянном доме, затрагивают три важных области:
- Нормы, оговаривающие минимальные требования к котельной.
- Правила подключения системы дымоудаления и вентиляции.
- Существующие правила пожарной безопасности.
Допустимые нормы обустройства газовой котельной внутри деревянного здания, оговаривают типы и виды внутренней отделки, систему безопасности, наличие пожарной сигнализации и средств пожаротушения.
Для установки котла в деревянном доме, нужно строгое соблюдение существующих требований. Газовая котельная является местом повышенной пожарной опасности, что потребуется учитывать при обустройстве.
Нормы помещения котельной
Требования к установке напольного газового котла отопления в деревянном доме, учитывают особенности эксплуатации и повышенную пожарную опасность, связанную с конструкционным материалом здания. В связи с этим, нормы указывают на необходимость соблюдения следующих требований:
- Объем помещения котельной рассчитывается, исходя из общей производительности отопительного оборудования. Газовый котел до 30 кВт, устанавливают в изолированном помещении не менее 9 м³. При условии, что высота потолков будет не менее 2,5 м.
- Разрешается расположение газового котла в любом техническом помещении деревянного дома. Санитарные нормы запрещают устанавливать отопительное оборудование в жилых комнатах, а также кухнях-гостиных. Некоторые ограничения затрагивают месторасположение котла в доме. Нормы ППБ запрещают оборудовать помещение котельной в подвале, но допускают, с несколькими оговорками, установку газового котла в цокольном этаже.
- Котельная огораживается от жилых комнат стеной. Для увеличения огнестойкости, стены покрывают специальными пропитками. В котельной устанавливают дверное полотно с минимальной шириной 80 см, не прилегающее внизу к коробу, для постоянного притока свежего воздуха.
- Обязательно наличие естественного освещения, а также форточки для проветривания.
Организация вентиляции и дымоудаления
В деревянном доме, особое внимание уделяют установке приточно-вытяжной вентиляции и правильному подключению системы дымоотведения. Минимальные требования, распространяющиеся на котельную:
- Устройство вытяжки – диаметр вентиляционного канала, рассчитывается исходя из производительности котла – 8 см² на каждый киловатт мощности.
- Установка трубы дымоотведения осуществляется с соблюдением противопожарных расстояний и разрывов. Высота дымохода, рассчитывается, в зависимости удаленности от козырька кровли. Оголовок трубы нельзя закрывать декоративными элементами. Для увеличения характеристик тяги, рекомендуется установить дефлектор.
Не допускается, чтобы горизонтальный участок дымохода, имел суммарную длину более 3 метров. На всю систему дымоотведения, разрешается установить не более 2 поворотных муфт.
Некоторые требования к дымоходам и приточной вентиляции, оговариваются в правилах пожарной безопасности.
Пожарные нормы для котла на газе в доме из дерева
Пожарные правила затрагивают: размещение котла, обустройство котельной и монтаж системы дымоотведения:
- Размещение котла – оптимально использование под нужды котельной, отдельно стоящего здания, изготовленного из негорючих материалов: керамического или силикатного кирпича, пеноблоков, газобетона и т.п. Допускается установка котельной в доме, при условии, соблюдения условий ППБ.
- Пол и стены котельной облицовывают негорючими материалами. Если такой возможности нет, требования по пожаробезопасности, оговаривают необходимость частичной защиты поверхностей в месте расположения котла и проведения дымохода. Стены и пол защищают негорючими базальтовыми утеплителями. Дополнительную защиту, обеспечивают специальные противопожарные составы. Потребуется предварительная подготовка стен, потолка, полов, посредством обработки мастиками или пропитками, с высокой степенью огнестойкости.
- При прохождении дымохода через плиты перекрытия и кровлю, используют специальную противопожарную разделку.
Виды вентиляции
Основных видов вентиляции всего два: принудительная и естественная, а в ряде случаев используется комбинированная, которую иногда выделяют в отдельную категорию.
Как видно из названий, в первой разновидности вентиляции используется принудительная подача воздуха, для чего применяются воздушные насосы или вентиляторы. Во втором случае приток воздуха происходит за счет разности его температуры и давления – в помещении и вне его. Чтобы обеспечить воздухообмен, достаточно правильно расположить вентиляционные отверстия. Также часть воздуха может проникать в помещение через естественные отверстия – например, щели под дверями.
Если есть такая возможность, то выгоднее всего использовать комбинированная систему – пока с воздухообменом справляется естественная вентиляция, принудительная находится в режиме ожидания.
Естественная вентиляция
Если обеспечивается троекратная смена объем воздуха за час, то в стандартном шестиметровом (по высоте) помещении можно обойтись организацией естественного воздухообмена.
При понижении потолка на каждый метр придется увеличить воздухооборот на 25% минимум. Плюс, следует в любом случае проектировать воздухообмен с некоторым запасом.

Схема работы вентиляционной системы в котельной частного дома Источник pew.ledikycora.ru.net
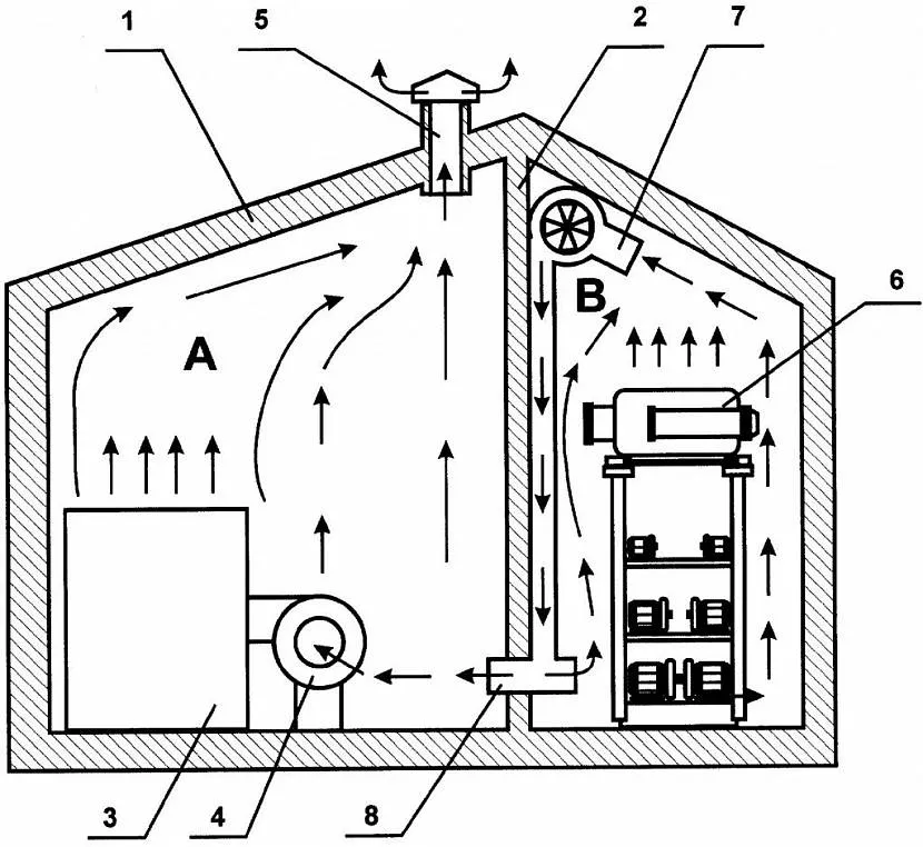
Схема предельно проста – напротив котла, в двери или стене, организуется входное отверстие вентиляции (диаметр зависит от мощности котла), которое располагается не выше его рабочей области. Второе, вытяжное отверстие организуется над котлом, обычно на него крепится воздуховод с обратным клапаном (чтобы вытяжка работала только в одну сторону) и «зонтиком» на наружной стороне (чтобы трубу не заливало).
Расстояние между «входом» и «выходом» воздуха в помещении должно быть максимально возможным для обеспечения лучшей тяги.
Недостатки естественной вентиляции:
- Зависимость от погодных условий. Необходимо защищать воздуховоды от внешних воздействий среды.
- Сложность точного расчета кондиционирования. В зависимости от направления и силы ветра в помещение может поступать различный объем воздуха.
- Очень сложно спроектировать одну систему вентиляции для нескольких комнат – чтобы через все помещения проходила одна труба. Преимущественно вывод из каждой комнаты делается сразу на улицу.
Принудительная вентиляция
Принудительная подача воздуха осуществляется за счет так называемых «механических устройств», то есть вентиляторов. Такой тип обустройства воздухообмена удобен сразу двумя особенностями:
- Появляется возможность установки климатического оборудования, с калориферами и фильтрами, которое будет очищать и нагревать поступающий воздух;
- Также появляется возможность включения системы только в необходимые моменты, что позволит экономить электроэнергию, включая ее, например, только при работе котла.
Минусы принудительной вентиляции следующие:
Стоимость – прежде всего, такая система обойдется дороже, чем естественная вентиляция;
В ряде случаев, шумность – например, при установке климатического оборудования с кондиционированием;
Выбор оборудования без должной подготовки может быть чреват нарушением безопасности: в частности, для газовых котельных важно иметь пожароустойчивое оборудование.

Отопительная система это достаточно сложный комплекс оборудования, поэтому его подбором и наладкой должны заниматься профессионалы Источник stroimdom.com.ua
Виды вентиляции
В зависимости от способа образования тяги, организуемые вентиляции для газовых котлов в котельной частного дома могут быть естественными или принудительными. Также модели различаются направлением движения: приточного, вытяжного и комбинированного (коаксиального) типа. Схема вентиляции в частных домовладениях, как правило, предполагает применение коаксиального дымохода, включающего в себя несколько основных элементов:
- газовое котловое оборудование;
- отвод коаксиальный углового типа;
- прямой коаксиальный трубопровод;
- отводчик скапливающегося конденсата;
- фильтрующая система и защитная решётка;
- наконечники горизонтального и вертикального типа.
Согласно конструктивным характеристикам выпускаются канальные или целостные вентиляции, но именно первый тип приставной или внутренней системы удаления из помещений продуктов сгорания является на сегодняшний день простым в монтаже и экономически целесообразным.
Естественная вытяжка
Естественная вентиляция – наиболее востребованный в частных домах вариант для газовых котлов в котельной, отличающийся поступлением воздуха посредством входных отверстий в нижней части помещений и удалением загрязнённых воздушных масс сквозь вытяжные каналы. Естественная циркуляция организуется следующим образом:
- разметка отверстия в соответствии с диаметром трубы;
- высверливание отверстия согласно выполненной разметке;
- монтаж трубы вентиляции через отверстие с небольшим уклоном;
- заполнение всех образовавшихся пустот при помощи монтажной пены;
- установка специальной заслонки для регулирования скорости движения воздуха.
- монтаж решётки со специальным фильтром для защиты канала от попадания мусора.
Выходная часть отверстия располагается с минимальным расстоянием 100-120 см от котлового оборудования. Определённым плюсом естественной системы является полная независимость от энергоносителей, включая электрические сети.
Система принудительного типа
Приточно-вытяжная система – это хорошо себя зарекомендовавший комбинированный вариант вентиляции принудительного типа, имеющий большой потенциал. Такая относительно сложная конструкция представлена вентиляторами, фильтрами и калориферами, поэтому вполне может быть отнесена к климатическим устройствам, монтаж которых выполняется поэтапно:
- разметка местоположения вентиляционного канала согласно диаметру трубы;
- пробивание отверстия в соответствии с разметкой для монтажа воздухозаборника;
- фиксация трубы в отверстии с соблюдением обратного уклона и запенивания пустот;
- подсоединение лопастного осевого вентилятора и монтаж обратной клапанной арматуры.
Самое современное котловое оборудование комплектуется специальными регулирующими элементами с автоматическим режимом управления, поэтому принудительные вентиляции обеспечивают максимальную эффективность работы системы отопления.
Будьте внимательны! Зачастую такая вентиляция энергозависима. В случае перебоя с электроподачей вентиляция в котельной с газовым котлом будет нарушена




































