Емкость для воды
Перед как сделать печь-каменку своими руками мы советуем вам определиться с размером емкости для подогрева воды. Для этого вы приблизительно должны представлять, сколько жильцов будет проживать дома и планируется ли приглашать в баню гостей. Расчет производится исходя из 8-10 литров горячей воды на одного человека.

Емкость для подогрева воды
Емкость для воды лучше использовать открытую. Испарение при работе будет небольшое, зато вы получите ряд преимуществ:
- Свободный доступ при заполнении
Емкость для подогрева воды
- Возможность обслуживания внутренней части.
- При работе печи на стенках емкости будет образовываться накипь. Открытый доступ позволит свободно чистить и просушивать внутреннюю поверхность.
- В зимнее время это позволит полностью удалять остатки воды, предохраняя ее от замерзания.
Емкость для подогрева воды
Для емкости прекрасно подойдет котел соответствующих размеров, продающийся в специализированных магазинах. При желании емкость можно сварить индивидуально.

Емкость для подогрева воды
Печь для бани из бочки
Печь-каменка для бани своими руками может быть собрана из подручных материалов. В открытом доступе есть множество вариантов чертежей печи для бани из металла вторичного употребления. Это один из способов того, как сделать печь для бани, вложив минимум средств.
Для изготовления печи для бани своими руками из бочки желательно использовать толстостенные железные цилиндры из жаропрочного сплава. Однако стоимость таких конструкций может быть очень высокой, и изготавливаются они чаще всего под заказ. Поэтому в данном случае будет рассматриваться вариант конструкции для банной печи, основой которой будет служить стальная тара емкостью 200 л.
Перед началом работы важно убедиться, что в бочке не хранились пожароопасные материалы – например, бензин или масло. Если это так, внешнюю и внутреннюю поверхность бочки необходимо тщательно очистить от остатков воспламеняющихся жидкостей
Установку печки для бани лучше всего производить на этапе строительства бани, т.к. такое оборудование требует подготовки основы для обеспечения пожаробезопасности. Для этого нужно выкопать под будущую печь отдельный котлован, глубина которого должна быть больше, чем уровень промерзания почвы. На его дно укладывается слой песка и щебня, поверх – слой керамзита.
Подушка из утеплителя для надежной опоры нуждается в уплотнении. Для этого ее слои заливаются водой и тщательно трамбуют. Поверх заливается раствор бетона толщиной в несколько сантиметров. Когда раствор схватится, на него кладут рубероид и приступают к строительству постамента.
Для постамента необходим кирпич. Первый ряд кирпича укладывается по размерам бочки, а второй – по увеличенному периметру, с образованием зазора примерно в 8 см. В дальнейшем он послужит для обустройства зольника и поддувальной трубы.
Не следует забывать и о защите стен. Она реализуется согласно регламенту, который был приведен выше.
Последовательность изготовления печи из бочки выглядит следующим образом:
- В центре дна бочки болгаркой вырезается паз шириной около 40 см. Его края усиливаются стальной проволокой толщиной 5-6 мм. С помощью этого отверстия будут удаляться зола и остатки сгоревших дров.
- Для усиления эффективности обогрева по периметру дна бочки привариваются четыре стальные трубы диаметром около 3 см. Их необходимо выгнуть под прямым углом, расположить ближе к стенкам, и вывести к верхней части бочки.
- На расстоянии 10 см от дна бочки делается разметка для установки колосника. Его можно приобрести в специализированных магазинах. Прутья колосника крепятся к конвекционным трубам.
- Топливник изготавливают, выкладывая стенки бочки огнеупорным кирпичом.
- На верхнюю треть длины бочки наносится разметка для обозначения каменки. Изнутри крепятся два уголка, к которым приваривается решетка для выкладывания камней.
- Намечаются лицевая и тыльная сторона печи. На тыльной стороне вырезается отверстие под дымоход, с ним будет сварена труба. На конце трубы, которая должна идти вертикально вверх, делается шибер.
- На лицевой части вырезается отверстие 40х30 см. По краю отверстия устанавливается стальная проволока и крепится асбестовая веревка для плотного закрывания дверцы. Дверца делается из отрезков металла и самодельных петель из прутка.
- Верх бочки отрезается, на расстоянии 10 см от верхнего края укладываются уголки, а на них – крышка бочки, чуть меньшая по размеру, чем диаметр печи. Под крышку доверху насыпаются камни.
- Печь устанавливается на фундамент и обкладывается кирпичом. Пустоты заделываются раствором глины. Такая защита убережет от ожогов при использовании печи.
Это была общая инструкция того, как правильно сварить печь для бани из бочки. Таким нехитрым способом можно изготовить самодельную печку для бани с минимальными вложениями средств. Для более конкретных деталей конструкции следует ознакомиться с чертежами банной печи из металла.
Особенности конструкции электрокаменки
Основным компонентом любой электрокаменки являются нагревательные элементы. Чаще всего используются ТЭНы или ленточные нагреватели.

ТЭНы для электрокаменок
В большинстве представленных на рынке моделей используются именно ТЭНы. Они отличаются простотой и неприхотливостью. В закрытой трубке размещается металлическая спираль, которая нагревается при прохождении электрического тока. Благодаря простоте конструкции и изготовления ТЭНы получили широкое распространение в бытовой технике (нагревателях, чайниках, стиральных машинах).

Неплохо зарекомендовали себя ТЭНы и в каменках. Но у них есть определенные недостатки, которые сильнее проявляются при использовании в открытом состоянии. Так, в процессе укладки камней можно повредить ТЭН. А если залить водой, то и вовсе вывести из строя
Поэтому обращаться с ними нужно достаточно осторожно
Ленточные нагреватели
Конструкция таких нагревателей отличается тем, что спирали проложены внутри керамической ленты. Благодаря этому они лучше защищены, их повредить намного труднее. Второй плюс ленточных обогревателей — более высокая экономичность. При одинаковой мощности они способны обогреть помещение в 1,5 раза большего объема в сравнении с ТЭНами. Этому тоже способствует их конструкция, обеспечивающая более высокий КПД.

Ленточные обогреватели дороже ТЭНов. Поэтому и стоимость оснащенных ими каменок обычно выше. Впрочем, они скорее входят в среднюю ценовую категорию. Существуют модели на ТЭНах заметно дороже.
Изготовление печи из металла своими руками
При выборе чертежа для выполнения печи своими руками учитывается ряд факторов:
- площадь помещения — от нее зависят габариты устройства;
- наличие желаемых функций — нагрев воздуха, воды;
- присутствие каменки открытого или закрытого типа;
- теплоемкость — защитное экранирование.
Расположение устройства в помещении также играет существенную роль. Если требуется компактная печь для маленькой парной, подойдет расположение в углу. В этом случае лучше выбрать модель с выносной топкой или вертикальную. При расположении в центре парной печь больших размеров может быть горизонтальной и массивной для качественного прогрева помещения.
Материалы

При изготовлении печи самому предпочтение отдается листовой стали. Ее удобно разрезать, сгибать, сам материал отличается устойчивостью к прогоранию.
Для долговечности самодельной печи требуется довольно толстый слой стали, но чересчур большая ширина слоя (например, 1 см) может привести к длительному разогреву устройства, снижению его КПД.
Поэтому оптимальным выбором будет сталь толщиной 5—7 мм для топки и 3—4 мм для корпуса.
Остальные детали — дверцы, петли к ним, задвижки, кран для бака с водой, решетки для зольника и каменки рекомендуется купить в специализированных строительных магазинах. Дымоход изготавливается из кусков трубы подходящего диаметра (не менее 10 см), ножки — из металлических обрезков достаточной толщины, чтобы выдержать вес печи, а также сетки с камнями. Для наполнения каменки подойдут речные валуны округлой формы и подходящего размера.
Инструменты
Для выполнения всех этапов работы понадобятся следующие инструменты:
- сварочный аппарат;
- болгарка с отрезным диском по железу;
- емкость для замешивания раствора;
- печной молоток-кирка;
- мастерок;
- правило.
Чтобы работа проходила безопасно, требуется приобрести средства защиты: специальную маску и перчатки. Понадобятся различные измерительные приборы: рулетка, строительный уровень.
Этапы постройки. Как правильно сварить конструкцию?
Первым делом под печь подготавливается место, закладывается фундамент. Большинство металлических устройств компактны, поэтому не требуют бетонной заливки, достаточно выложить основание из двух рядов кирпича. В случае если решено выкладывать тяжелый кирпичный экран, целесообразнее позаботиться о полноценном фундаменте:

- Разбирается пол в месте установки печи, вырывается котлован глубиной в полметра.
- На дно насыпается дренажная подушка: слой мокрого песка, второй пласт битого щебня или специального гранулированного керамзита.
- На дренаж ставится опалубка из дерева, заливается бетонной смесью.
- После просушки фундамента на него кладется двухслойная гидроизоляция (рубероид).
После подготовки фундамента обеспечивается термоизоляция будущего места для прибора. Стены и потолок зашиваются огнестойким материалом, само устройство устанавливается так, чтобы до стен оставался зазор не менее 30 см.
Затем приступают к сварке деталей конструкции:
- По чертежу при помощи болгарки нарезают куски листовой стали для корпуса, внутренних камер.
- Свариваются боковые стенки, днище корпуса. В лицевой части вырезаются отверстия для топочной камеры и зольника. Внутри к стенкам корпуса привариваются металлические уголки для крепления отсеков.
- Свариваются и устанавливаются топочная камера и зольник с разделяющей их решеткой.
- Проводится сварка и последующее размещение внутренней каменки и бака для воды (при наличии в проекте).
- Приваривается труба дымохода и ножки корпуса.
После установки печи выкладывают кирпичный экран с расчетом отступа в 3—5 см от стенок устройства. Ширина кладки обычно берется в половину кирпича, в нижней части оставляют небольшие окошки для циркуляции воздуха.
Возможные сложности в установке

При самостоятельной работе над изготовлением устройства встречаются следующие ошибки:
- несоответствие размеров прибора и парной — приводит либо к быстрому перегреву воздуха, либо к невозможности создать комфортную температуру;
- недостаточно тщательная изоляция дымохода — из-за постоянного соприкосновения с раскаленным воздухом дымоход чаще всего становится причиной возникновения пожароопасных ситуаций;
- неправильное расположение экрана печи, чересчур близко к стенкам корпуса — это приводит к перегреву стали, сокращает срок эксплуатации.
Внимание! Для того чтобы избежать основных ошибок, следует перед началом работы создать точный чертеж аппарата и посоветоваться с опытным мастером
О требованиях
Самодельные модификации зачастую достойно конкурируют с заводскими изделиями. Они так же экономны, компактны, обладают достойным внешним видом, к тому же, просты в обслуживании.
Модель с водонагревателем
В качестве теплоносителей здесь может использоваться жидкое топливо, дрова, торф, древесный уголь. Возможны и другие источники энергии.
При выборе нужно соблюсти определенные требования:
тепловая мощность должна регулироваться в широком диапазоне, ибо тепла, достаточного для прогревания бани из бруса может не хватить для обогрева каркасных построек;

Конструкция печи для сауны
- необходимо наличие теплового аккумулятора и парогенератора, чтобы свободно управлять теплом и влагой;
- обязательно присутствие средств, регулирующих конвекцию (перенос энергии газами);
- полностью должны отсутствовать поверхности с температурой выше 150°С.
Кроме этого, топка печки должна соответствовать правилам пожаробезопасности. Также важны и другие параметры.
Приготовление раствора
Перед тем, как класть шамотный кирпич, готовят состав из шамотной огнеупорной глины, имеющей белый цвет. Также можно купить уже готовую смесь, предназначенную для работы с шамотом.
Но такой раствор не подходит для кладки печной конструкции. Дело в том, что при нагреве до более 700°С он спекается в монолитную структуру, а значит быстро начнет растрескиваться и осыпаться.
Когда сооружается каменка из кирпича для бани, для наружной кладки применяют раствор, в состав которого входит кварцевый песок, желательно карьерной добычи, и глина в пропорции 5 к 1. Предварительно песок просеивают сквозь сетку, имеющую ячейки 2–2,5 миллиметра.
Изготовление своими руками
Порядовка печки-каменки Кладка печи-каменки в баню мало отличается от возведения обычной
Важно тщательно соблюдать порядовку и действовать по разработанной схеме
- Фундамент гидроизолируют: укладывают 2 листа рубероида внахлест на 10 см. Битум не нужен.
- Первый ряд всегда сплошной. Фиксируют кирпичи кладочным раствором.
- На 2 и 3 ряду закладывают поддон для золы и канал для воздухообмена.
- С 4 по 6 выкладывают внутренние стены топки из шамотного кирпича, устанавливают колосники и монтируют дверцы. Для створок в кладку закладывают петли.
- В 8 и 9 монтируют опоры для сетки-каменки. В этом качестве используют отрезки профиля или тавровых балок.
- С 13 до 15 формируют ревизионные отверстия и отверстия для выхода пара.
- Во время кладки каждый нечетный ряд проверяют по уровню для соблюдения горизонтальности. Каждые 2–3 ряда в швы закладывают проволоку для усиления конструкции.
Всю фурнитуру монтируют одновременно с кладкой. Для обмотки дверец советуют брать асбестовый шнур.
Емкость для воды

Емкость для воды на дымоход В бане реализуют 2 варианта водонагревателя.
- Бак на дымоход – так как стальная труба нагреется до +500 С. Вода в баке тоже разогревается очень быстро. При этом не теряется тепло от выходящих нагретых газов, а сам дымоход дольше функционирует, так как отдает избыток тепла воде.
- Навесной – устанавливается на стене внутри парилки. Бак нагревается от корпуса каменки, а вода по трубам передается в моечную. Менее экономичная модель.
Дымоход
Печь-каменка отличается от ее аналогов тем, что для аккумуляции тепла используются натуральные природные камни. Первый сегмент трубы проходит именно через такой отсек с камнями. Также дымоход может проходить внутри емкости с водой для ее нагрева. Во всем остальном особых отличий сооружения дымохода нет. Собирать его можно из сэндвич-труб или из керамических блоков. Изготовленный дымоход в обязательном порядке утепляется.
Что касается нижней части дымохода, то она изготавливается из стали, вплоть до потолка. Необходимо установить шибер при прохождении трубы потолка.
Если применяется сэндвич-труба, то она имеет две стенки, между которым находится теплоизолирующий материал. Их можно устанавливать на участке от потолка и до грибка на кровле. Для утепления кирпичного дымохода используются базальтовые маты. Ими обматывается труба. Для фиксации матов применяется проволока. На дымоходе обязательно устанавливается зонтик или грибок. Это защитит дымоходную трубу от попадания в нее осадкой.
С другими тонкостями обустройства дымоходной трубы, вы сможете ознакомиться из видео:
Кладка

Процесс кладки очень кропотливый и сложный. Здесь существует большое количество тонкостей и нюансов, понимание некоторых приходит только с опытом. Поэтому чтобы облегчить вам выполнение этой работы, в этом разделе размещены несколько видеоматериалов, в которых пошагово рассказывается и показывается как осуществить кладку ряд за рядом.
Для примера рассмотрим изготовление открытой небольшой печи-каменки. Размер такой печи составляет 102×62 см. Она способна обогреть парилку с баком, при этом сам бак располагаете отдельно. В нем используется интересная система подогрева воды – открытый сифон. Так, под небольшим углом в бак вваривается труба, которая на конце запаяна. Она должна находиться под открытым огнем в топке. Как только вода в трубе закипает она поднимается в бак, а на ее место поступает холодная.
Ниже на схеме приведен пример печи с открытой каменкой:

Схема открытой каменки А также схема порядовки топки открытой каменки:
Порядовка топки
Ниже на схеме порядовка кладки кирпича печки:
Порядовка кладки кирпича
Если вы хотите сделать закрытую печь-каменку, то учтите, что это гораздо сложнее реализовать. Имеется множество нюансов, которые необходимо учитывать при ее кладке. Описать весь технологический процесс довольно-таки сложно, поэтому предлагаем вам просмотреть ознакомительное видео. Особенность такой печи в том, что резервуар для камней выкладывается из шамотного кирпича:
Видео об изготовлении закрытой печи-каменки:
Стоит заметить, что по окончании кладки просушка должна составлять 10 дней. При этом недопустимы сквозняки. Только спустя это время можно произвести первую топку.
Железная каменка
Изготавливается из листовой стали или чугуна. Отличается от кирпичной незначительной толщиной стенок и непрерывным горением. Большинство моделей оборудуется автоматическими терморегуляторами, что позволяет более экономно расходовать топливо или электроэнергию. Температура внутри печи может достигать 450-500ᵒС.
Каменка из металла
При эксплуатации пар расходится сразу по всему помещению, поэтому нежелательно заливать на камни большие порции воды (не более 700 г), но если площадь большая, то объем можно увеличить.
В финских банях, где используется сухой пар, устанавливаются электрические каменки, прогревающие камни за счет ТЭНов.
Ввиду сложности конструкции металлические каменки (особенно электрические) не рекомендуются к самостоятельному изготовлению.
медные
Камины из цветного металла стоят дороже, чем чугунные или стальные. Но они позволяют привнести в интерьер теплые медные оттенки. Бронзовый камин менее склонен к коррозии и ржавчине. А пластичность материала позволяет изготавливать из него детали любой сложности и филигранности, что позволяет сделать камин настоящим произведением искусства.

По назначению металлические камины подразделяются на следующие группы:
устройства отопления. Это самая распространенная группа каминов, выполняющих лишь основную функцию – обогрев помещения;

печи-камины. Верхняя поверхность таких печей является варочной плитой. Таким образом можно даже на небольших каминах подогреть еду или, например, вскипятить чайник;

мангал. Оказывается, это тоже одна из разновидностей металлических каминов. Основная функция в таких конструкциях с открытым верхом – приготовление пищи на углях или дровах при слабом горении;

декоративные камины. Особого тепла они не дают, зато в металлических декоративных каминах можно наблюдать за игрой живого огня. Существуют очень компактные модели декоративных каминов, пригодные для установки в самых маленьких нишах.

Типы печей для бани

Типы печей для бани Каменки в деревянной бане классифицируют по самым разным признакам. Например, различают модели постоянной и периодической топки. Первые дают довольно жесткий пар, поскольку здесь камни даже на плоской поверхности не раскаляются выше +350 С. Модель периодической топки обогревает только парную. Здесь камни прогреваются не только за счет нагрева, но и благодаря прохождению сквозь решетку раскаленного газа. В основании каменной горки температура может достигать 1100 С, поэтому пар здесь получается мягкий – тонкодисперсный и не затрудняющим дыхание.
По материалу
Корпус устройства изготавливают из двух основных материалов: металлического сплава и кирпича.

Металлическая каменка
Металлический сплав – специальные жаростойкие стали и чугун. Такие конструкции привлекают небольшим весом, компактностью при очень высоком КПД, быстротой прогрева – за 1 час протапливается средних размеров парилка. Кроме того, печи из железа могут быть красиво и необычно оформлены.
Однако у такого проекта масса минусов. Металл быстро отдает тепло, но и не удерживает его: печь охлаждает мгновенно, и температура в помещении резко скачет. Корпус сильно нагревается, что представляет опасность для отделанного деревом помещения. Чаще всего каменку приходится окружать защитным экраном и ее дизайн становится неважным.

Каменка из жаропрочного кирпичаКаменка из жаропрочного кирпича прогревает помещение медленнее – до 6 часов, но зато поддерживает температуру в парилке уже после окончания топки не менее 2 часов. Камень слабее нагревается, поэтому опасность пожара намного ниже. Кирпичная печь может обогреть помещение с площадью более 30 м². Долговечность ее намного выше железного аналога.
К минусам относится большой вес: для печки придется возводить собственный фундамент. Укладка ее сложна, требует опыта, ухаживать за ней труднее. Да и размеры каменки весьма изрядны.
Если металлическую печь заделывают кирпичным барьером, общие габариты оказываются сравнимы с кирпичной каменкой.
По типу топлива

Газовая печь-каменка Печь в парилке классифицируют по виду топлива:
- дровяная – самая популярная, так как стоимость дров наименьшая;
- угольная – встречается реже, так как уголь дает более высокую температуру и контролировать прогрев помещения оказывается намного сложнее;
- газовая – такую допускается установить только при наличии специального разрешения;
- электрическая – чаще встречается в домашних саунах и привлекает высокой пожаробезопасностью, но дорога в обслуживании.
Принципы выбора

Печка монтируется между парной и предбанником Критерии таковы:
- мощность – определяется размером парилки и количеством пользователей;
- материал – на сегодня лучшим вариантом считают хромистую сталь, так как она снижает выжигание кислорода;
- вид топки – удлиненная, то есть печка монтируется между парной и предбанником, и обычная закрытая;
- вид каменки – плоскость, сетка рядом с корпусом, экран вокруг корпуса и части дымохода;
- длительность работы при одной закладке определяется конструкционными особенностями печи;
- скорость прогрева – «горячая» печь прогревает комнаты за пару часов, но быстро остывает, «холодная» удерживает температуру.
Важны и другие критерии, наподобие наличия водонагревателя, защитных устройств, предупреждающих попадание угарного газа в помещение, режимов работы, исполнения и удобство растопки.
Принцип работы электрокаменки
Традиционная печь для бани содержит три основных компонента. Это топливный отсек, дымоход и каменка. Если для отопления используются дрова, то их нужно своевременно загружать в печь, разжигать, поддерживать огонь, убирать золу. Несколько проще с газовой печью. В этом случае нет необходимости возиться с дровами и золой. Однако конструкция все равно требует наличия отдельной камеры сгорания и дымохода.

У электропечей в данном аспекте явное преимущество перед дровяными и газовыми. О дымоходе здесь вообще нет речи, камера сгорания тоже не нужна. Поэтому нагревательные элементы могут находиться в одном отделении с камнями. Это значительно упрощает конструкцию и делает обслуживание печи на порядок более легким.
Небольшим переносным электрокаменкам свойственно еще одно преимущество — мобильность. Если дровяные печи привязаны к дымоходу, то электрическую можно легко переставить внутри помещения или вообще перенести в другую баню.

Несколько более сложной конструкцией отличается электрокаменка с парогенератором. При ее использовании отпадает необходимость подливать воду на камни. Электрокаменка сама регулирует подачу пара в автоматическом режиме. Существует и функционал для регулирования температуры. При этом пользователь может выбрать удобный для себя температурный режим.
Отметим важный момент
При выборе электрокаменки с парогенератором нужно обращать внимание на особенности производимого ею пара. Для русской бани нужен непременно мелкодисперсный, легкий пар
При этом некоторые модели генерируют тяжелый пар, который плохо подходит для парилки.
Возможные ошибки
Для каменки рекомендуется выбирать базальтовый камень
Каменка в бане будет функционировать долго и правильно, если при ее обустройстве соблюдать определенные рекомендации.
Для кладки корпуса лучше брать глиняный красный кирпич
Для топки подходит только шамотный, замена недопустима.
Важно подобрать правильную консистенцию глиняного раствора для кладки. Если он будет слишком сухим и жидким – кладка выкрошится, слишком жирным – стыки будут неплотными.
Для каменки годится не всякий камень
Выбирают базальт, талькохлорит, андезит.
Камни подбирают относительно плоской формы и укладывают в вертикальном положении. При горизонтальном размещении тепло распространяется неравномерно.
Пробный розжиг выполняют после полного высыхания кладки, длится он не более 5 минут. В течение 3 суток процедуру повторяют несколько раз в день. Только после этого приступают к полноценной протопке парной.
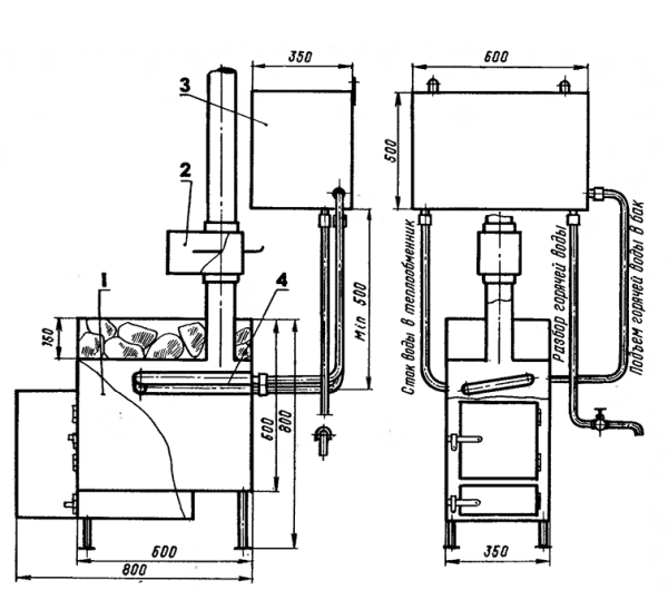
Изготовление топки печи для бани из металла
Разберем пошаговое изготовление печи для бани своими руками из металла на примере печи закрытого типа. В такой печи каменка изолирована перегородкой, так что для получения пара необходимо будет открывать ее дверцу. На этом примере можно получить базовое понимание того, как сварить печь в баню.
Для изготовления печи из металла своими руками необходимо произвести минимальные расчеты по схеме – для этого понадобится простой чертеж печи для бани закрытого типа. Множество из них находится в открытом доступе, вместе с формулами производимых расчетов. Ниже будут приведены лишь усредненные значения.
Сборка конструкции печи для бани потребует следующих материалов:
- лист стали толщиной не менее 8 мм;
- колосник (можно приобрести в специализированных магазинах);
- металлическая труба с толщиной стенок не менее 10 мм и диаметром 50-60 см (можно сварить самостоятельно, исходя из рассчитанных параметров);
- пруток 10 мм;
- дверцы и щеколды для составных частей печи – поддувала, каменки и топки;
- кран для воды;
- около 2 метров трубы, части которой потребуются для создания различных деталей конструкции.
Для работы понадобится сварочный аппарат и болгарка. Не забудьте о соблюдении техники безопасности при работе со сваркой.

Изготовление поддувала
Поддувало для печи своими руками делается из стальной трубы. В длинном (90 см) отрезке трубы болгаркой вырезают поддувало размерами 50х200 мм. Над отверстием с внутренней стороны трубы делается сварной шов под крепление для колосника – для этого нужна металлическая пластина с проушинами. Из вырезанных частей металла изготавливаются дверки – к заготовкам нужно приварить петли, ручки и задвижки.
Создание топки
В трубе необходимо наметить заднюю часть и прорезать в ней круглый ход для дымоотвода. К нему приваривается горизонтальный патрубок, а затем к нему присоединится основная труба. Длина дымохода не должна составлять менее 5 м и возвышаться над крышей здания меньше, чем на 50 см.
Собираем печь для бани своими руками из металла
Наверху топки нужно оборудовать каменку для бани своими руками. Из малого (60 см) отрезка трубы сооружается водяной бак и устанавливается на минимальном расстоянии от топки. Бак оснащается краном. К днищу печи привариваются металлические ножки для надежной опоры. В местах соприкосновения труб со стенами и потолком, а также вокруг печки необходимо проложить термозащитные материалы.
Установка печи в бане
Так как металлическая печь весит гораздо меньше кирпичной, постройка отдельного фундамента под нее не требуется. Однако стены и пол в той области, где она будет находиться, требуется тщательно изолировать негорючими теплоизоляционными материалами. В качестве слоев для его теплоизоляции могут быть использованы следующие материалы:
- слой асбестового картона;
- лист нержавейки;
- слой огнеупорного кирпича не менее 6 см толщиной;
- бетонная стяжка или плита из магнезита не менее 9 мм толщиной.
Постамент для печи должен иметь абсолютно ровную поверхность для устойчивости конструкции.
Как выбрать
Металлические печи приобретаются в готовом виде. Это удобно, так как покупатель получает сразу готовую печь, обладающую известными параметрами и возможностями. При этом, есть и самодельные печи. Они вполне функциональны, но не обладают такой внешней привлекательностью, как готовые промышленные образцы.

Кроме того, самодельные печи могут быть изготовлены только из стали. Если использовалась нержавейка толщиной 4-5 мм, срок службы печи будет достаточно продолжительным. Если же печь сварили из обычной листовой стали малой толщины (2-3 мм), она довольно быстро прогорит (хотя и здесь все зависит от нагрузки и особенностей конструкции).
Чаще всего, металлическую печь выбирают, руководствуясь следующими критериями:

тип топлива
Это самый главный момент, определяющий большинство параметров печи. Большинство пользователей предпочитает дровяные печи (поэтому они преобладают в ассортименте торговых сетей);

размер каменки
Если она велика, придется потратить много топлива для нагрева. Однако, большая каменка долго остывает, поддерживая температуру в бане после завершения растопки печи;

мощность
Как правило, этот показатель используется не в обычном значении — в киловаттах, а в виде объема, который данная печь способна прогреть;

наличие бака с водой
Это удобный и практичный способ подготовки горячей воды;

материал печи — сталь или чугун
Стальные печи дешевле, но чугунные — качественнее и долговечнее.
Водяной бак
Размер емкости для нагревания жидкости определяется исходя из максимального количества пользователей баней. Если учесть, что одному человеку должно хватить до 10 л, то объем емкости высчитывается путем умножения этого числа на предполагаемое количество пользователей.
Выбирая бак открытого типа, вы определенно получаете следующие преимущества:
- удобство наполнения емкости водой;
- свободный доступ к печи;
- простота очистки резервуара от накипи;
- легкое удаление остатков жидкости для предотвращения ее замерзания при отсутствии необходимости растопки бани зимой.
При использовании открытой емкости допускается лишь небольшое испарение.

Какие камни лучше в русскую баню?
Для извлечения пара хорошего качества требуется правильно выбирать камни для засыпки в каменку печи и правильно их укладывать (начинают с крупных, заканчивают мелкими). Чтобы выполнять функцию обеспечения бани паром продолжительное время, камни должны обладать следующими характеристиками:
- максимальной теплопроводностью;
- однородностью;
- прочностью;
- теплоёмкостью.
Овальная и круглая форма булыжников даже при произвольном укладывании обеспечит получение гарантированных воздушных пространств между ними, а, значит, и циркуляцию воздуха, и влаги в бане.
В саунах применяют гладкие булыжники, а для влажных парилок и русской бани больше подойдёт пористая структура. Лучшими считаются камни из жадеита, диабаза, дунита, порфирита и базальта.
Применение гранитных и мраморных пород для бани не рекомендуется. Минимальный габарит равен пяти сантиметрам, максимальный составляет 12 см.
Часто возникающие вопросы
Выбор и эксплуатация металлических печей — сложные мероприятия. У неопытных людей возникает масса однотипных вопросов. Ответим на самые частые из них:
Какой тип топлива экономичнее?
Принято считать, что максимальной экономии можно достичь на газовых печах. Остальные конструкции более расходные, особенно электрические печи.
Как избежать ожога о корпус печи в небольшом помещении?
Существуют разные виды ограждений. Некоторые владельцы обкладывают печь кирпичом, увеличивая равномерность нагрева и срок остывания. Выбор подходящего варианта зависит от личных предпочтений владельца.
Какой размер каменки нужен, чтобы можно было без опаски поддавать пару в русской бане?
Чем больше каменка, тем лучше. Считается, что в русской бане можно использовать печи с каменкой от 100 кг. Однако, здесь надо учитывать особенности конструкции и форму самой печи.
Какие печи удобнее, с длинным или коротким топливным тоннелем?
Принято считать, что удобнее всего печи с длинным тоннелем. Однако, на практике все зависит от типа топлива и специфики его использования.
Надо ли устанавливать защитные противопожарные экраны для металлической печи?
Все зависит от особенностей конструкции. Некоторые модели можно установить без противопожарных элементов. Однако, в этом вопросе следует проконсультироваться с инспектором ПО, который осмотрит печь и даст грамотную рекомендацию.
Все зависит от особенностей конструкции. Некоторые модели можно установить без противопожарных элементов. Однако, в этом вопросе следует проконсультироваться с инспектором ПО, который осмотрит печь и даст грамотную рекомендацию.
























![20+ особенностей конструкций печи для бани [+23 фото]](https://nikastroy.ru/wp-content/uploads/6/6/2/66276177dd85836c447bdea90e67f538.jpeg)










