Пайка полипропиленовых труб

Перед началом работ нужно подготовить инструменты и оборудование необходимое для монтажа.
- Для пайки полипропиленовых труб используют специальный паяльник. Его конструкция сделана таким образом, чтобы одновременно нагревать внутреннюю часть одного элемента и внешнюю часть другого. Для каждого из диаметров труб в комплекте паяльника имеются насадки. Каждый прибор снабжен регулятором мощности, благодаря которому можно регулировать температуру нагрева.
- Также понадобится острый нож, и инструмент для зачистки труб, которые армируются фольгой.
- Время пайки зависит от диаметра труб и температуры окружающей среды. Передерживать трубы нельзя. В противном случае расплавившийся полипропилен создаст естественную преграду потоку воды в месте соединения. Так для трубы диаметром 20 мм время нагрева составляет всего 5 секунд, тогда как трубу диаметром 75 мм необходимо нагревать около 30 секунд.

Процесс пайки труб проводится довольно просто:
- Первым делом на нагревающуюся деталь паяльника одеваются насадки, которые соответствуют диаметру спаиваемых труб.
- Затем паяльник включается на мощность, которая соответствует рекомендуемой для определенного типа трубы.
- Две детали одеваются на насадки (одна снаружи, другая внутри) и выдерживаются необходимое время. В процессе одевания (протягивания) соединяемых деталей на насадку, на поверхности полипропилена образуется наплыв, который играет роль бортика.
- По прошествии определенного времени детали снимаются с паяльника и соединяются между собой. Для того чтобы полипропилен застыл, необходимо удерживать их на протяжении 30 секунд.
- Обязательно необходимо помнить, что при нагревании или соединении ни в коем случае нельзя вращать детали. В противном случае полипропилен «съедет» и соединение может стать не герметичным. Это главное правило монтажа пластиковых труб.
- В настоящее время производители насадок сделали специальную оправку, которая сигнализирует о том, что пора прекращать нагрев. В ней просто сделано небольшое отверстие. Когда полипропилен уже нагрет, он начинает вытекать через отверстие. В этом случае детали снимают с паяльника. Таким образом паяют абсолютно все полипропиленовые трубы, в том числе и трубы отопления.
Порядок монтажа
Собирается однотрубная система следующим образом:
- В хозяйственном помещении устанавливается на пол или вешается на стену котел. С помощью газового оборудования может быть устроена самая надежная и эффективная однотрубная система отопления двухэтажного дома. Схема подключения в этом случае будет стандартной и позволит произвести все работы, при желании, даже и самостоятельно.
- На стены вешаются радиаторы отопления.
- На следующем этапе монтируются стояки «подводящий» и «обратный» на второй этаж. Располагают их в непосредственной близости от котла. Внизу к стоякам присоединяется контур первого этажа, вверху – второго.
- Далее выполняется подключение к магистралям батарей. На каждый радиатор следует установить запорный кран (на подводящем отрезке байпаса) и кран Маевского.
- В непосредственной близости от котла на «обратной» трубе монтируется расширительный бак.
- Также на «обратной» трубе поблизости от котла на байпасе с тремя кранами подключается циркуляционный насос. Перед ним на байпасе врезается специальный фильтр.
На заключительном этапе производится опрессовка системы в целях выявления неисправностей оборудования и протечек.
Как видите, однотрубная система отопления двухэтажного дома, схема которой максимально проста, может очень даже удобным и практичным оборудованием
Однако при желании использовать такую простую конструкцию, на первом этапе важно произвести все необходимые расчеты с максимальной точностью
Задумываясь над установкой отопления, первоначально определяются, какой вид топлива будет использоваться
Но наряду с этим крайне важно решить, насколько планируемый обогрев будет действительно независимым. Так, по-настоящему автономной будет система отопления без насоса, которой для работы не нужна электроэнергия. Для эффективной работы понадобится лишь источник тепла и правильно расположенный трубопровод
Для эффективной работы понадобится лишь источник тепла и правильно расположенный трубопровод.
Контур отопления — это совокупность элементов, предназначенных для обогревания жилища путём передачи тепла воздуху. Наиболее распространённым видом отопления является система, использующая в качестве источника нагрева котлы или бойлеры, подключённые к водопроводу. Вода, проходя через нагреватель, достигает определённой температуры, а после направляется в отопительный контур.
В системах с теплоносителем, в качестве которого используется вода, циркуляция может быть организована двумя путями:
В качестве источника тепла, служащего для нагревания воды, используются котлы (бойлеры). Их принцип действия основан на превращении определённого для них рода энергии в тепло с последующей его передачей теплоносителю. По типу источника нагрева котельное оборудование бывает газовым, твердотопливным, электрическим или мазутным.
По типу соединения элементов контура система отопления может быть однотрубной или двухтрубной. Если все приборы контура включены относительно друг друга последовательно, то есть теплоноситель проходит по порядку все элементы и возвращается в котёл, то такая система называется однотрубной. Её существенным недостатком является неравномерность прогрева. Это связано с тем, что на каждом элементе происходит потеря какого-то количества тепла, поэтому разница температур котла может быть существенной.
Система двухтрубного типа подразумевает параллельное подключение радиаторов к стояку. К недостаткам такого подключения относят осложнение конструкции и увеличенный в два раза расход материала по сравнению с однотрубной системой. Но построение контура обогрева для больших многоэтажных помещений выполняется только таким соединением.
Система с гравитационной циркуляцией чувствительна к ошибкам, допущенным во время монтажа отопления.
Способ соединения
Схема пошаговой сварки труб из полипропилена для отопления.
Крепкое соединение позволяет устанавливать систему в абсолютно любом месте, например, спрятать ее в стену, закрыть штукатуркой, без опасений провести через перекрытия или скрывать в полах. Производится соединение при помощи сварки, для этого используют специальный сварочный аппарат для полипропилена, носящий среди строителей название паяльник. Аппарат этот очень легко изучить, и на понимание его принципа работы уйдет не более 10-15 минут.
В первую очередь для сварки необходимо подготовить сам инструмент, к нему необходимо плотно прикрепить насадки именно того диаметра, который подходит для конкретного случая. Делается это посредством винтов, их устойчивость стоит проверить перед тем, как включать сварку. Прежде чем включать аппарат, его надо проверить на наличие повреждений, убедиться, что соблюдены все нормы безопасности, он надежно зафиксирован и правильно подключен
Это важно, так как сварочный аппарат достигает 250-270 градусов, и халатное отношение может привести к травмам
Когда инструмент включают, он нагревается постепенно, только когда встроенный термометр показывает отметку в 250 градусов, можно начинать сам монтаж. Для этого берутся два элемента, помещаются в соответствующие насадки, где нагреваются в течение пары секунд, и их верхний слой слегка плавится. После их вынимают, аккуратно и быстро соединяют, прижимая друг к другу некоторое время. Сваркой образуется целостный монолитный элемент, скрепления невозможно разъединить.
Определение диаметра труб для однотрубной системы с принудительной циркуляцией
Принцип остается тем же, меняется методика. Давайте используем другую таблицу для определения диаметра труб с иным принципом занесения данных.
В ней оптимальная зона скоростей движения теплоносителя окрашена в голубой цвет, значения мощностей находятся не в колонке сбоку, а внесены в поле. Потому сам процесс немного другой.
По этой таблице рассчитаем внутренний диаметр труб для простой однотрубной схемы отопления на один этаж и шесть радиаторов, подключенных последовательно. Начинаем расчет:
- На вход системы от котла подается 15 кВт. Находим в зоне оптимальных скоростей (голубой) значения близкие к 15 кВт. Их два: в строке размером 25 мм и 20 мм. По понятным причинам, выбираем 20 мм.
- На первом радиаторе тепловая нагрузка снижается до 12 кВт. Находим это значение в таблице. Получается, что от него идет дальше такого же размера — 20 мм.
- На третьем радиаторе нагрузка уже 10,5 кВт. Определяем сечение — все те же 20 мм.
- На четвертый радиатор, судя по таблице, идет уже 15 мм: 10,5 кВт-2 кВт=8,5 кВт.
- На пятый идет еще 15мм, а после него уже можно ставить 12 мм.
Еще раз обратите внимание, что в расположенной выше таблице определяются внутренние диаметры. По ним затем можно найти маркировку труб из нужного материала
Кажется, проблем с тем, как рассчитать диаметр трубы отопления, быть не должно. Все достаточно понятно
Но это справедливо для полипропиленовых и металлопластиковых изделий — у них теплопроводность невысокая и потери через стенки незначительные, потому при расчете их во внимание не берут
Другое дело — металлы — сталь, нержавейка и алюминий. Если протяженность трубопровода значительная, то и потери через их поверхность будут значительными.
Виды радиаторов для обвязки
Для установки системы отопления необходимо выбрать тип радиатора. Различные виды отопительного оборудования отличаются по крепежу к стене, материалам изготовления, подключению труб. Сегодня производители предлагают следующие варианты:

Устройство секционных радиаторов.
- Панельные стальные батареи, выполненные в виде относительно тонких сплошных панелей. Подключение таких радиаторов может быть боковым либо нижним.
- Секционные облегченные, изготовленные из алюминия. Также часто используются биметаллические. Такие батареи можно подключать по одной либо нескольким секциям, соединение с общей системой боковое, трубы полипропиленовые подходят идеально.
Для квартир, где имеется центральное отопление, используются биметаллические радиаторы (чугунные применяются все реже, это объясняется их большим весом, громоздкостью, хрупкостью). Связано это с тем, что в воде, которая подается в систему отопления, часто находится щелочь, песок, которые могут повредить остальные типы радиаторов.
Для частного дома же отлично подходят алюминиевые, стальные панельные радиаторы, при этом необходимо соблюдать все условия для подключения (для медного трубопровода используются стальные и алюминиевые радиаторы, для обычного — можно только алюминиевые).
Комплектующие для подключения радиаторов
Отопление — это довольно сложная система, подключение которой требует участия специалиста. Кроме радиаторов и труб, необходимо приготовить и комплектующие, без которых соединение будет просто невозможным.
Комплект подключения состоит из:

Комплектующие для подключения радиаторов.
- набора, включающего заглушку, переходники, ручной воздухоотводчик, ключ для выпуска воздуха из батарей плюс трубы;
- футорки, или переходники, которые имеют праву и левую резьбу;
- специальные инструменты для навинчивания переходников.
Запорная арматура для батарей тоже требуется, не стоит забывать и про трубы. Сюда же относятся шаровые краны, вентили для прекращения подачи рабочего потока либо его регулирования.
Монтаж трубопровода
Монтаж трубопровода отопления в частном доме заключается в соединении отдельных элементов в единую систему. Выполняют следующие операции:
- раскладка элементов согласно схеме;
- сварка или пайка труб;
- соединение с помощью фитингов;
- присоединение отопительных приборов.
В виду того, что пластиковые материалы удлиняются при нагреве, устанавливают компенсаторы. Это петля из трубы, которую впаивают в трубопровод на длинных прямых участках. После завершения монтажных работ необходимо провести испытание под рабочим давлением.
Как спаять отопительный трубопровод
Как правильно спаять отопление из пропиленовых труб расскажем далее. При нагревании полипропилена до +260 градусов происходит его плавление, что позволяет соединять отдельные элементы. Это обеспечивается явлением полифузии – взаимопроникновением атомов. Получаем стык двух деталей, не разделенных границей.
Паяльник выбирают в зависимости от вида пайки — стыковой, муфтовой или фитинговой. Он имеет насадки, на которые надевают отрезки соединяемых труб или трубу и фитинг. После нагрева их плотно соединяют и выдерживают 4-6 секунд Время нагрева и остывания соединяемых полипропиленовых элементов зависит от их диаметра. Данные приведены в таблице, которую можно найти в специальной литературе.

Крепление трубопровода к стене
Крепление трубопровода к стене осуществляют с помощью клипс и хомутов. Клипсы обеспечивают неподвижность трубы вдоль оси.
Хомутом крепят к стене, размещая трубы не ближе 20 мм от нее. Крепежные детали располагают на расстоянии не более полутора метра друг от друга. В местах поворота или разветвления труб устанавливают дополнительный крепеж.

Крепление радиаторов
Радиаторы навешивают на металлические кронштейны, входящие в комплект поставки, и закрепленные к стене дюбелями. Их толщина зависит от веса батареи. Чугунные элементы дополнительно опирают на ножки.
Схемы отопления из полипропилена для частного дома
- однотрубная или двухтрубная;
- двухтрубная с горизонтальной разводкой;
- двухтрубная с вертикальной разводкой;
- коллекторная.
Однотрубная схема предусматривает прохождение жидкости в одну сторону. Она применяется при последовательном соединении радиаторов. В двухтрубной модели есть линия обратного движения.
Двухтрубная схема с горизонтальной разводкой
В данной схеме полипропиленовые трубы расположены вдоль стены чуть выше уровня пола, что делает их малозаметными и не нарушает эстетику помещения. Это обычная двухтрубная система с нижней разводкой. Чаще всего радиаторы отопления установлены по периметру комнаты.

Схема вертикальной разводки
Вертикальная компоновка используется при отоплении усадебных домов в 2 этажа и более. Нагретая жидкость транспортируется между этажами по стоякам. Компоновка может быть по отношению к радиатору верхней или нижней. Верхняя модель чаще применяется при естественной циркуляции. На каждом этаже можно сделать горизонтальную схему распределения тепла. В данном случае устанавливают один стояк, по которому теплоноситель будет передаваться на каждый этаж.
Использование распределительного коллектора
В модели отопления с принудительной циркуляцией часто устанавливают коллектор. В нем от основного стояка отходит гребенка из труб, их количество равно числу потребителей тепла. На каждой полипропиленовой трубе имеется отдельный вентиль, который отключает определенную линию. Такая система позволяет равномерно распределять тепло, при необходимости снижать температуру в частном доме.
Недостаток – высокая стоимость монтажа, так как увеличивается длина трубопровода и количество фитингов. Однако эксплуатировать ее удобно, есть возможность отдельно отключить поврежденный участок. Сложные коллекторы оборудованы приборами автоматики, которые регулируют температуру теплоносителя, отключают систему при аварийной ситуации.
Одним из способов отопления жилища является водяной теплый пол. Полипропиленовые трубы повсеместно используются для его устройства. Систему водяного подогрева полов подключают к основной отопительной сети.
Организация отопления усадебного дома является сложным процессом. Для выполнения его самостоятельно нужно изучить способы и модели прокладки труб, выбрать подходящие материалы и арматуру. Не лишним будет ознакомиться с проектами отопления жилых зданий, близких по конструкции и размерам к вашему дому.
Просмотров:
1 370
Этап третий. Монтаж трубопровода
Пайка полипропиленовых труб по шагамСварка полипропиленовых труб враструб
При прокладке магистрали понадобятся:
- трубы;
- тройники;
- шаровые краны;
- заглушки;
- переходники;
- отводы;
- муфты;
- разъемные соединительные элементы;
- резьбовые фитинги;
- пластиковые хомуты.
В первую очередь проводится монтаж основных элементов системы (сантехники, радиаторов, котлов и проч.), после чего в соответствии с составленным проектом размечается будущая магистраль. Элементы трубопровода соединяются между собой с помощью муфт.
Если речь идет об отоплении или горячем водоснабжении, то учитывается термальное расширение. Для компенсации последнего желательно использовать подвижные соединения. При монтаже закрытого трубопровода вначале штробируются стены (в соответствующих местах проделывается канавка шириной в два диаметра трубы).
Заполнение трубопровода жидкостью допустимо лишь по истечении одного часа с окончания монтажа. Гидравлическое испытание можно проводить только через сутки.
Результат работыРезультат работыРезультат работы
Разводка полипропиленовых труб
Полипропиленовые трубы используют для монтажа гребенки холодной или горячей воды, отопления. Выбор диаметра в каждом случае индивидуален — зависит от объема жидкости, которую необходимо прокачать в единицу времени, требуемой скорости ее движения (формула на фото).
Формула расчета диаметра полипропиленовых

Расчет диаметров труб для систем отопления — это отдельная тема (определять диаметр надо после каждого ответвления), для водопроводов все проще. В квартирах и домах для этих целей используют трубы диаметром от 16 мм до 30 мм, причем самые ходовые — 20 мм и 25 мм.
Считаем фитинги
После определения диаметра считается общая протяженность трубопровода, в зависимости от его строения докупаются фитинги. С длиной труб все относительно просто — измеряете протяженность, добавляете около 20% на погрешность и возможные браки в работе. Чтобы определить, какие фитинги нужны, требуется схема трубопровода. Нарисуйте ее, обозначив все отводы и приборы, к которым требуется подключаться.
Пример разводки полипропиленовых труб в ванной
Для подключения ко многим приборам требуется переход на металл. Есть и такие полипропиленовые фитинги. У них с одной стороны латунная резьба, с другой — обычный фитинг под пайку. Сразу надо смотреть диаметр патрубка подключаемого прибора и тип резьбы, которая должна быть на фитинге (внутренняя или наружная). Чтобы не ошибиться лучше все записывать на схеме — над тем отводом, где будет установлен данный фитинг.
Далее по схеме считается количество «Т» и «Г» образных соединений. Для них покупаются тройники и уголки. Бывают еще крестовины, но они применяются редко. Уголки, кстати, есть не только под 90°. Есть по 45°, 120°. Не забудьте про муфты — это фитинги для стыковки двух отрезков труб. Не забывайте, что полипропиленовые трубы совершенно не эластичны и не гнутся, потому каждый поворот делают при помощи фитингов.
Когда будете закупать материалы, договоритесь с продавцом о возможности замены или возврата части фитингов. Проблем обычно не возникает, так как даже профессионалы не всегда могут сразу точно определиться с требуемым ассортиментом. Кроме того, в процессе монтажа иногда приходится менять структуру трубопровода, а значит, меняется набор фитингов.
Компенсатор для горячего водопровода и отопления из полипропиленовых труб
Полипропилен имеет довольно значительный коэффициент температурного расширения. Если монтируется полипропиленовый горячий водопровод или система отопления, требуется сделать компенсатор, при помощи которого будет нивелироваться удлинение или укорочение трубопровода. Это может быть фабричная петля-компенсатор, или собранный по схеме компенсатор из финигов и кусков труб (на фото выше).
Способы укладки
Есть два способа монтажа полипропиленовых труб — открытый (по стене) и закрытый — в штробах в стене или в стяжке. По стене или в штробе трубы из полипропилена крепят на держатели-клипсы. Они есть одинарные — для укладки одной трубы, есть двойные — когда две ветки идут параллельно. Крепятся на расстоянии 50-70 см. Труба в клипсу просто вставляется и держится благодаря силе упругости.
Крепление полипропиленовых труб к стенам

При укладке в стяжку, если это теплый пол, трубы крепят к армирующей сетке, другого дополнительного крепления не требуется. Если замоноличиваться будет подводка к радиаторам, трубы можно не крепить. Они жесткие, свое положение даже при заполнении теплоносителем не меняют.
Вариант скрытой и наружной проводки в одном трубопроводе (за ванной проводку сделали открытой — меньше работы)

Нюансы пайки
Сам процесс сварки полипропиленовых труб, как вы видели, труда особого не оставляет, но вот тонкостей есть очень много. Например, непонятно, как при стыке труб подгонять участки так, чтобы трубы были ровно той длины, которая требуется.
Другой момент сварки полипропиленовых труб — пайка в труднодоступных местах. Не всегда есть возможность надеть на паяльник с двух сторон трубу и фитинг. Например, паяем в углу. Паяльник, приходится засовывать в угол, с одной стороны насадка упирается прямо в стену, фитинг на нее не натянешь. В этом случае ставят второй комплект насадок такого же диаметра и на нем греют фитинг.
Как паять полипропиленовые трубы в труднодоступном месте:
Как перейти с железной трубы на полипропилен:
Технические характеристики полипропиленовых труб для отопления
Аббревиатуру, с информацией о рабочих параметрах изделия, наносят на стенки труб. Базовая маркировка полипропилена (РР) соответствует международным стандартам:
- логотип фирмы производителя;
- буквенное обозначение и дополнение о модификации изделия (PP-random, PPRC, PPs);
- условное давление (PN25 МПа) рабочей среды;
- внешний диаметр и размер стенки изделия;
- класс эксплуатации;
- предельно допустимое рабочее давление в барах, которое опосредованно указывает на срок службы изделия;
- стандарт продукта.

Полипропиленовые трубы могут быть армированы стекловолокном или алюминием
Описание конструктивных особенностей, назначения и области применения продукта приводит производитель в техническом паспорте изделия. Таблица, в качестве примера, приводит данные о продукции производителя VALTEC (Италия):
| Класс | Место применения | Рабочее давление, бар | |
| Стекловолокно | Алюминий | ||
| 1 | Горячее водоснабжение, Т = 60°С | 13 | 14 |
| 2 | Горячее водоснабжение, Т = 70°С | 10 | 11 |
| 3 | Теплые полы, Т = 50°С | 14 | 18 |
| 4 | Теплые полы, Т = 70°С | 10 | 13 |
| 5 | Радиаторное отопление (с учетом типа армирования трубы: алюминиевая фольга Т = 90°С, стекловолоконная фибра Т = 90°С) | 6 | 9 |
Изделия с внутренней вставкой алюминиевой фольги применяют преимущественно для отопления. Армирование полипропиленовых труб стекловолокном также позволяет их использование в радиаторных контурах, теплых полах и горячем водоснабжении частных домов. Однако трубы с внутренним слоем из стекловолоконной фибры допускают незначительное удлинение линейных участков при нагреве и проницаемость кислорода.
Технические характеристики армированных труб из полипропилена (производитель VALTEC):
| Физические свойства | Алюминиевая фольга | Стекловолоконная фибра | ||||
| Диаметр и толщина стенки трубы, мм | ||||||
| 25х4,2 | 32х5,4 | 40х6,7 | 25х3,5 | 32х4,4 | 40х5,5 | |
| Внутренний диаметр | 16,6 | 21,2 | 26,6 | 18 | 23,2 | 29 |
| Номинальное давление, PN, бар | 25 | 20 | ||||
| Масса погонного метра трубы, кг | 0,262 | 0,446 | 0,880 | 0,235 | 0,378 | 0,590 |
| Плотность PPR, г/см³ | 0,91 | 0,91 | ||||
| Наполнение трубы, литров в 1 пгм | 0,217 | 0,353 | 0,556 | 0,254 | 0,423 | 0,660 |
| Удельная теплоемкость при кДж/(кг*ºС) | 1,75 | 1,75 | ||||
| Предел усилия на разрыв, МПа | 35 | 35 | ||||
| Кислородопроницаемость, мг/м² в сутки | − | |||||
| Эквивалентная шероховатость внутренней поверхности, мм | 0,01 | 0,015 | ||||
| Линейное увеличение длины 1/ºС | 3,1х10-5 | 6,2х10-5 | ||||
| Коэффициент теплопроводности, Вт/(м*ºС) | 0,24 | 0,15 |
Фитинги и вентили для систем отопления из полипропилена выполняют из аналогичного материалу труб random сополимера. Элементы без резьбы предназначены для соединения в раструб, при котором труба вставляется в корпус фитинга. Внутренний диаметр соединительных деталей (уголков 90? и 45?, муфт, переходников, тройников, крестовин и кранов) соответствует наружному диаметру трубы. Линейное температурное расширение нивелируют готовые компенсаторные петли или сварные конструкции самостоятельного исполнения.
Фиксаторы (одиночные и блоки клипс), предназначены для крепежа прямых, горизонтальных или вертикальных участков трубопровода вдоль стен. Шаг установки крепежа (рекомендует производитель) зависит от размера трубы и качественных параметров теплоносителя. Хомуты из аналогичного сырья предназначены для крепления ПП труб большого диаметра. Крепление может быть жестким или плавающим, небольшой зазор обеспечит возможность свободного хода при тепловом расширении.

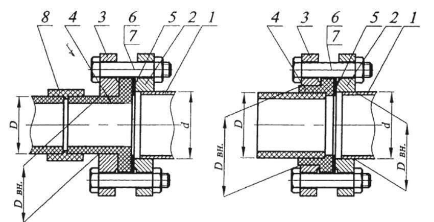
Строение армированной трубы: 1 — полипропилен; 2 — алюминиевая фольга; 3 — полипропилен; S — общая толщина трубы; S1* — толщина основной трубы; d — наружный диаметр; dy* — наружный диаметр основной трубы
Соединение со стальными трубами или арматурой получают при помощи комбинированных соединительных деталей. Разборные фитинги (американки) для перехода с металла на полимер выпускают с внутренней или внешней резьбой из гальванизированного металла с одной стороны, и пропиленовой вставкой с другой.
Комплект фасонных и соединительных деталей подбирается индивидуально для каждого помещения в доме. Количество и марки фитингов зависят от конфигурации системы отопления и вида отопительного оборудования.

Соединение полипропиленовой и стальной трубы: 1 — стальная труба; 2 и 3 — стальной фланец; 4 — буртовая втулка; 5 — прокладка; 6 и 7 — крепежные элементы; 8 — муфта
Полипропиленовые трубы в конвекционных системах
Конвекционные системы из полипропиленовых труб очень популярны. Причина — легкость обработки материала, устойчивость к размерзанию, высокая герметичность, невысокая теплопроводность.
В «безнасосных» системах, выполненных по закрытому типу, при нагреве из воды выделяется много кислорода. Если магистраль выполнена из стальной трубы, она очень быстро покроется слоем ржавчины. Полипропиленовые изделия этого недостатка лишены. Направленный поток, движущийся по полипропиленовым рукавам, не встречает значительного сопротивления. На стенках ПП труб не образуются никакие отложения.
https://youtube.com/watch?v=5ixPbefe9p0
Важные моменты при монтаже полипропиленовых труб

- Полипропиленовые трубы можно разрезать только специальным инструментом – предназначенные для труб ножницы или хорошо заточенный нож. Разрезать строго под углом 90 градусов.
- Работу по монтажу в помещении можно выполнять при температуре выше 5 градусов.
- Перед тем как начать использовать сварочный прибор, нужно его хорошо подогреть до нужной температуры. Края отрезка нужно нагреть в течении 5-20 секунд, и сразу соединить (сварочный аппарат нужно подогревать до 250 градусов). Уточняйте нужную температуру сварки у конкретного произволителя. Нужно обязательно следить за тем, чтобы соединение было достаточно плотным и ровным.
- Соединенные пайкой отрезки нельзя шевелить в течении 3 минут.
- При обрезке труб, нужно обязательно зачищать их края, чтобы убрать неровности (для этого можно взять торцеватель или же швейдер).
Нужно обязательно придерживаться этих правил при организации отопления частного дома из полипропиленовых труб, так как неожиданная поломка может оказаться небезопасно для ваших домочадцев. Особенно в том случае, если ваш котел работает на газу. При хорошем давлении в трубах, может произойти неожиданный разрыв, который может повлечь за собой поломку всей отопительной системы. Очень важны прочные соединения как в местах спаек, так и в других местах, где трубы соединены какими-либо элементами для отопления. Еще одним важным элементом в трубах является термоволокно – это важная вещь, без которой полипропиленовые трубы нельзя устанавливать в систему отопления. Термоволокно в первую очередь влияет на теплопроводность и срок службы всей системы. Поэтому если вы не можете разобраться в материале, то лучше обратиться к специалистам, ведь это будет намного лучше, чем заново тратить деньги на очередной ремонт. Существует несколько видов таких вот вставок:
- Стекловолокно,
- Алюминиевый лист,
- Перфорированная прослойка,
- Всплошную покрытая металлом труба изнутри.
Нужно знать, какие именно вам подойдут, потому что при неудачно выборе трубы просто полопаются
Это основные моменты, при выборе полипропиленовых труб, их важно знать каждому хозяину. Чтобы сделать вручную ремонт, не нужно слишком много времени и умения
Достаточно лишь знать, как использовать правильно материал, и что делать в процессе монтажа. Также существует много источников информации, где можно узнать подробные инструкции по ремонтным работам, поэтому Вы можете без проблем сделать для себя небольшой мастер-класс.
Читайте так же:
Варианты выкладки отопительного трубопровода в доме

Различается два типа укладки – открытый и скрытый. Открытая сеть устанавливается по низу стен, закрытая может быть утоплена в стяжку пола. Выбор способа зависит от требований хозяина, умения мастера. При соблюдении технологии укладки параметры работоспособности сети не снижаются.
Но есть нюансы, которые надо предварительно решить:
- Техника выкладки зависит от материала труб для контура. Например, элементы из стали имеют минимальный показатель теплового расширения. Это свойство позволяет без особого риска утапливать контур в стяжку, муровать в стены. Риск протечки из-за деформации или разрыва минимальный. Контур из металлопластика обладает значительным линейным расширением, поэтому такие трубы лучше не прятать в стенах и полу.
- Качественная изоляция трубопровода снизит теплопотери. Обмотка предупредит риск порыва стенок контура в случае сильного линейного расширения.
Чаще всего мастера выбирают открытый вариант выкладки. Но только в том случае, когда речь не идет о контурах теплого пола.
Скрытая укладка

Трубопровод выкладывается в стенах, полу или поднимается под потолок с обустройством за подвесной или подшивной отделкой. Удобнее всего заниматься работами по скрытой выкладке при капитальном ремонте или на этапе строительства объекта.
Особенности формирования контуров скрытого типа:
- минимальное количество стыков, поворотов, загибов – такие сети меньше подвергаются риску деформации, протечки;
- доступность зон соединений для проверки, профилактического обслуживания;
- старые трубы отопления в стяжку пола прятать нельзя.
Чтобы не забыть все детали обустройства, рекомендуется составлять подробный технический план системы отопления. Такая схема поможет быстро отыскать узел отключения магистрали, если трубы отопления в стяжке пола дали течь.
Открытая выкладка
Прокладка труб отопления открытым способом – самый простой и доступный вариант для домашнего мастера. Тут не имеет значения сложность схемы или количество поворотов – при правильном подборе сечения работоспособность не снижается.
К дополнительным преимуществам открытой сети относят:
- Невысокую стоимость работ. Благодаря отсутствию дополнительных гильз и прочих элементов затраты не будут такими внушительными.
- Возможность быстрого подновления, ремонта. Все детали остаются на виду, реставрация не отнимет много времени.























































